GM Service Manual Online
For 1990-2009 cars only

Radiator Outlet Hose Replacement L18

Removal Procedure

Important: Most truck models use spring-type clamps at the hose connections. When using this type of clamp, install the hoses on a dry, non-painted surface in order to ensure proper sealing. Reusing the spring-type clamps on aftermarket hoses is not recommended.


    Object Number: 742053  Size: SH
  1. Drain the cooling system. Refer to Cooling System Draining and Filling .
  2. Loosen the outlet hose clamp (4) at the water pump.
  3. Remove the outlet hose (3) from the water pump.
  4. Raise and suitably support the vehicle with safety stands. Refer to Lifting and Jacking the Vehicle in General Information.

  5. Object Number: 742058  Size: SH
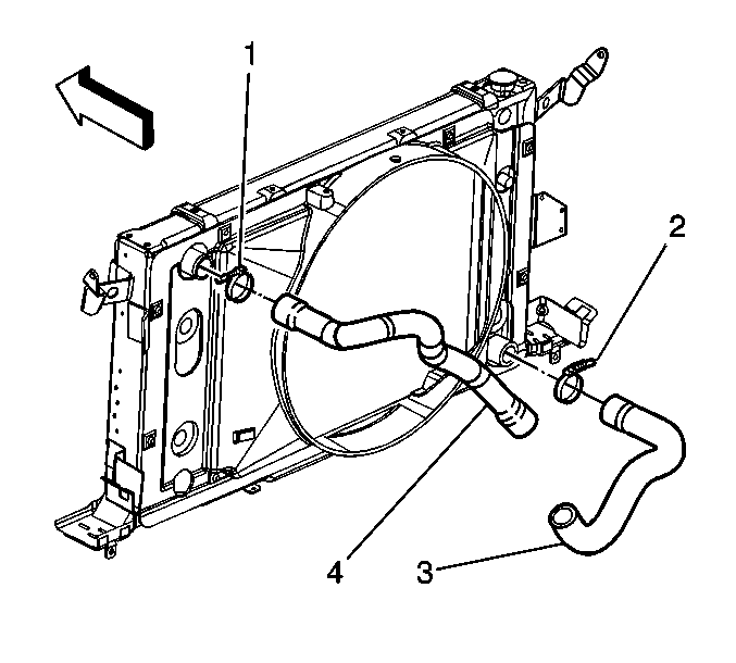
  6. Loosen the outlet hose clamp (2) at the radiator.
  7. Remove the outlet hose (3) from the radiator.

Installation Procedure


    Object Number: 742058  Size: SH
  1. Install the outlet hose (3) to the radiator.
  2. Notice: Use the correct fastener in the correct location. Replacement fasteners must be the correct part number for that application. Fasteners requiring replacement or fasteners requiring the use of thread locking compound or sealant are identified in the service procedure. Do not use paints, lubricants, or corrosion inhibitors on fasteners or fastener joint surfaces unless specified. These coatings affect fastener torque and joint clamping force and may damage the fastener. Use the correct tightening sequence and specifications when installing fasteners in order to avoid damage to parts and systems.

  3. Tighten the outlet hose clamp (2) at the radiator.
  4. Tighten
    Tighten the outlet hose clamp to 5 N·m (44 lb in).

  5. Lower the vehicle.

  6. Object Number: 742053  Size: SH
  7. Install the outlet hose (3) to the water pump.
  8. Tighten the outlet hose clamp (4) at the water pump.
  9. Tighten
    Tighten the outlet hose clamp to 5 N·m (44 lb in).

  10. Fill the cooling system. Refer to Cooling System Draining and Filling .

Radiator Outlet Hose Replacement LG5

Removal Procedure


    Object Number: 198949  Size: SH
  1. Remove the front intake air duct (1) from the air filter housing.
  2. Remove the front wheelhouse panel. Refer to Wheelhouse Panel Replacement in Body Front End.
  3. Drain the coolant. Refer to Cooling System Draining and Filling .
  4. Remove the surge tank hose clamp (3).

  5. Object Number: 199081  Size: SH
  6. Remove the radiator outlet hose (4) and the clamp (5) from the radiator (1).
  7. Remove the radiator outlet hose (4) and the clamp from the water pump.

Installation Procedure


    Object Number: 199081  Size: SH
  1. Install the radiator outlet hose (4) and the clamp to the water pump.
  2. Notice: Use the correct fastener in the correct location. Replacement fasteners must be the correct part number for that application. Fasteners requiring replacement or fasteners requiring the use of thread locking compound or sealant are identified in the service procedure. Do not use paints, lubricants, or corrosion inhibitors on fasteners or fastener joint surfaces unless specified. These coatings affect fastener torque and joint clamping force and may damage the fastener. Use the correct tightening sequence and specifications when installing fasteners in order to avoid damage to parts and systems.

  3. Install the surge tank hose clamp (3).
  4. Tighten
    Tighten the clamps to 5 N·m (44 lb in).

  5. Install the radiator outlet hose (4) and the clamp (5) to the radiator (1).
  6. Tighten
    Tighten the clamps to 5 N·m (44 lb in).


    Object Number: 198949  Size: SH
  7. Install the front air intake duct (1) to the air filter housing.
  8. Install the front wheelhouse panel. Refer to Wheelhouse Panel Replacement in Body Front End.
  9. Fill the cooling system. Refer to Cooling System Draining and Filling .
  10. Inspect the system for leaks.