GM Service Manual Online
For 1990-2009 cars only

Removal Procedure

  1. Remove the front wheelhouse panel. Refer to Wheelhouse Panel Replacement in Body Front End.

  2. Object Number: 198949  Size: SH
  3. Remove the front intake air duct (1) from the air filter housing.
  4. Drain the coolant. Refer to Cooling System Draining and Filling .

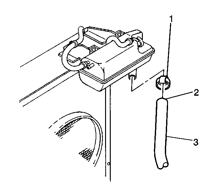
  5. Object Number: 586224  Size: SH
  6. Reposition the radiator surge tank outlet hose clamp(1).
  7. Remove the radiator surge tank outlet hose (2).
  8. Remove the surge tank outlet pipe.
  9. Inspect the following components for cracks or leaks:
  10. • The radiator
    • The surge tank
    • The pipes
    • The hoses

Installation Procedure


    Object Number: 586224  Size: SH

    Notice: Use the correct fastener in the correct location. Replacement fasteners must be the correct part number for that application. Fasteners requiring replacement or fasteners requiring the use of thread locking compound or sealant are identified in the service procedure. Do not use paints, lubricants, or corrosion inhibitors on fasteners or fastener joint surfaces unless specified. These coatings affect fastener torque and joint clamping force and may damage the fastener. Use the correct tightening sequence and specifications when installing fasteners in order to avoid damage to parts and systems.

  1. Install the surge tank outlet pipe.
  2. Tighten
    Tighten the flare nut on the 7.2L engine only to 35 N·m (26 lb ft).

  3. Install the radiator surge tank outlet hose (2).
  4. Reposition the radiator surge tank outlet hose clamp (1).

    Tighten
    Tighten the radiator surge tank hose clamp to 3 N·m (27 lb in).


    Object Number: 198949  Size: SH
  5. Install the front intake air duct (1) to the air filter housing.
  6. Install the front wheelhouse panel. Refer to Wheelhouse Panel Replacement in Body Front End.
  7. Fill the cooling system. Refer to Cooling System Draining and Filling .