GM Service Manual Online
For 1990-2009 cars only

Tools Required

J 36857 Engine Lift Bracket

Removal Procedure


    Object Number: 742265  Size: SH
  1. Remove the hood. Refer to Hood Replacement in Body Front End.
  2. Place fender covers over both fenders.
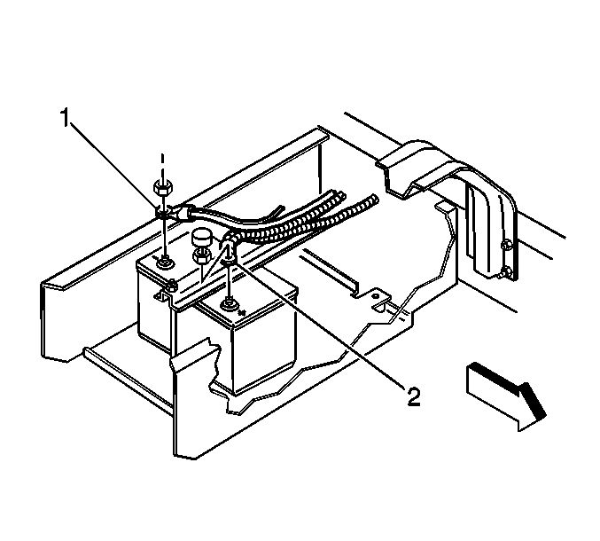
  3. Disconnect the negative battery cable (1). Refer to Battery Negative Cable Disconnection and Connection in Engine Electrical.
  4. Disconnect the positive battery cable (2).
  5. Remove the air cleaner assembly. Refer to Air Cleaner Assembly Replacement in Engine Controls - 8.1L.
  6. Remove the radiator. Refer to Radiator Replacement in Engine Cooling.
  7. Remove the ignition coils. Refer to Ignition Coil Replacement in Engine Controls - 8.1L.

  8. Object Number: 728519  Size: SH
  9. Relieve the fuel system pressure. Refer to Fuel Pressure Relief in Engine Controls - 8.1L.
  10. Disconnect the fuel feed (2) and fuel return (4) pipes. Refer to Plastic Collar Quick Connect Fitting Service in Engine Controls - 8.1L.

  11. Object Number: 742260  Size: SH
  12. Disconnect the throttle stepper motor electrical connector (1).
  13. Disconnect the vacuum lines from the engine, as required.
  14. Remove the exhaust gas recirculation (EGR) valve. Refer to Exhaust Gas Recirculation Valve Replacement in Engine Controls - 8.1L.
  15. Remove the generator bracket. Refer to Generator Bracket Replacement in Engine Electrical.
  16. Remove the engine electrical harness and tie out of the way.
  17. Raise and suitably support the vehicle with safety stands. Refer to Lifting and Jacking the Vehicle in General Information.
  18. Remove the hoses from the power steering pump. Refer to Power Steering Cooler Pipe/Hose Replacement in Power Steering System.

  19. Object Number: 742246  Size: SH
  20. Remove the ground wire bolt at the engine block.
  21. Remove the starter motor. Refer to Starter Motor Replacement in Engine Electrical.
  22. Remove the catalytic converter. Refer to Catalytic Converter Replacement in Engine Exhaust.

  23. Object Number: 32688  Size: SH
  24. Remove the flywheel inspection cover from the transmission, if equipped.
  25. Remove the bolts from the torque convertor to the flywheel if equipped, (or flywheel to clutch assembly). Refer to the appropriate procedures:
  26. •  Engine Flywheel Replacement .
    •  Clutch Assembly Replacement in Clutch

    Object Number: 32774  Size: SH
  27. Remove the bolts from the transmission to the engine block:
  28. • For the automatic transmission, refer to Transmission Replacement in Automatic Transmission - Allison.
    • For the manual transmission, refer to Transmission Replacement in Manual Transmission - Medium Duty.
  29. Remove the engine oil cooler lines from the engine block. Refer to Engine Oil Cooler Hose/Pipe Replacement in Engine Cooling.
  30. Lower the vehicle.

  31. Object Number: 66457  Size: SH
  32. Attach J 36857 to the rear of the right cylinder head and to front of the left cylinder head.
  33. Notice: Use the correct fastener in the correct location. Replacement fasteners must be the correct part number for that application. Fasteners requiring replacement or fasteners requiring the use of thread locking compound or sealant are identified in the service procedure. Do not use paints, lubricants, or corrosion inhibitors on fasteners or fastener joint surfaces unless specified. These coatings affect fastener torque and joint clamping force and may damage the fastener. Use the correct tightening sequence and specifications when installing fasteners in order to avoid damage to parts and systems.

  34. Install the attaching bolt and washer. Use GM P/N 9428217 with GM P/N 15650963.
  35. Tighten
    Tighten the lift bracket bolts to 40 N·m (30 lb ft).


    Object Number: 741993  Size: SH
  36. Remove the engine front mount bracket-to-crossmember bolts and nuts.

  37. Object Number: 742000  Size: SH
  38. Remove the engine rear mount bolt.
  39. Remove the engine with a suitable lifting devise.
  40. Remove the lift brackets from the cylinder head.

Installation Procedure


    Object Number: 66457  Size: SH

    Notice: Use the correct fastener in the correct location. Replacement fasteners must be the correct part number for that application. Fasteners requiring replacement or fasteners requiring the use of thread locking compound or sealant are identified in the service procedure. Do not use paints, lubricants, or corrosion inhibitors on fasteners or fastener joint surfaces unless specified. These coatings affect fastener torque and joint clamping force and may damage the fastener. Use the correct tightening sequence and specifications when installing fasteners in order to avoid damage to parts and systems.

  1. Attach J 36857 to the rear of the right cylinder head and to the front of the left cylinder head.
  2. Install the attaching bolt and washer. Use GM P/N 9428217 with GM P/N 15650963.

    Tighten
    Tighten the lift bracket bolts to 40 N·m (30 lb ft).


    Object Number: 66458  Size: SH
  3. AttachJ 36857 to the left front cylinder head.
  4. Install the attaching bolt and washer. Use GM P/N 9428217 with GM P/N 15650963.

    Tighten
    Tighten the lift bracket bolts to 40 N·m (30 lb ft).

  5. Install the engine into the vehicle.

  6. Object Number: 741993  Size: SH
  7. Install the engine front mount-to-crossmember bolts and nuts until snug.

  8. Object Number: 742000  Size: SH
  9. Install the engine rear mount bolt until snug.
  10. Remove the J 36857 from the cylinder heads.
  11. Tighten

        • Tighten the engine front mount-to-crossmember bolts to 135 N·m (100 lb ft).
        • Tighten the engine rear mount bolts to 50 N·m (37 lb ft).
  12. Raise the vehicle.
  13. Install the oil cooler lines to the engine block. Refer to Engine Oil Cooler Hose/Pipe Replacement in Engine Cooling.

  14. Object Number: 32774  Size: SH
  15. Install the bolts from the transmission to the engine block.
  16. • For the automatic transmission, refer to Transmission Replacement in Automatic Transmission - Allison.
    • For the manual transmission, refer to Transmission Replacement in Manual Transmission - Medium Duty.
  17. Install the catalytic converter. Refer to Catalytic Converter Replacement in Engine Exhaust.
  18. Install the starter motor. Refer to Starter Motor Replacement in Engine Electrical.

  19. Object Number: 742246  Size: SH
  20. Install the ground wire bolt at the engine block.
  21. Tighten
    Tighten the bolt to 50 N·m (37 lb ft).

  22. Install the hoses to the power steering pump. Refer to Power Steering Cooler Pipe/Hose Replacement in Power Steering System.
  23. Lower the vehicle.
  24. Position the engine electrical harness.
  25. Install the generator bracket. Refer to Generator Bracket Replacement in Engine Electrical.
  26. Install the EGR valve. Refer to Exhaust Gas Recirculation Valve Replacement in Engine Controls - 8.1L.
  27. Connect the vacuum lines to the engine, as required.

  28. Object Number: 742260  Size: SH
  29. Connect the stepper motor electrical connector (1).

  30. Object Number: 728519  Size: SH
  31. Connect the fuel feed (2) ad fuel return (4) pipes.
  32. Install the ignition coils. Refer to Ignition Coil Replacement in Engine Controls - 8.1L.
  33. Install the radiator. Refer to Radiator Replacement in Engine Cooling.
  34. Install the air cleaner assembly. Refer to Air Cleaner Assembly Replacement in Engine Controls - 8.1L.

  35. Object Number: 742265  Size: SH
  36. Connect the positive battery cable (2).
  37. Connect the negative battery cable to the battery. Refer to Battery Negative Cable Disconnection and Connection in Engine Electrical.
  38. Remove the fender covers.
  39. Install the hood. Refer to Hood Replacement in Body Front End.
  40. Before starting a new engine or one that has been repaired, complete the following procedure:
  41. • Fill the engine with the proper quantity and grade of oil.
    • Add engine oil supplement GM U.S. P/N 1052367, Canada P/N 992869, or equivalent to the engine oil.
    • Remove the fuel pump fuse and disconnect the coil harness connectors, then crank the engine until oil pressure is present.
    • Crank the engine several times. Listen for any unusual noises or evidence that any of the parts are binding.
    • Install the fuel pump fuse and connect the coil harness connectors and start the engine and listen for unusual noises.
    • Check the vehicle oil pressure gauge or light and confirm that the engine has acceptable oil pressure. If necessary install an oil pressure gauge and measure the oil pressure.
    • Run the engine at about 1000 RPM's until the engine has reached normal operating temperature.
    • Inspect for oil and or coolant leaks while the engine is running.
    • Install the fuel lines to the fuel rail. Refer to Fuel Hose/Pipes Replacement - Filter to Engine .
    • Stop engine and perform a final inspection for the proper engine oil and coolant levels.
    • The final step is to perform the crankshaft position (CKP) sensor system variation learn procedure. Refer to Crankshaft Position System Variation Learn in Engine Controls - 8.1L.