GM Service Manual Online
For 1990-2009 cars only

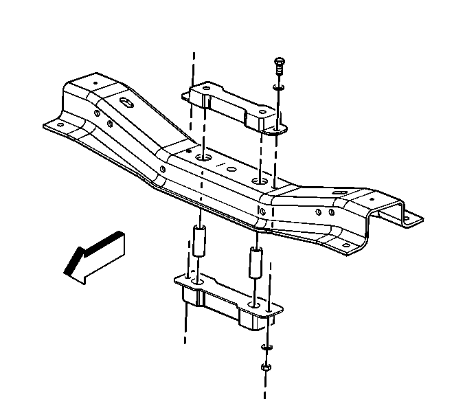
Removal Procedure


    Object Number: 741998  Size: SH
  1. Remove the engine mount bracket. Refer to Engine Front Mount Bracket Replacement .
  2. Remove the engine mount bolts, nuts, and washers.
  3. Remove the engine mounts and spacers.

Installation Procedure


    Object Number: 741998  Size: SH
  1. Install the engine mounts and spacers.
  2. Notice: Use the correct fastener in the correct location. Replacement fasteners must be the correct part number for that application. Fasteners requiring replacement or fasteners requiring the use of thread locking compound or sealant are identified in the service procedure. Do not use paints, lubricants, or corrosion inhibitors on fasteners or fastener joint surfaces unless specified. These coatings affect fastener torque and joint clamping force and may damage the fastener. Use the correct tightening sequence and specifications when installing fasteners in order to avoid damage to parts and systems.

  3. Install the bolts, nuts, and washers.
  4. Tighten
    Tighten the engine mount bolts to 45 N·m (33 lb ft).

  5. Install the engine mount bracket. Refer to Engine Front Mount Bracket Replacement .