GM Service Manual Online
For 1990-2009 cars only

Removal Procedure

  1. Remove the left fuel tank. Refer to Fuel Tank Replacement - Left Side .
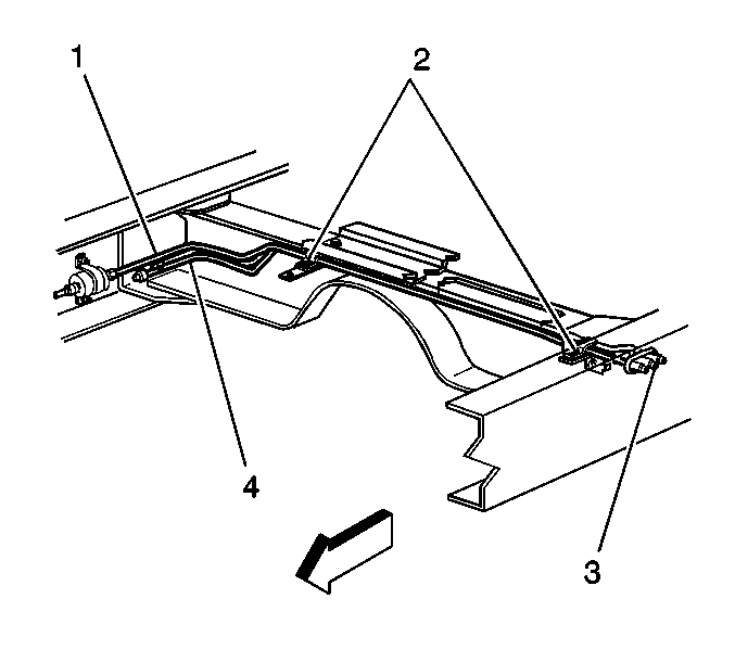
  2. If replacing the fuel feed pipe, disconnect the intermediate fuel feed pipe (1) from the fuel filter.
  3. If replacing the fuel return pipe, disconnect the intermediate fuel return pipe from the chassis fuel return pipe.

  4. Object Number: 728413  Size: SH
  5. Remove the two bolts (2) retaining the left tank fuel pipe bundle to the crossmember.
  6. Remove the fuel pipe from the fuel bundle from the intermediate fuel bundle.

Installation Procedure


    Object Number: 728413  Size: SH
  1. Position the fuel pipe in the intermediate fuel bundle retaining clips on the crossmember.
  2. Notice: Use the correct fastener in the correct location. Replacement fasteners must be the correct part number for that application. Fasteners requiring replacement or fasteners requiring the use of thread locking compound or sealant are identified in the service procedure. Do not use paints, lubricants, or corrosion inhibitors on fasteners or fastener joint surfaces unless specified. These coatings affect fastener torque and joint clamping force and may damage the fastener. Use the correct tightening sequence and specifications when installing fasteners in order to avoid damage to parts and systems.

  3. Install the two bolts (2) retaining the left tank fuel pipe bundle.
  4. Tighten
    Tighten the two bolts to 22.5 N·m (17 lb ft).

  5. If replacing the fuel return pipe, connect the intermediate fuel return pipe to the chassis fuel return pipe.
  6. If replacing the fuel feed pipe, connect the intermediate fuel feed pipe (1) to the fuel filter.
  7. Install the left fuel tank. Refer to Fuel Tank Replacement - Left Side .