GM Service Manual Online
For 1990-2009 cars only

Removal Procedure

  1. Relieve the fuel system pressure. Refer to Fuel Pressure Relief .
  2. Raise the vehicle. Refer to Lifting and Jacking the Vehicle in General Information.

  3. Object Number: 747226  Size: SH
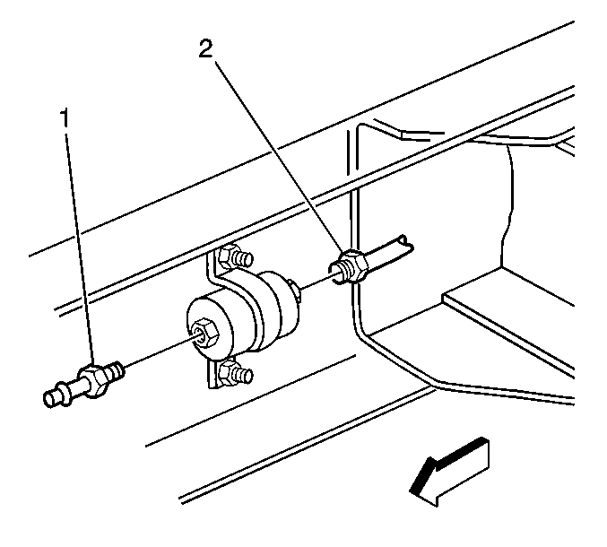
  4. Remove the fuel feed and return pipes (1, 2) at the filter.

  5. Object Number: 747225  Size: SH
  6. Remove the fuel filter clamp (4) from the filter (3).
  7. Important: If the fuel filter is plugged, inspect the fuel tank internally and clean if necessary. Refer to Fuel System Cleaning .

  8. Inspect the fuel filter.

Installation Procedure

  1. Remove the protective caps from the new filter.

  2. Object Number: 747225  Size: SH
  3. Install the fuel filter clamp (4) on to the fuel filter (3).
  4. Install the fuel filter retaining bolts (1) with flat washers (2) through the frame rail and fuel filter clamp (4).
  5. Notice: Use the correct fastener in the correct location. Replacement fasteners must be the correct part number for that application. Fasteners requiring replacement or fasteners requiring the use of thread locking compound or sealant are identified in the service procedure. Do not use paints, lubricants, or corrosion inhibitors on fasteners or fastener joint surfaces unless specified. These coatings affect fastener torque and joint clamping force and may damage the fastener. Use the correct tightening sequence and specifications when installing fasteners in order to avoid damage to parts and systems.

  6. Install the flat washers (5) and nuts (6) while aligning the fuel filter.
  7. Tighten
    Tighten the retaining nuts to 22.5 N·m (17 lb ft).


    Object Number: 747226  Size: SH
  8. Install the fuel feed and return pipes (1, 2) to the fuel filter.
  9. Tighten
    Tighten the fuel pipe nuts to 27 N·m (20 lb ft).

  10. Lower the vehicle. Refer to Lifting and Jacking the Vehicle in General Information.
  11. Connect the negative battery cable. Refer to Battery Negative Cable Disconnection and Connection in Engine Electrical.
  12. Inspect for fuel leaks using the following procedure:
  13. 8.1. Turn ON the ignition, with the engine OFF for 2 seconds.
    8.2. Turn OFF the ignition for 10 seconds.
    8.3. Turn ON the ignition, with the engine OFF.
    8.4. Inspect for fuel leaks.