GM Service Manual Online
For 1990-2009 cars only

Removal Procedure

  1. Relieve the fuel system pressure. Refer to Fuel Pressure Relief .
  2. Drain the fuel from the tank. Refer to Fuel Tank Draining .
  3. Remove the fuel sender assembly harness connector.

  4. Object Number: 728420  Size: SH
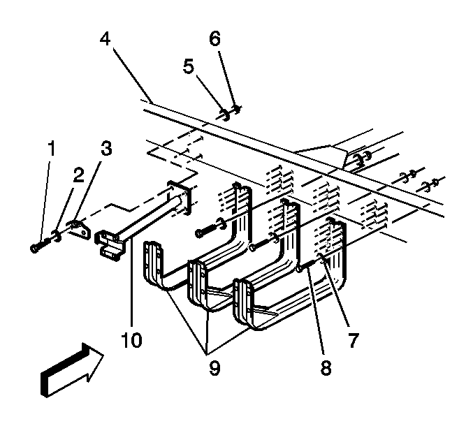
  5. Disconnect the fuel return pipe from the intermediate pipe at the chassis fuel opening (4). Refer to Plastic Collar Quick Connect Fitting Service .
  6. Disconnect the fuel return pipe at the in-line connector on the fuel tank. Refer to Plastic Collar Quick Connect Fitting Service .
  7. Raise and secure the vent hose assembly.
  8. Disconnect the evaporative emission (EVAP) vapor pipe from the intermediate pipes at the chassis fuel opening (4).

  9. Object Number: 318435  Size: SH
  10. Remove the fuel tank strap nuts (2) and washers (1).
  11. Raise and secure the straps.

  12. Object Number: 762283  Size: SH
  13. Remove the rear brace (9) from the frame (3) and the fuel tank shield.
  14. Slide the tank rearward on to a suitable lifting device.
  15. Remove the tank.

Disassemble Procedure


    Object Number: 728420  Size: SH
  1. Disconnect the fuel pipes from the fuel sender assembly (5) and remove the fuel pipes. Refer to Plastic Collar Quick Connect Fitting Service .
  2. Remove the EVAP pipes. Refer to Evaporative Emission Hoses/Pipes Replacement - Canister/Fuel Tank .
  3. Remove the fuel sender assembly. Refer to Fuel Sender Assembly Replacement .
  4. Remove the pressure relief valve (3) from the fuel tank.

Assembly Procedure


    Object Number: 728420  Size: SH
  1. Install the pressure relief valve (2) to the fuel tank.
  2. Install the fuel sender assembly. Refer to Fuel Sender Assembly Replacement .
  3. Install the EVAP pipes. Refer to Evaporative Emission Hoses/Pipes Replacement - Canister/Fuel Tank .
  4. Connect the fuel pipes to the fuel sender assembly. Refer to Plastic Collar Quick Connect Fitting Service .

Installation Procedure


    Object Number: 762283  Size: SH
  1. Use a suitable lifting device in order to install the fuel tank into the supported brackets.
  2. Notice: Use the correct fastener in the correct location. Replacement fasteners must be the correct part number for that application. Fasteners requiring replacement or fasteners requiring the use of thread locking compound or sealant are identified in the service procedure. Do not use paints, lubricants, or corrosion inhibitors on fasteners or fastener joint surfaces unless specified. These coatings affect fastener torque and joint clamping force and may damage the fastener. Use the correct tightening sequence and specifications when installing fasteners in order to avoid damage to parts and systems.

  3. Install the rear brace (9) and attaching hardware to the frame (3) and the fuel tank shield.
  4. Tighten
    Tighten the nuts (2) to 77.5 N·m (57 lb ft).


    Object Number: 318435  Size: SH
  5. Install the fuel tank straps.
  6. Tighten
    Tighten the nuts (2) to 19 N·m (14 lb ft).


    Object Number: 728420  Size: SH
  7. Connect the EVAP vapor pipe to the intermediate pipes at the chassis fuel opening (4).
  8. Connect the fuel feed pipe to the intermediate pipes at the chassis fuel opening (4). Refer to Plastic Collar Quick Connect Fitting Service .
  9. Connect the fuel return pipe at the in-line connector on the fuel tank. Refer to Plastic Collar Quick Connect Fitting Service .
  10. Connect the fuel sender assembly harness connector.
  11. Add fuel and install the fuel fill cap.
  12. Connect the negative battery cable. Refer to Battery Negative Cable Disconnection and Connection in Engine Electrical.
  13. Inspect for fuel leaks using the following procedure:
  14. 10.1. Turn ON the ignition for 2 seconds.
    10.2. Turn OFF the ignition for 10 seconds.
    10.3. Turn ON the ignition, with the engine OFF.
    10.4. Inspect for fuel leaks.