GM Service Manual Online
For 1990-2009 cars only

Evaporative Emission Canister Replacement w/RPO NH9, NL9, or NYB

Removal Procedure

    Important: Vehicles equipped with RPO NL9 will NOT have a rear EVAP canister.

  1. Raise the vehicle. Refer to Lifting and Jacking the Vehicle in General Information.

  2. Object Number: 724698  Size: SH
  3. Disconnect the EVAP purge pipe (1) and EVAP vapor pipe (2) from the front EVAP canister (4).

  4. Object Number: 724703  Size: SH
  5. Disconnect the EVAP vent pipe connector (1) from the front EVAP canister (5).

  6. Object Number: 724692  Size: SH
  7. Remove the bolts (2) from the EVAP canister brackets (1 and 3).

  8. Object Number: 724688  Size: SH
  9. Remove the EVAP canister brackets (2, 5) and front EVAP canister (1).

Installation Procedure


    Object Number: 724688  Size: SH
  1. Position the EVAP canister brackets (2, 5) and front EVAP canister (1) on the EVAP canister support.

  2. Object Number: 724692  Size: SH

    Notice: Use the correct fastener in the correct location. Replacement fasteners must be the correct part number for that application. Fasteners requiring replacement or fasteners requiring the use of thread locking compound or sealant are identified in the service procedure. Do not use paints, lubricants, or corrosion inhibitors on fasteners or fastener joint surfaces unless specified. These coatings affect fastener torque and joint clamping force and may damage the fastener. Use the correct tightening sequence and specifications when installing fasteners in order to avoid damage to parts and systems.

  3. Install the bolts (2) to the EVAP canister brackets (1, 3).
  4. Tighten
    Tighten the EVAP canister retaining bolts to 22.5 N·m (17 lb ft).


    Object Number: 724703  Size: SH
  5. Connect the EVAP vent pipe connector (1) to the front EVAP canister (5).

  6. Object Number: 724698  Size: SH
  7. Connect the EVAP purge pipe (1) and EVAP vapor pipe (2) to the front EVAP canister (4).
  8. Lower the vehicle.

Evaporative Emission Canister Replacement wo/RPO NL9

Removal Procedure

  1. Raise the vehicle. Refer to Lifting and Jacking the Vehicle in General Information.

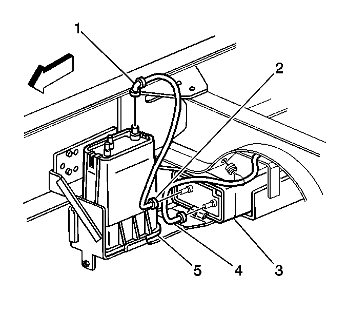
  2. Object Number: 724703  Size: SH
  3. Disconnect the EVAP vent pipes (2, 4) from the rear EVAP canister (3).

  4. Object Number: 724688  Size: SH
  5. Remove the EVAP canister retaining bolt (4) and hold down.
  6. Remove the EVAP canister (3) from the EVAP canister support bracket.

Installation Procedure


    Object Number: 724688  Size: SH
  1. Slide the EVAP canister (3) into the tang on the EVAP canister support bracket.
  2. Notice: Use the correct fastener in the correct location. Replacement fasteners must be the correct part number for that application. Fasteners requiring replacement or fasteners requiring the use of thread locking compound or sealant are identified in the service procedure. Do not use paints, lubricants, or corrosion inhibitors on fasteners or fastener joint surfaces unless specified. These coatings affect fastener torque and joint clamping force and may damage the fastener. Use the correct tightening sequence and specifications when installing fasteners in order to avoid damage to parts and systems.

  3. Install the EVAP canister hold down and retaining bolt (4).
  4. Tighten
    Tighten the EVAP canister retaining bolts to 22.5 N·m (17 lb ft).


    Object Number: 724703  Size: SH
  5. Connect the EVAP vent pipes (2 and 4) to the rear EVAP canister (3).
  6. Lower the vehicle.