GM Service Manual Online
For 1990-2009 cars only
Makes
🢒
Chevrolet
🢒
2002
🢒
Chevrolet C-Series Medium Duty Truck B7
🢒
Brakes
🢒
Air Brakes
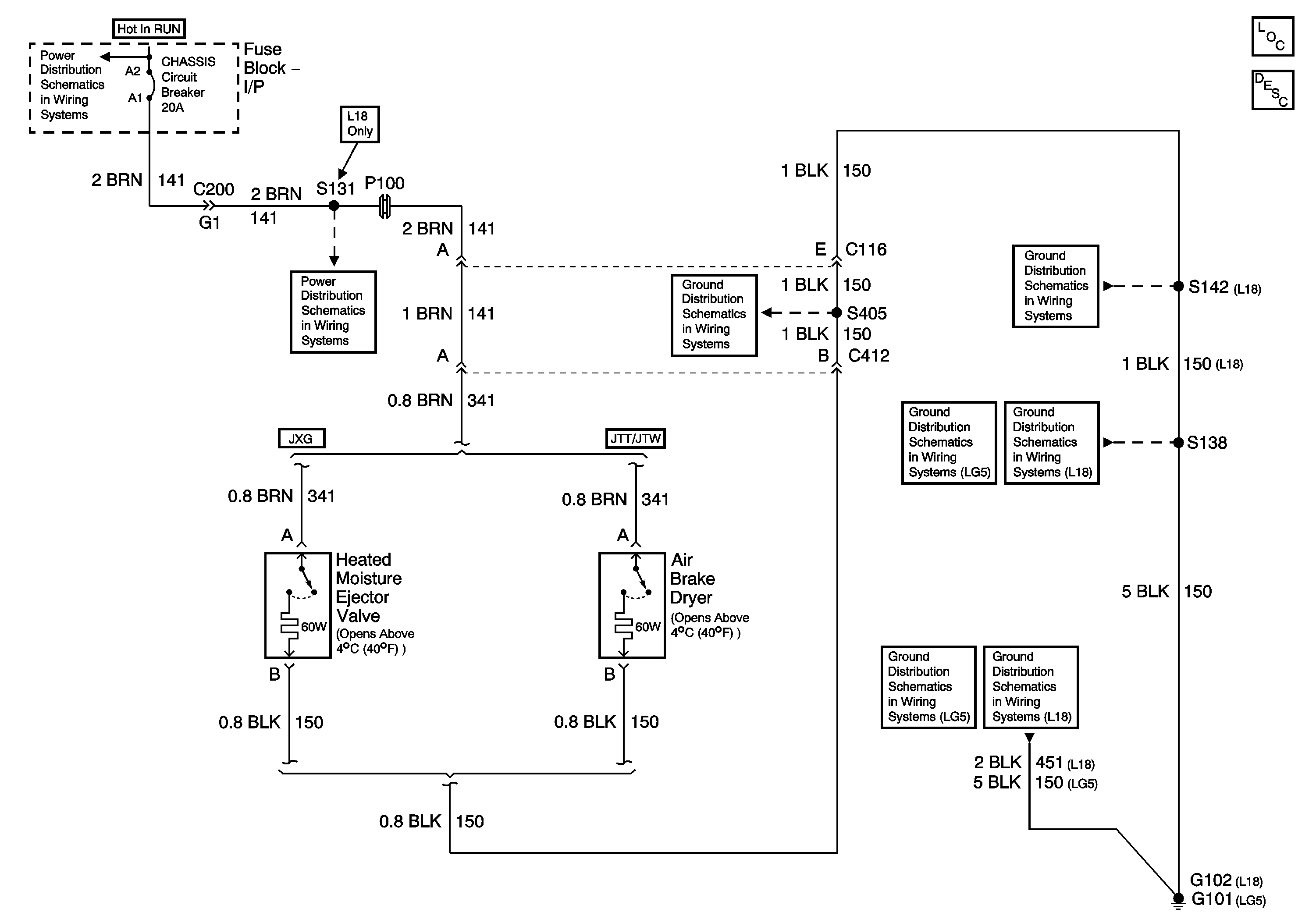
🢒 Air Brake System Schematics
Air Brake Dryer and Heated Moisture Ejector Valve
Power Distribution Schematics - AUX 1, AUX 2, B/U and Chassis Circuit Breakers
Power Distribution Schematics - AUX 1, AUX 2, B/U and Chassis Circuit Breakers
Ground Distribution Schematics - S142, S178, S179, S405 and S409 L18
Master Electrical Component List
Brake Warning System Description and Operation
Ground Distribution Schematics - S142, S178, S179, S405 and S409 L18
Ground Distribution Schematics - S142, S178, S179, S405 and S409 L18
Ground Distribution Schematics - G101, S138, S405 and S409 L18
Ground Distribution Schematics - G102, and S138 L18
Ground Distribution Schematics - G101, S138, S405 and S409 L18
Ground Distribution Schematics - G102, and S138 L18