GM Service Manual Online
For 1990-2009 cars only
Makes
🢒
Chevrolet
🢒
2002
🢒
Chevrolet C-Series Medium Duty Truck B7
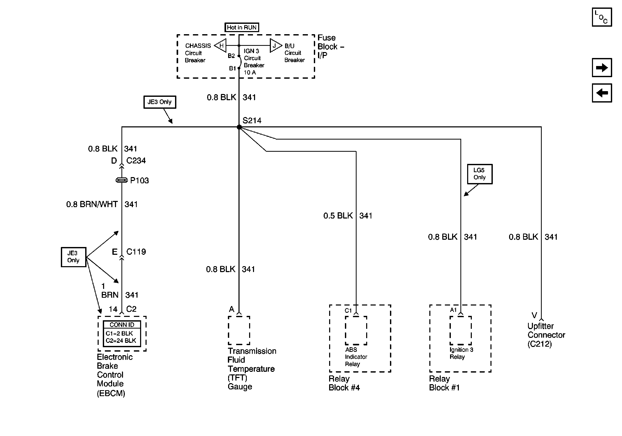
🢒 Power Distribution Schematics - IGN 3 Circuit Breaker
Power Distribution Schematics - IGN 3 Circuit Breaker
IGN 3 Circuit Breaker
Power Distribution Schematics - AUX 1, AUX 2, B/U and Chassis Circuit Breakers
Power Distribution Schematics - AUX 1, AUX 2, B/U and Chassis Circuit Breakers
Master Electrical Component List
Power Distribution Schematics - AUX 1, AUX 2, B/U and Chassis Circuit Breakers
Power Distribution Schematics - IGN 1 Circuit Breaker, S232, S243