GM Service Manual Online
For 1990-2009 cars only

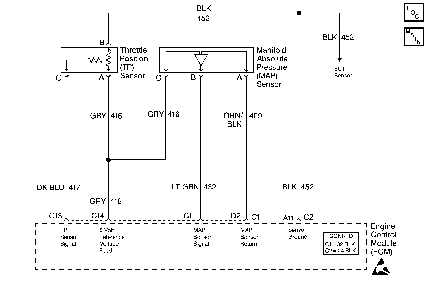
Object Number: 339450  Size: MF
Engine Controls Components
Cell 20: Sensors
Handling ESD Sensitive Parts Notice

Circuit Description

The Throttle Position (TP) sensor provides a voltage signal that changes relative to the throttle blade. Signal voltage will vary from about 0.5 volt at idle to about 5.0 volts at wide open throttle.

The TP sensor signal is one of the most important inputs used by the ECM for fuel control and for most of the ECM control outputs.

Conditions for Setting the DTC

    • Engine running
    • TP sensor signal voltage less than about 0.2 volt for 3 seconds

Action Taken When the DTC Sets

The Malfunction Indicator Lamp (MIL) will illuminate. The system will go Open Loop.

Conditions for Clearing the MIL/DTC

The conditions for the fault are no longer present and 50 ignition cycles have passed with no further faults or the ignition switch is turned OFF and the battery feed voltage is removed for 10 seconds.

Diagnostic Aids

A scan tool reads the throttle position in volts. The scan tool should read about 0.45 to 1.25 volts with throttle closed and the ignition ON or at idle. The voltage should increase at a steady rate as the throttle is moved toward WOT.

An open or a short to ground in 5 volt reference TP signal circuit or 417 will result in a DTC 22.

Refer to Intermittent Conditions .

Scan TP sensor while depressing the accelerator pedal with engine stopped and the ignition ON. Display should vary from below 0.95 volt when throttle was closed, to over 4.5 volts when throttle is held at wide open throttle position.

Test Description

The numbers below refer to the step numbers on the Diagnostic Table.

  1. This step checks to see if DTC was set as result of a hard failure or intermittent condition.

  2. This test simulates DTC 21 (high voltage). If the ECM recognizes the high signal voltage the ECM and wiring are OK.

  3. This test simulates a high signal voltage to check for an open in the TP signal circuit.

DTC 22 Throttle Position (TP) Sensor Circuit Low

Step

Action

Value(s)

Yes

No

1

Did you perform the On-Board Diagnostic (OBD) System Check?

--

Go to Step 2

Go to Powertrain On Board Diagnostic (OBD) System Check

2

  1. Install a scan tool.
  2. Turn the ignition ON.
  3. Make sure the throttle is closed.

Does the scan tool display the throttle position (TP) sensor voltage at or less than the specified value?

0.2 V (200 mV)

Go to Step 3

Go to Diagnostic Aids

3

  1. Disconnect the TP sensor.
  2. Jumper the throttle position sensor reference the signal circuit and TP sensor signal circuit together.

Does the scan tool display the throttle position sensor voltage greater than the specified value?

4.0 V (4,000 mV)

Go to Step 9

Go to Step 4

4

Probe the TP sensor signal circuit with a J 35616-200 unpowered test lamp connected to B+.

Does the scan tool display the throttle position sensor voltage greater than the specified value?

4.0 V (4,000 mV)

Go to Step 5

Go to Step 11

5

  1. Check for an open on the 5 volt reference signal circuit.
  2. If you find a problem, repair as necessary. Refer to Wiring Repairs in Wiring Systems.

Did you find a problem?

--

Go to Step 15

Go to Step 6

6

  1. Check the 5 volt reference signal circuit for a short to ground.
  2. If you find a problem, repair as necessary. Refer to Wiring Repairs in Wiring Systems.

Did you find a problem?

--

Go to Step 15

Go to Step 7

7

  1. Check the 5 volt reference signal circuit for a faulty connection.
  2. If you find a problem, repair as necessary. Refer to Wiring Repairs in Wiring Systems.

Did you find aa problem found?

--

Go to Step 15

Go to Step 8

8

Replace the ECM. Refer to Engine Control Module Replacement .

Is the action complete?

--

Go to Step 15

--

9

  1. Check for a poor connection at the TP sensor connector.
  2. If you find a problem, repair as necessary. Refer to Wiring Repairs in Wiring Systems.

Did you find a problem?

--

Go to Step 15

Go to Step 10

10

Replace the TP sensor. Refer to Throttle Position Sensor Replacement .

Is the action complete?

--

Go to Step 15

--

11

  1. Check for an open TP sensor signal circuit.
  2. If a problem is found, repair as necessary. Refer to Wiring Repairs in Wiring Systems.

Was a problem found?

--

Go to Step 15

Go to Step 12

12

  1. Check for a short to ground at the TP sensor signal circuit.
  2. If you find a problem, repair as necessary. Refer to Wiring Repairs in Wiring Systems.

Did you find a problem?

--

Go to Step 15

Go to Step 13

13

  1. Check the TP sensor signal circuit for being shorted to the TP sensor ground circuit.
  2. If you find a problem, repair as necessary. Refer to Wiring Repairs in Wiring Systems.

Did you find a problem?

--

Go to Step 15

Go to Step 14

14

  1. Check for a faulty connection at the ECM.
  2. If you find a problem, repair as necessary. Refer to Wiring Repairs in Wiring Systems, or Engine Control Module Diagnosis .

Did you find a problem?

--

Go to Step 15

Go to Step 8

15

  1. Clear the DTCs. Refer to Clearing DTCs.
  2. Start the engine and idle at the normal operating temperature.
  3. Operate the vehicle within the conditions for setting this DTC as specified in the supporting text.

Did the DTC reset?

--

Go to Step 2

Go to Step 16

16

Does the scan tool display any additional, undiagnosed DTCs?

--

Go to the Applicable DTC Table

System OK