GM Service Manual Online
For 1990-2009 cars only
Makes
🢒
Chevrolet
🢒
1999
🢒
Chevrolet C-Series Medium Duty Truck C6/C7/C8
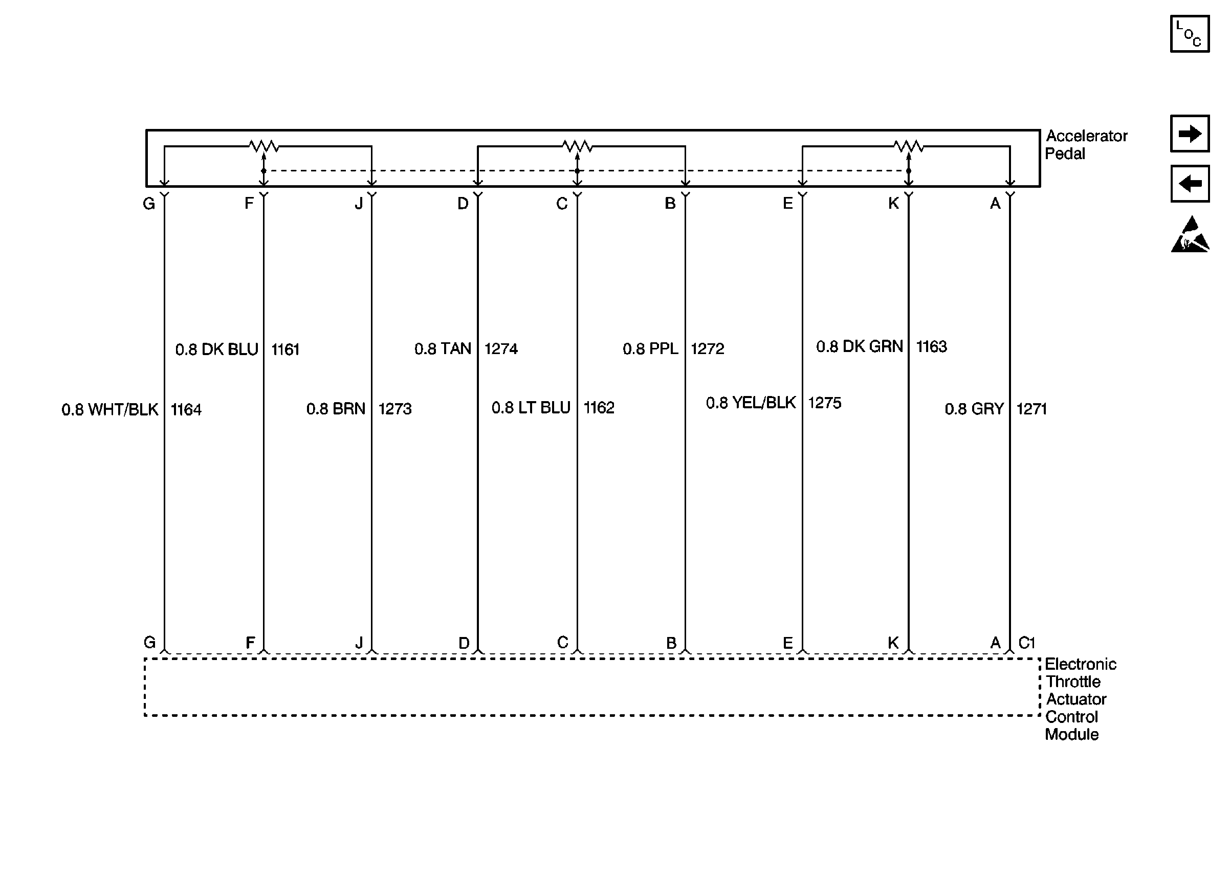
🢒 Cell 20: Accelerator Pedal, Electronic Throttle Actuator Control Module
Cell 20: Accelerator Pedal, Electronic Throttle Actuator Control Module
Cell 20: Accelerator Pedal, Electronic Throttle Actuator Control Module
Engine Controls Components
Cell 20: Throttle Position Sensor, Electronic Throttle Actuator Control MOdule, Cruise Control Switch
Cell 20: Dual Fuel Tanks, Fuel Sender and Balance Pump Control Module
Handling ESD Sensitive Parts Notice