GM Service Manual Online
For 1990-2009 cars only

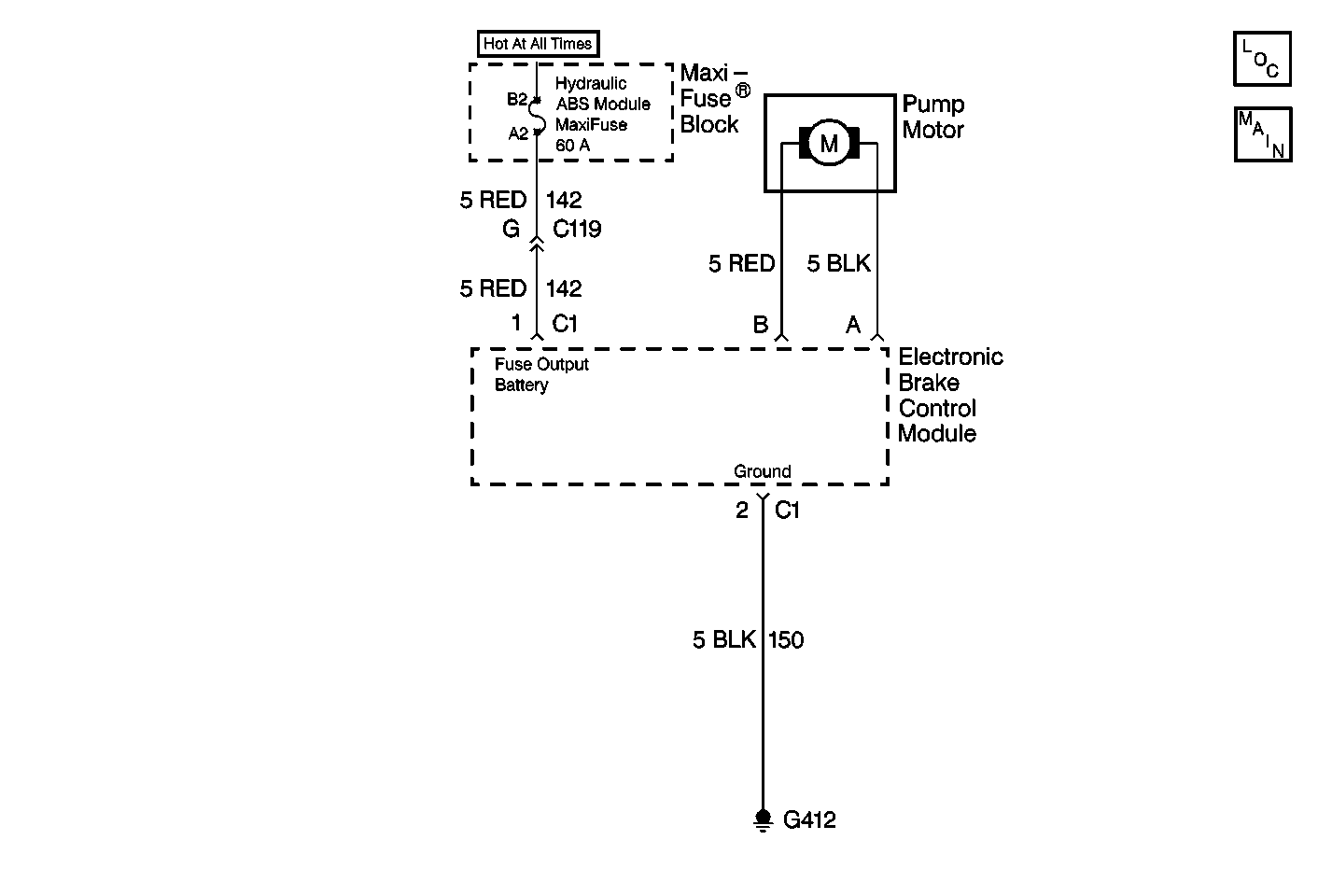
Object Number: 323446  Size: MF
ABS Components Hydraulic Brakes
Antilock Brake System Schematics

Circuit Description

The EBCM microprocessor will ground the indicated solenoid coil (RF dump/isolation, LF dump/isolation, RR dump/isolation, or LR dump/isolation) circuit to energize the solenoid coil whenever the solenoid valve is needed. Refer to ABS Braking Mode in ABS Operation . The magnetic force created by the solenoid coil will close the isolation valve.

Conditions for Setting the DTC

Open Circuit

    • The ABS bulb check is complete.
    • Low voltage exists on the EBCM solenoid driver circuit when high voltage is expected (the solenoid is not energized).

Shorted Circuit

    • The ABS bulb check is complete.
    • High voltage is present on the EBCM solenoid driver circuit when the voltage is expected to be low (solenoid energized).

Action Taken When the DTC Sets

    • The ABS indicator lamp turns on.
    • The ABS disables.

DTCs C0241-C0258 are Ignition Latched DTCs, which indicates the above actions remain true until the ignition is turned to OFF (even if the cause of the DTC is intermittent).

Conditions for Clearing the DTC

    • Repair the conditions responsible for setting the DTC.
    • Use the Scan Tool Clear DTCs function.

Diagnostic Aids

Refer to Scan Tool Diagnostics for use in locating intermittent wiring problems.

This DTC usually sets because of an open/shorted solenoid coil within the EBCM. The solenoid coil is located within the EBCM and is not serviceable. If the test does not repair the DTC, then replace the EBCM.

If this DTC sets with other DTCs, check for the following conditions:

    • A poor EBCM power or signal ground
    • A poor EBCM power or ignition feed

Test Description

The numbers below refer to the steps in the diagnostic table:

  1. This step checks the resistance of the ground circuit.

  2. This step checks the ignition voltage available to the EBCM.

Step

Action

Value(s)

Yes

No

1

Was the Diagnostic System Check performed?

--

Go to Step 2

Go to Diagnostic System Check - ABS

2

  1. Turn the ignition to OFF.
  2. Disconnect the 2-way EBCM harness connector from the EBCM.
  3. Inspect the connector for damage or corrosion that could cause a loss of power to the EBCM.

Is the connector in good condition?

--

Go to Step 3

Go to Step 7

3

Using a J 39200 , measure the resistance between terminal 2 of the 2-way EBCM harness connector and ground.

Is the resistance measurement within the specified range?

0.1-0.5 ohms

Go to Step 4

Go to Step 8

4

  1. Turn the ignition to RUN.
  2. Using a J 39200 , measure the voltage between terminal 1 of the 2-way EBCM harness connector and ground.

Is the voltage measured equal to or greater than the specified value?

10 V

Go to Step 6

Go to Step 5

5

Inspect the 60 amp ABS MaxiFuse®.

Is the fuse open?

--

Go to Step 10

Go to Step 11

6

  1. Inspect the 2-way EBCM harness connector for poor terminal contact or corrosion.
  2. Inspect CKT 142 and CKT 150 for damage which may result in an open circuit.
  3. Repair damage if evident.
  4. Replace the terminals if poor contact or corrosion exists.
  5. Reconnect all the connectors.
  6. Using the Scan Tool clear all DTCs
  7. Test drive the vehicle above 16 km/h (10 mph).

Does the DTC set as a current DTC?

--

Go to Step 9

Go to Diagnostic Aids

7

Repair the 2-way EBCM harness connector if necessary.

Refer to Connector Repairs in Wiring Systems.

Is the repair complete?

--

Go to Diagnostic System Check - ABS

--

8

Repair the open or the high resistance in CKT 150.

Refer to Wiring Repairs in Wiring Systems.

Is the repair complete?

--

Go to Diagnostic System Check - ABS

--

9

Replace the EBCM.

Refer to Electronic Brake Control Module Replacement .

Is the repair complete?

--

Go to Diagnostic System Check - ABS

--

10

Repair the short to ground in CKT 142 and replace the fuse as necessary.

Refer to Wiring Repairs in Wiring Systems.

Is the repair complete?

--

Go to Diagnostic System Check - ABS

--

11

Repair the open or the high resistance in CKT 142.

Refer to Wiring Repairs in Wiring Systems.

Is the repair complete?

--

Go to Diagnostic System Check - ABS

--