GM Service Manual Online
For 1990-2009 cars only
Makes
🢒
Chevrolet
🢒
2000
🢒
Chevrolet C-Series Medium Duty Truck C6/C7/C8
🢒 IGN SW Circuit Breaker (2 of 4)
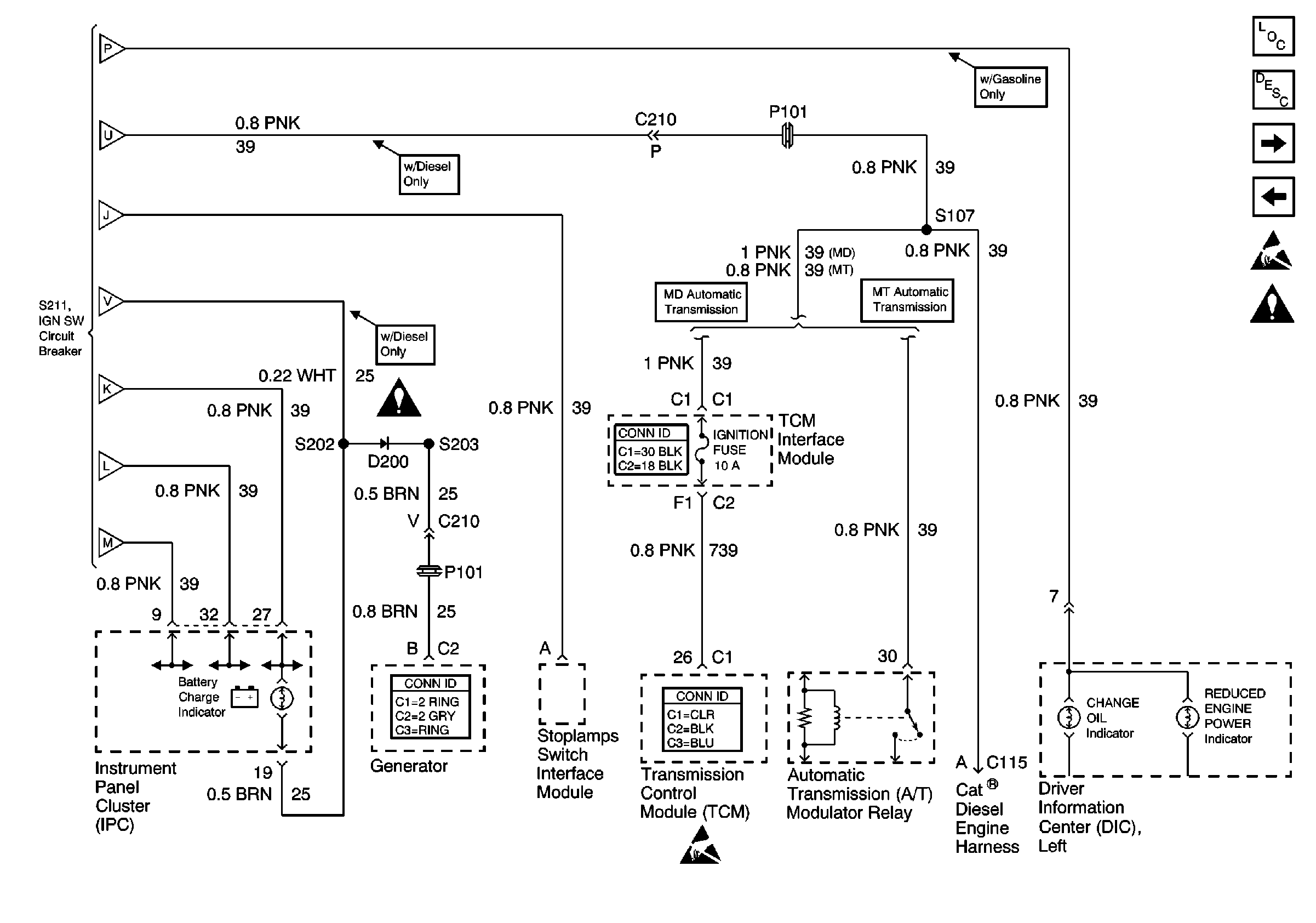
IGN SW Circuit Breaker (2 of 4)
IGN SW Circuit Breaker (2 of 4)
Power and Grounding Components Power Distribution
Power and Grounding Circuit Description
IGN SW Circuit Breaker (3 of 4)
IGN SW Circuit Breaker (1 of 4)
Handling ESD Sensitive Parts Notice
Power and Grounding Schematic Icons
IGN SW Circuit Breaker (1 of 4)
IGN SW Circuit Breaker (1 of 4)
IGN SW Circuit Breaker (1 of 4)
IGN SW Circuit Breaker (1 of 4)
IGN SW Circuit Breaker (1 of 4)
IGN SW Circuit Breaker (1 of 4)
IGN SW Circuit Breaker (1 of 4)
Engine Controls Connector End Views
Engine Electrical Connector End Views
Engine Controls Connector End Views
Power and Grounding Schematic Icons