GM Service Manual Online
For 1990-2009 cars only
Makes
🢒
Chevrolet
🢒
2000
🢒
Chevrolet C-Series Medium Duty Truck C6/C7/C8
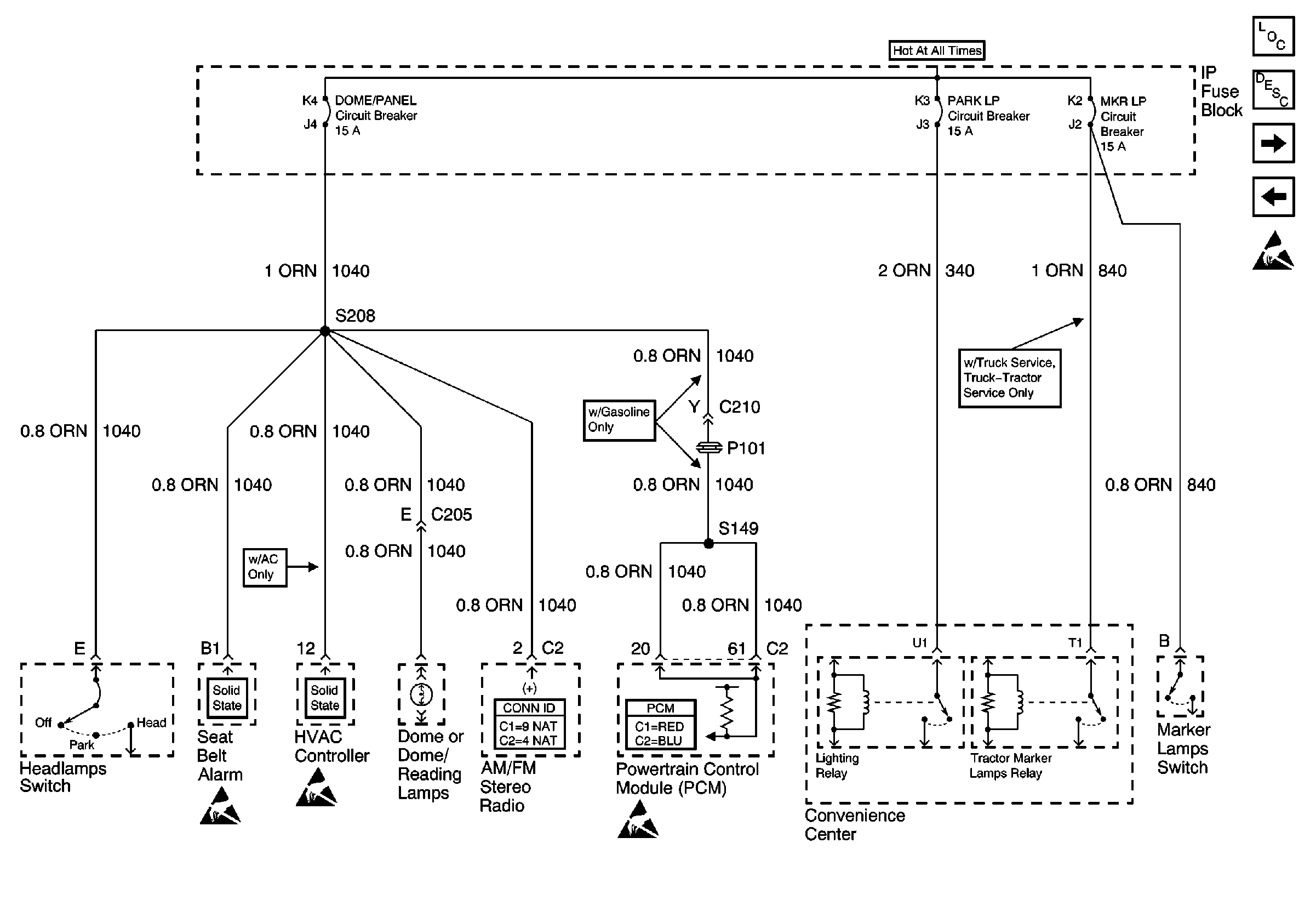
🢒 DOME/PANEL, PARK LP, MKR LP Circuit Breakers
DOME/PANEL, PARK LP, MKR LP Circuit Breakers
DOME/PANEL, PARK LP, MKR LP Circuit Breakers
Power and Grounding Components Power Distribution
Power and Grounding Circuit Description
DR LK, WDO, PRK BRK, AUX BATT, AUX IGN Circuit Breakers
Generator Fuse, RDO, WASH/WIPE Circuit Breakers
Handling ESD Sensitive Parts Notice
Entertainment Connector End Views
Powertrain Control Module Connector End Views
Handling ESD Sensitive Parts Notice
Handling ESD Sensitive Parts Notice
Handling ESD Sensitive Parts Notice