GM Service Manual Online
For 1990-2009 cars only
Makes
🢒
Chevrolet
🢒
2000
🢒
Chevrolet C-Series Medium Duty Truck C6/C7/C8
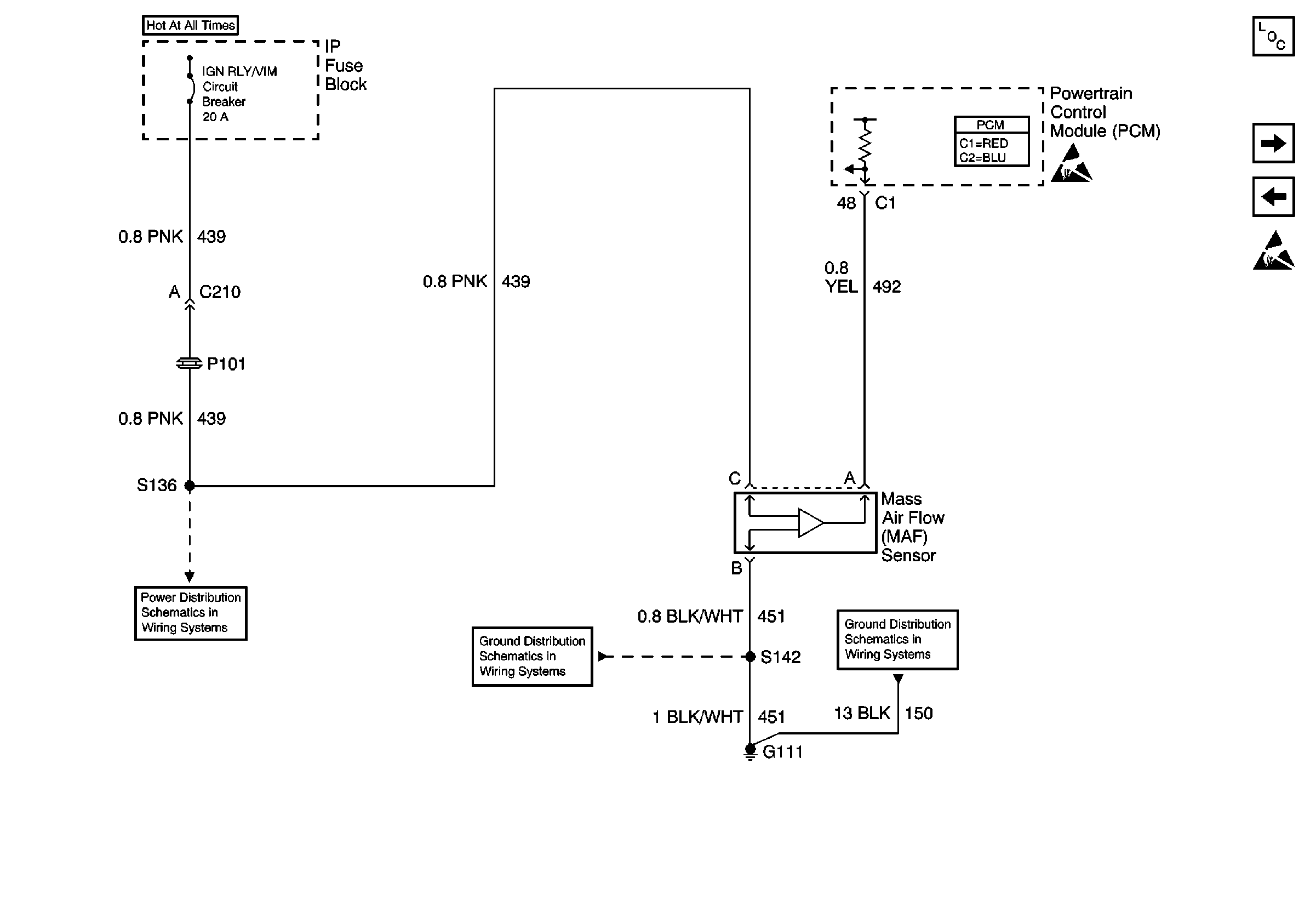
🢒 MAF Sensor
MAF Sensor
MAF Sensor
Engine Controls Components
VSS
HO2S
Handling ESD Sensitive Parts Notice
Powertrain Control Module Connector End Views
Handling ESD Sensitive Parts Notice
S142 (Gasoline), S115 (Diesel), S230
STOP, TRN/HAZ, FUEL, IGN RLY/VIM Circuit Breakers
G111 (Gasoline), G101 (Diesel)