GM Service Manual Online
For 1990-2009 cars only
Figure 1:

C100, C103, and C104-Left Rear of Engine Compartment


Object Number: 709608  Size: MF
(1)Engine Harness
(2)C100
(3)C104
(4)C103
(5)Tail Lamps Extension Harness
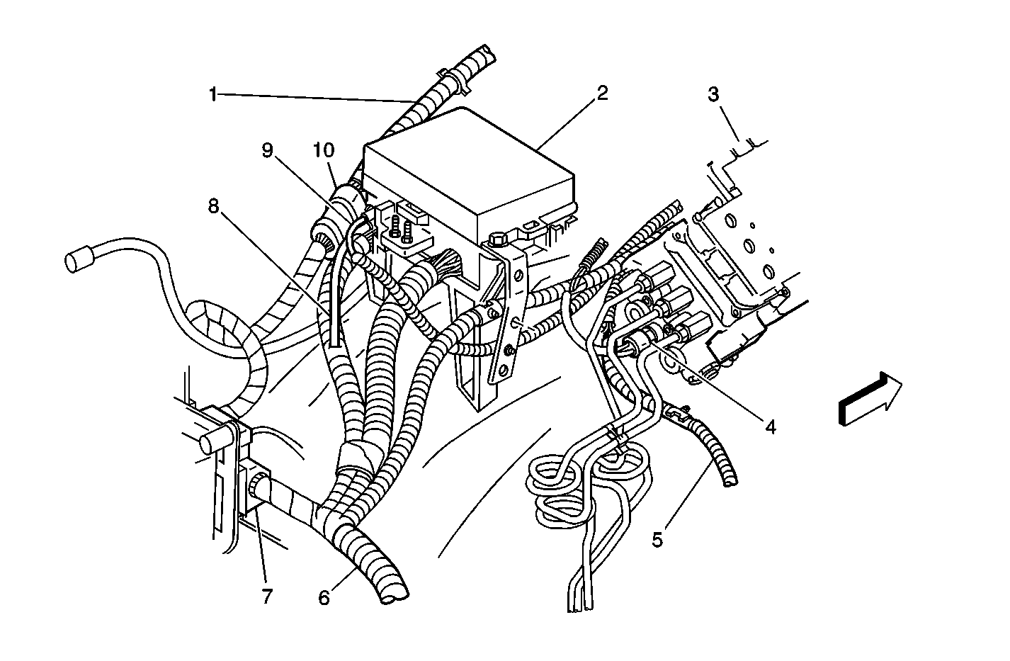
Figure 2:

C100, C102, Underhood Fuse Block, EBCM, and Brake Pressure Differential Switch


Object Number: 709610  Size: MF
(1)Forward Lamps Harness
(2)Underhood Fuse Block
(3)Electric Brake Control Module (EBCM)
(4)Brake Pressure Differential Switch
(5)Wheel Speed Sensor Harness
(6)Engine Harness
(7)C100
(8)Glow Plug Power Wire - L65
(9)Battery Positive Wire
(10)C102
Figure 3:

C106, C112, C113, C114, Fuel Filter Connectors, and Glow Plug Relay


Object Number: 709613  Size: MF
(1)Glow Plug Relay Connector
(2)Water in fuel Sensor - 3-way
(3)C114 - 3-way
(4)C112 - 8-way
(5)C113 - 15-way
(6)Fuel Heater - 2-way
(7)Engine Harness
(8)C106 - 1-way
(9)Glow Plug Relay
(10)Glow Plug Harness - Left Side
(11)Engine Harness to Front of Engine
(12)Engine Harness
Figure 4:

Engine Oil Pressure (EOP) Sensor and Fuel Pump Switch


Object Number: 192947  Size: LF
(1)Engine Oil Pressure (EOP) Sensor and Fuel Pump Switch
(2)Engine Block
Figure 5:

Glow Plug Relay and Turbocharger Wastegate Solenoid


Object Number: 709616  Size: MF
(1)Intake Manifold
(2)Glow Plug Relay
(3)Engine Wiring Harness
(4)Glow Plug Harness - Left Side
(5)Injector - Typical
(6)Glow Plug - Typical
(7)Turbocharger Wastegate Solenoid
Figure 6:

C115, A/C Compressor, and Engine Coolant Temperature (ECT) Gauge Sensor


Object Number: 709617  Size: MF
(1)Air Cleaner
(2)C115
(3)A/C High Pressure Recirculation Switch Connector
(4)Turbocharger Wastegate Solenoid
(5)Glow Plug Relay
(6)Engine Harness
(7)Glow Plug Harness - Left Side
(8)Injector - Typical
(9)Glow Plugs - Typical
(10)Engine Coolant Temperature (ECT) Gage Sensor
(11)A/C High Pressure Switch
(12)A/C Compressor
(13)A/C Compressor Clutch Connector
Figure 7:

Crankshaft Position (CKP) Sensor


Object Number: 192948  Size: SF
(1)Front Engine Cover
(2)Crankshaft Position (CKP) Sensor
(3)Mounting Bolt
Figure 8:

C115, Generator, and Engine Coolant Temperature Sensor - L65


Object Number: 709618  Size: MF
(1)C115
(2)Engine Coolant Temperature (ECT) Sensor
(3)Generator
(4)Generator Connector
(5)Generator Jumper Harness
Figure 9:

Overhead Engine View, IAT, MAP, ECT Sensors


Object Number: 709611  Size: MF
(1)Glow Plug Relay
(2)Turbocharger Wastegate Solenoid
(3)Intake Air Temperature (IAT) Sensor
(4)Turbocharger Boost Sensor
(5)Engine Coolant Temperature (ECT) Sensor
(6)Wastegate Actuator
(7)Turbocharger
(8)Crankcase Depression Regulator (CDR) Valve
(9)Fuel Filter, Heater, Water-in-Fuel Sensor
Figure 10:

Fuel Filter/Manager and Fuel Injection Pump


Object Number: 712730  Size: MF
(1)Fuel Filter/Manager Housing
(2)Fuel Hose to Injection Pump
(3)Fuel Injection Pump
(4)Intake Manifold
(5)Fuel/Water Separator Hose to Water Drain Valve
(6)Water in fuel Indicator Sensor
(7)Fuel Heater
Figure 11:

ECT Sensor, ITS Motor, and Fuel Temperature Sensor/Optical CMP Sensor


Object Number: 192956  Size: LF
(1)Engine Coolant Temperature (ECT) Sensor
(2)Fuel Injection Pump
(3)Injection Timing Stepper (ITS) Motor
(4)Fuel Solenoid
(5)Fuel Temperature Sensor and Optical Camshaft Position (CMP) Sensor
Figure 12:

Fuel Solenoid and Fuel Solenoid Driver, ESO Solenoid, and Fuel Temperature Sensor


Object Number: 192955  Size: MF
(1)Fuel Temperature Sensor and Optical Camshaft Position (CMP) Sensor
(2)Fuel Injection Pump
(3)Fuel Solenoid
(4)Fuel Injector Lines
(5)Fuel Solenoid Driver
(6)Engine Shut Off (ESO) Solenoid
Figure 13:

G110 and Starter


Object Number: 709620  Size: MF
(1)Engine Harness
(2)Glow Plug Wiring
(3)Exhaust Manifold
(4)Starter Solenoid Stud
(5)Starter Wire
(6)Battery Positive Cable
(7)Starter
(8)Frame
(9)Ground Strap from Engine
(10)G110
(11)Ground from Body
(12)Heat Shield
Figure 14:

Coolant Level Switch, P101, G108, and A/C Low Pressure Switch


Object Number: 709827  Size: MF
(1)Coolant Reservoir
(2)A/C Low Pressure Switch
(3)G108
(4)Underhood Lamp Connector
(5)Underhood Lamp Ground Strap
(6)Engine Harness
(7)Radiator Surge Hose
(8)P101
(9)Coolant Return Hose
(10)Coolant Level Switch
Figure 15:

Vehicle Speed Sensor, C122, and Park/Neutral Position (PNP) Switch - Automatic Transmission


Object Number: 697264  Size: MF
(1)Engine Harness
(2)Vehicle Speed Sensor (VSS) - Transmission Output Shaft Speed Sensor
(3)C122
(4)PNP C2
(5)PNP C1
(6)PNP Switch
(7)Automatic Transmission Input Shaft Speed (ISS) Sensor
Figure 16:

Vehicle Speed Sensor and Backup Lamp Switch - Manual Transmission


Object Number: 697261  Size: MF
(1)Engine Harness
(2)Vehicle Speed Sensor (VSS) - Transmission Output Shaft Speed Sensor
(3)Connector to Backup Lamp Switch
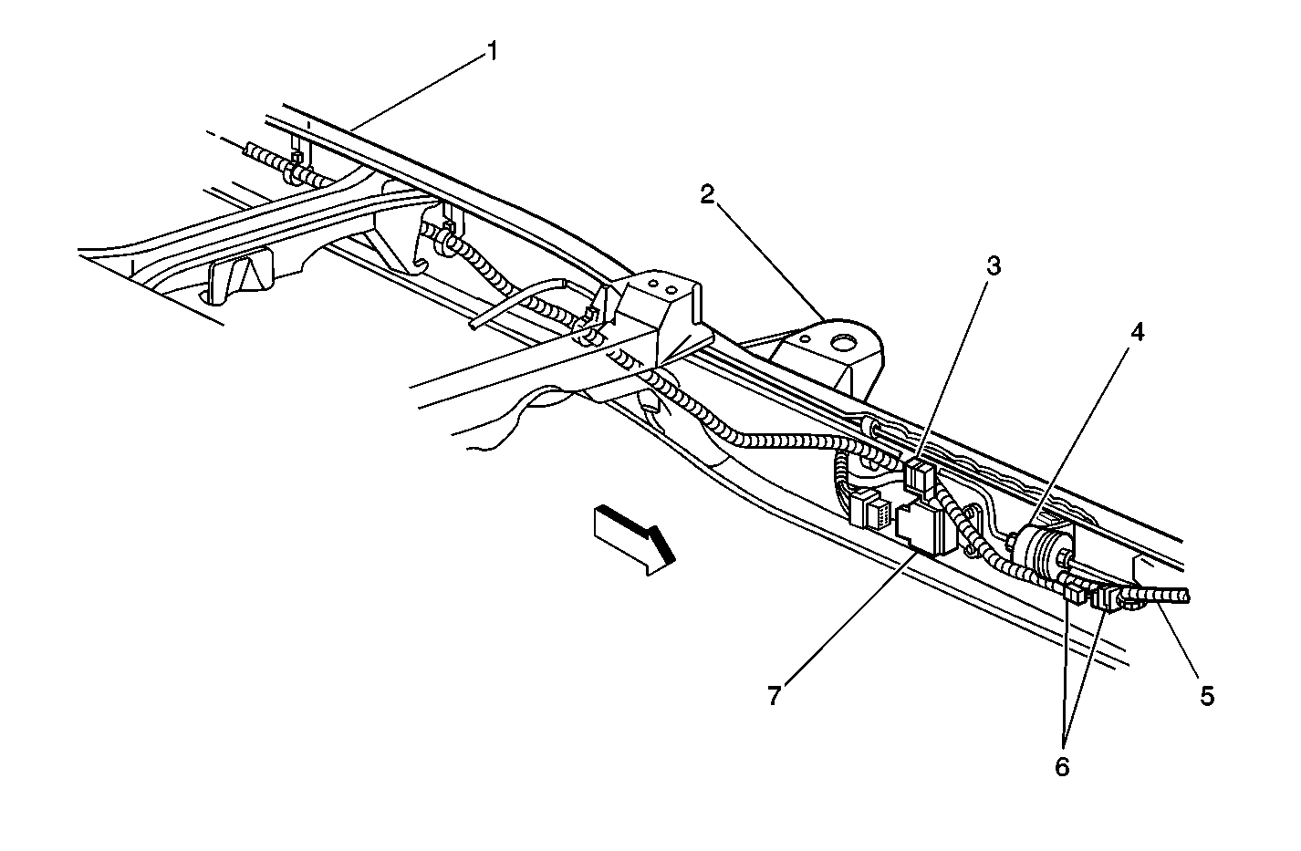
Figure 17:

G404, Fuel Tank and Level Sensor Assembly


Object Number: 192975  Size: MF
(1)Frame Rail - Left
(2)Fuel Lines
(3)Ground G404
(4)Fuel Tank
(5)Fuel Level Sensor Assembly
Figure 18:

Fuel Balance Module, Balance Pump Relay, and Fuel Pump


Object Number: 706347  Size: MF
(1)Left Frame Rail
(2)Left Rear Cab Mount
(3)Fuel Balance Pump Relay
(4)Fuel Pump
(5)Tail Lamps Extension Harness
(6)Fuel Pump Connector
(7)Fuel Balance Module
Figure 19:

Auxiliary Fuel Tank and Fuel Pump - Secondary - Dual Tank Option


Object Number: 705239  Size: MF
(1)Left Tail Lamp Assembly
(2)Tail Lamp Extension Harness
(3)Fuel Pump - Secondary
(4)Fuel Pump - Secondary Connector
(5)Fuel Level Sensor - Secondary Assembly
(6)Fuel Level Sensor - Secondary Connector
(7)Auxiliary Fuel Tank
Figure 20:

C200, C203, C204, PCM, and VSS Buffer


Object Number: 697259  Size: MF
(1)C200
(2)C204
(3)IP Harness
(4)IP Compartment Opening
(5)Powertrain Control Module (PCM) - L65
(6)Vehicle Speed Sensor (VSS) Buffer
(7)HVAC Module
(8)C203
Figure 21:

VSS Buffer Mounting


Object Number: 709621  Size: MF
(1)PCM Mounting Tray
(2)Blower Motor
(3)VSS Buffer
Figure 22:

Theft Deterrent Control Module and DRL Diode


Object Number: 372215  Size: MF
(1)IP Harness
(2)Daytime Running Lamps (DRL) Diode Connector
(3)DRL Diode
(4)Theft Deterrent Control Module Connector
(5)Theft Deterrent Control Module
Figure 23:

Accelerator Pedal Position (APP) Sensor


Object Number: 696088  Size: MF
(1)IP Harness
(2)Accelerator Pedal Position (APP) Sensor
Figure 24:

Data Link Connector (DLC)


Object Number: 542437  Size: MF
(1)Data Link Connector (DLC)