GM Service Manual Online
For 1990-2009 cars only

DTC P0713 Gas


Object Number: 802550  Size: MF
Master Electrical Component List
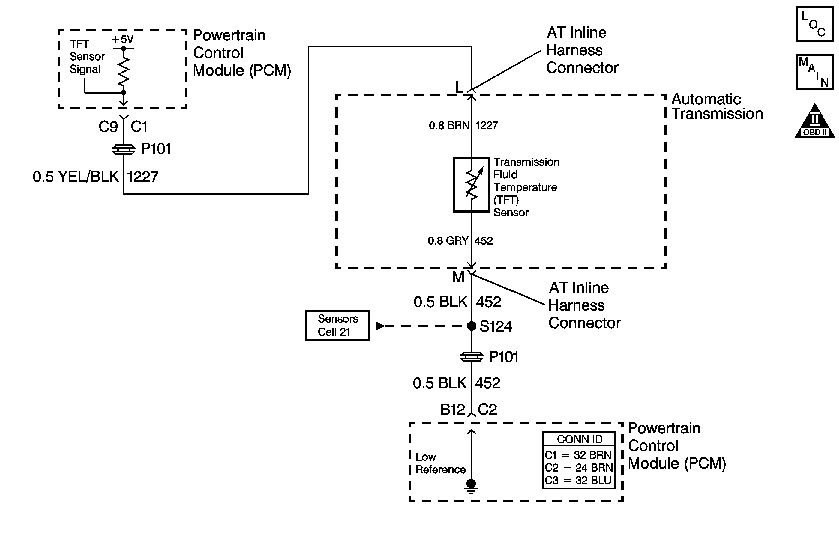
Automatic Transmission Controls Schematics L18
OBD II Symbol Description Notice

Circuit Description

The automatic transmission fluid temperature (TFT) sensor is part of the 4L80-E automatic transmission (AT) wiring harness assembly. The TFT sensor is a resistor, or thermistor, which changes value based on temperature. The sensor has a negative-temperature coefficient. This means that as the temperature increases, the resistance decreases, and as the temperature decreases the resistance increases. The powertrain control module (PCM) supplies a 5-volt reference signal to the sensor and measures the voltage drop in the circuit. When the transmission fluid is cold, the sensor resistance is high and the PCM detects high signal voltage. As the fluid temperature warms to a normal operating temperature, the resistance becomes less and the signal voltage decreases. The PCM uses this information to control shift quality and torque converter clutch apply.

If the PCM detects a continuous open or short to the power in the TFT signal circuit or the TFT sensor, then DTC P0713 sets. DTC P0713 is a type C DTC.

Conditions for Running the DTC

    • No TFT sensor DTC P0712.
    • The engine is running for greater than 7 seconds.
    • The system voltage is 8-18 volts.

Conditions for Setting the DTC

    • The TFT sensor indicates a voltage greater than 4.94 volts.
    • All conditions met for 407 seconds (6.8 minutes).

Action Taken When the DTC Sets

    • The PCM does not illuminate the malfunction indicator lamp (MIL).
    • The PCM commands increased line pressure.
    • The PCM freezes shift adapts.
    • The PCM determines a default transmission fluid temperature (TFT) using the following:
       - If the engine run time is less than 60 seconds, then default transmission fluid temperature equals 47°C (117°F).
       - If ECT is less than 20°C (68°F), then default transmission fluid temperature equals IAT.
       - If the ECT is 20-110°C (68-230°F), then default transmission fluid temperature equals ECT.
       - If the ECT is greater than 110°C (230°F), then default transmission fluid temperature is set to 140°C (284°F) and transmission shift pattern is in hot mode.
       - If ECT and transmission fluid temperature DTCs are both set, then default transmission fluid temperature is 140°C (284°F).
    • The PCM records the operating conditions when the Conditions for Setting the DTC are met. The PCM stores this information as Failure Records.
    • The PCM stores DTC P0713 in PCM history.

Conditions for Clearing the DTC

    • A scan tool clears the DTC from PCM history.
    • The PCM clears the DTC from PCM history if the vehicle completes 40 warm-up cycles without a non-emission related diagnostic fault occurring.
    • The PCM cancels the DTC default actions when the fault no longer exists and the ignition switch is OFF long enough in order to power down the PCM.

Diagnostic Aids

DTC P0713 defaults to an elevated line pressure condition which may result in partial TCC apply. This may produce an idle surge that could stall the engine.

Test Description

The numbers below refer to the step numbers on the diagnostic table.

  1. This step tests for higher than normal circuit voltage which may also damage the TFT sensor.

  2. This step simulates a TFT sensor DTC P0712. If the PCM recognizes the low signal voltage, high temperature, and the scan tool displays 146°C (295°F) or greater, the PCM and the wiring are OK.

  3. This step verifies a condition in the TFT sensor circuit inside the transmission.

  4. This step inspects the TFT sensor and the automatic transmission (AT) wiring harness assembly for an open. Low reference circuit 407 becomes circuit 452 inside the transmission.

DTC P0713

Step

Action

Value(s)

Yes

No

1

Did you perform the Powertrain Diagnostic System Check?

--

Go to Step 2

Go to Diagnostic System Check - Engine Controls in Engine Controls - 8.1L

2

Perform the Transmission Fluid Checking Procedure.

Refer to Transmission Fluid Check .

Was the Transmission Fluid Checking Procedure performed?

--

Go to Step 3

--

3

  1. Install a scan tool.
  2. Turn ON the ignition, with the engine OFF.
  3. Important: Before clearing the DTCs, use the scan tool in order to record the Failure Records. Using the Clear Info function erases the Failure Records from the PCM.

  4. Record the Failure Records.

Does the scan tool indicate that the TFT sensor signal voltage is greater than the specified value?

4.92 V

Go to Step 4

Go to Intermittent Conditions in Engine Controls - 8.1L

4

Does the scan tool indicate the TFT voltage is greater than the specified value?

5.1 V

Go to Step 11

Go to Step 5

5

  1. Turn OFF the ignition.
  2. Disconnect the transmission 20-way connector.
  3. Install the J 44152 jumper harness (20 pins) on the engine side of the 20-way connector.
  4. Using the DMM and the J 35616 connector test adapter kit, measure the voltage between jumper harness terminal L and a good ground.
  5. Refer to Electronic Component Description .

  6. Turn ON the ignition, with the engine OFF.

Does the voltage measure within the specified value?

4.9-5.0 V

Go to Step 6

Go to Step 10

6

  1. Turn OFF the ignition.
  2. Install a fused jumper wire between terminal L and M on the transmission 20-way connector.
  3. Turn ON the ignition, with the engine OFF.

Does the scan tool indicate that the TFT sensor signal voltage parameter is less than the specified value?

0.2 V

Go to Step 7

Go to Step 12

7

  1. Turn OFF the ignition.
  2. Install the J 44152 to the transmission side of the 20-way connector.
  3. Using the DMM, measure the resistance between terminal L and M.
  4. Refer to Electronic Component Description .

Does the resistance measure within the specified values?

16 K ohms at - 10°C (14°F) to 133 ohms at 110°C (230°F)

Go to Intermittent Conditions in Engine Controls - 8.1L

Go to Step 8

8

  1. Remove the transmission oil pan.
  2. Refer to Automatic Transmission Fluid and Filter Replacement .

  3. Test the TFT sensor signal circuit (CKT 1227) and the low reference circuit (CKT 452) of the AT wiring harness for an open.

Was an open condition found?

--

Go to Step 9

Go to Step 14

9

Replace the AT wiring harness assembly.

Refer to Valve Body and Pressure Switch Replacement .

Did you complete the replacement?

--

Go to Step 15

--

10

Test the TFT sensor signal circuit (CKT 1227) of the TFT sensor for high resistance or an open.

Refer to Circuit Testing and Wiring Repairs in Wiring Systems.

Did you find and correct the condition?

--

Go to Step 15

Go to Step 13

11

Important: High voltage, B+, in the signal circuit may cause an open in the TFT sensor.

Test the TFT sensor signal circuit (CKT 1227) of the TFT sensor for a short to voltage B+.

Did you find and correct the condition?

--

Go to Step 15

Go to Step 13

12

Test the low reference circuit (CKT 407) of the TFT sensor for an open.

Refer to Circuit Testing and Wiring Repairs in Wiring Systems.

Did you find and correct the condition?

--

Go to Step 15

Go to Step 13

13

Replace the PCM.

Refer to Powertrain Control Module Replacement in Engine Controls - 8.1L.

Did you complete the replacement?

--

Go to Step 15

--

14

Replace the TFT sensor.

Refer to Valve Body and Pressure Switch Replacement .

Did you complete the replacement?

--

Go to Step 15

--

15

Perform the following procedure in order to verify the repair:

  1. Select DTC.
  2. Select Clear Info.
  3. Operate the vehicle so that the TFT sensor indicates a voltage less than 4.92 volts for 400 seconds (6.8 minutes).
  4. Select Specific DTCs.
  5. Enter DTC P0713.

Has the test run and passed?

--

System OK

Go to Step 1

DTC P0713 Diesel


Object Number: 802551  Size: MF
Master Electrical Component List
Automatic Transmission Controls Schematics L65
OBD II Symbol Description Notice

Circuit Description

The automatic transmission fluid temperature (TFT) sensor is part of the 4L80-E automatic transmission (AT) wiring harness assembly. The TFT sensor is a resistor, or thermistor, which changes value based on temperature. The sensor has a negative-temperature coefficient. This means that as the temperature increases, the resistance decreases, and as the temperature decreases the resistance increases. The powertrain control module (PCM) supplies a 5-volt reference signal to the sensor and measures the voltage drop in the circuit. When the transmission fluid is cold, the sensor resistance is high and the PCM detects high signal voltage. As the fluid temperature warms to a normal operating temperature, the resistance becomes less and the signal voltage decreases. The PCM uses this information to control shift quality and torque converter clutch apply. DTC P0713 is a type C DTC.

Conditions for Running the DTC

The ignition is ON.

Conditions for Setting the DTC

    • The TFT sensor indicates a voltage greater than 4.94 volts.
    • All conditions are met for 400 seconds (6.7 minutes).

Action Taken When the DTC Sets

    • The PCM does not illuminate the malfunction indicator lamp (MIL).
    • The PCM commands increased line pressure.
    • The PCM freezes shift adapts.
    • The PCM determines a default transmission fluid temperature (TFT) using the following:
       - If the engine coolant temperature (ECT) is less than -30°C (-22°F) then default transmission fluid temperature is set to -28°C (-19°F).
       - If the ECT is -30 to +110°C (-22 to +230°F) then default transmission fluid temperature equals ECT plus 10 degrees.
       - If the ECT is greater 110°C (230°F) then default transmission fluid temperature is set to 140°C (284°F) and transmission shift pattern is in Hot Mode.
       - If ECT and TFT DTCs are both set then default transmission fluid temperature is 140°C (284°F).
    • The PCM records the operating conditions when the Conditions for Setting the DTC are met. The PCM stores this information as Failure Records.
    • The PCM stores DTC P0713 in PCM history.

Conditions for Clearing the DTC

    • A scan tool clears the DTC from PCM history.
    • The PCM clears the DTC from PCM history if the vehicle completes 40 warm-up cycles without a non-emission related diagnostic fault occurring.
    • The PCM cancels the DTC default actions when the fault no longer exists and the ignition switch is OFF long enough in order to power down the PCM.

Diagnostic Aids

    • DTC P0713 defaults to an elevated line pressure condition which may result in partial TCC apply. This may produce an idle surge that could stall the engine.
    • DTC P0218 may set approximately 600 seconds (10 minutes) after DTC P0713 has set. Follow the diagnostic table for DTC P0713 before proceeding to the diagnostic table for DTC P0218.

Test Description

The numbers below refer to the step numbers on the diagnostic table.

  1. This step tests for higher than normal circuit voltage which may also damage the TFT sensor.

  2. This step simulates a TFT sensor DTC P0712. If the PCM recognizes the low signal voltage, high temperature, and the scan tool displays 146°C (295°F) or greater, the PCM and the wiring are OK.

  3. This step verifies a condition in the TFT sensor circuit.

  4. This step inspects the TFT sensor and the AT wiring harness assembly for an open.

P0713

Step

Action

Value(s)

Yes

No

1

Did you perform the Powertrain Diagnostic System Check?

--

Go to Step 2

Go to Diagnostic System Check - Engine Controls in Engine Controls - 6.5L

2

Perform the Transmission Fluid Checking Procedure.

Refer to Transmission Fluid Check .

Was the Transmission Fluid Checking Procedure performed?

--

Go to Step 3

Go to Transmission Fluid Check

3

  1. Install a scan tool.
  2. Turn ON the ignition, with the engine OFF.
  3. Important: Before clearing the DTC, use the scan tool in order to record the Failure Records. Using the Clear Info function erases the Failure Records from the PCM.

  4. Record the DTC Failure Records.
  5. Clear the DTC.

Does the scan tool display a TFT sensor signal voltage greater than the specified value?

4.92 V

Go to Step 4

Go to Intermittent Conditions in Engine Controls - 6.5L

4

Does the scan tool display a TFT voltage greater than the specified value?

5.1 V

Go to Step 11

Go to Step 5

5

  1. Turn OFF the ignition.
  2. Disconnect the transmission 20-way connector. Multiple DTCs may set.
  3. Install the J 44152 jumper harness (20 pins) on the engine side of the 20-way connector.
  4. Using the DMM and the J 35616 connector test adapter kit, measure the voltage between jumper harness terminal L and a good ground.
  5. Turn ON the ignition, with the engine OFF.

Does the voltage measure within the specified value?

4.9-5.0 V

Go to Step 6

Go to Step 10

6

  1. Turn OFF the ignition.
  2. Install a fused jumper wire between terminal L and M of the transmission 20-way connector.
  3. Turn ON the ignition, with the engine OFF.

Does the TFT sensor signal voltage measure less than the specified value?

0.2 V

Go to Step 7

Go to Step 12

7

  1. Turn OFF the ignition.
  2. Install the J 44152 to the transmission side of the 20-way connector.
  3. Using the DMM, measure the resistance between terminal L and M.
  4. Refer to Electronic Component Description .

Does the resistance measure within the specified values?

16 K ohms at 10°C (50°F) to 133 ohms at 110°C (230°F)

Go to Intermittent Conditions in Engine Controls - 6.5L

Go to Step 8

8

  1. Remove the transmission oil pan.
  2. Refer to Transmission Fluid Pan Removal in Transmission Unit Repair Manual.

  3. Test the TFT sensor signal circuit (CKT 1227) of the TFT sensor AT wiring harness assembly for an open between the AT inline 20-way connector and the TFT sensor.
  4. Test the low reference circuit (CKT 452) of the TFT sensor AT wiring harness assembly for an open between the AT inline 20-way connector and the TFT sensor.
  5. Refer to Circuit Testing and Wiring Repairs in Wiring Systems.

Did you find an open condition?

--

Go to Step 9

Go to Step 14

9

Replace the AT wiring harness assembly.

Refer to Valve Body and Pressure Switch Replacement .

Did you complete the replacement?

--

Go to Step 15

--

10

Test the TFT sensor signal circuit (CKT 1227) of the TFT sensor for high resistance or an open circuit between the PCM connector C1-C9 and the AT inline 20-way connector.

Refer to Circuit Testing and Wiring Repairs in Wiring Systems.

Did you find and correct the condition?

--

Go to Step 15

Go to Step 13

11

Important: High voltage, B+, in the signal circuit may cause an open in the TFT sensor.

Test the TFT sensor signal circuit (CKT 1227) of the TFT sensor for a short to voltage, B+, between the PCM connector C1-C9 and the AT inline 20-way connector.

Refer to Circuit Testing and Wiring Repairs in Wiring Systems.

Did you find and correct the condition?

--

Go to Step 15

Go to Step 13

12

Test the low reference circuit (CKT 452) of the TFT sensor for high resistance or an open circuit between the PCM connector C2-B12 and the AT inline 20-way connector.

Refer to Circuit Testing and Wiring Repairs in Wiring Systems.

Did you find and correct the condition?

--

Go to Step 15

Go to Step 13

13

Replace the PCM.

Refer to Powertrain Control Module Replacement in Engine Controls - 6.5L.

Did you complete the replacement?

--

Go to Step 15

--

14

Replace the TFT sensor.

Refer to Valve Body and Pressure Switch Replacement .

Did you complete the replacement?

--

Go to Step 15

--

15

Perform the following procedure in order to verify the repair:

  1. Select DTC.
  2. Select Clear Info.
  3. Operate the vehicle so that the TFT sensor indicates a voltage less than 4.92 volts for 10 seconds.
  4. Select Specific DTC.
  5. Enter DTC P0713.

Has the test run and passed?

--

System OK

Go to Step 1