GM Service Manual Online
For 1990-2009 cars only

DTC P0758 Gas


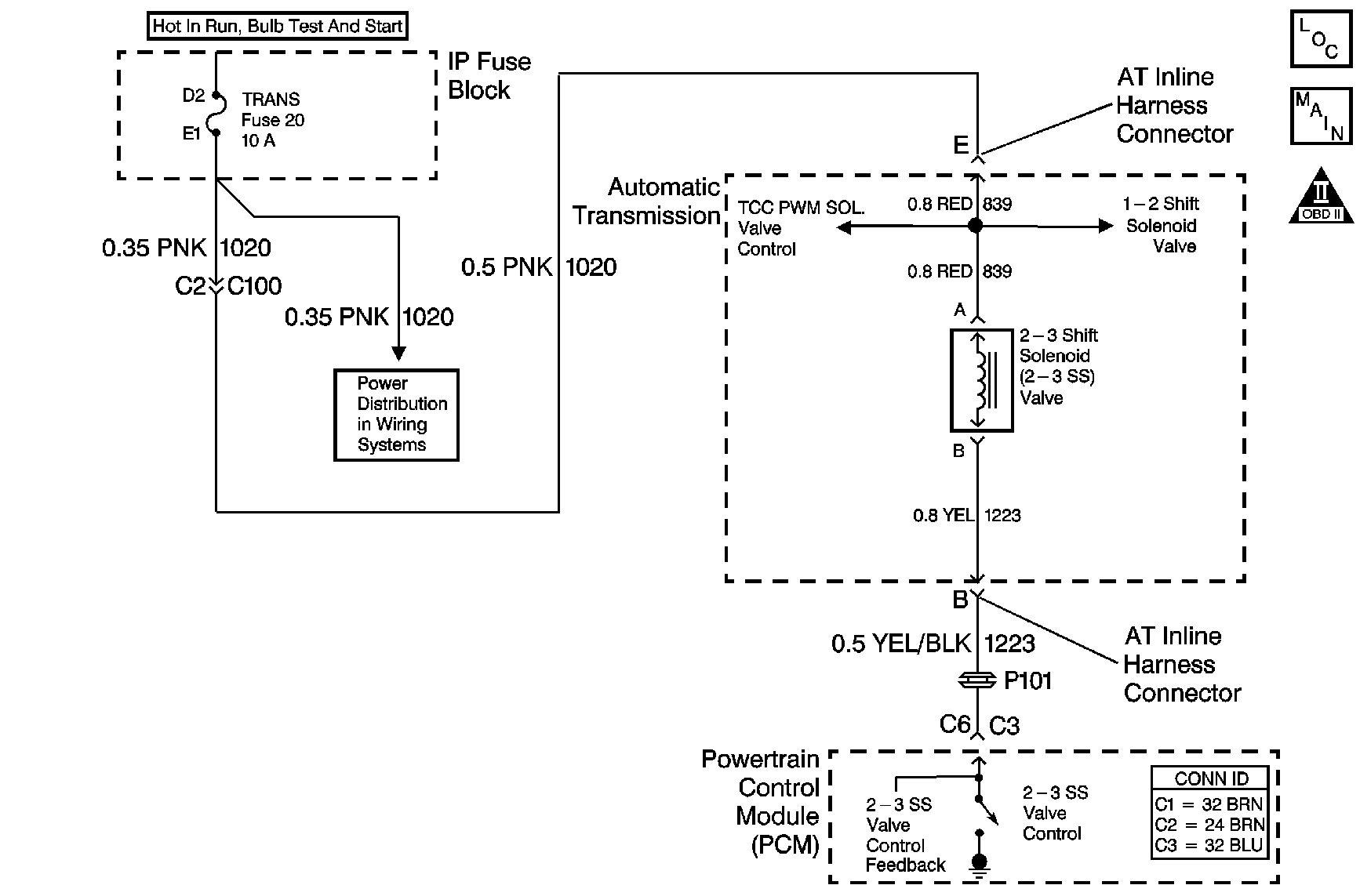
Object Number: 724956  Size: MF
Master Electrical Component List
Automatic Transmission Controls Schematics L18
OBD II Symbol Description Notice

Circuit Description

The 2-3 shift solenoid (SS) valve controls fluid of the 2-3 shift valve. The 2-3 SS valve is a normally-open exhaust valve used with the 1-2 SS valve in order to allow four different shifting combinations. The 2-3 SS valve attaches to the control valve body within the transmission. The ignition voltage goes directly to the 2-3 SS valve. The powertrain control module (PCM) controls the 2-3 SS valve by providing a ground path through the 2-3 shift solenoid valve control circuit.

If the PCM detects a continuous open or short in the 2-3 SS valve circuit or the 2-3 SS valve, then DTC P0758 sets. DTC P0758 is a type C DTC. For California emissions vehicles, DTC P0758 is a type A DTC.

Conditions for Running the DTC

    • The system voltage is 8-18 volts.
    • The engine is running for more than 7 seconds.

Conditions for Setting the DTC

The above conditions are met and either of the following conditions occur for 4.3 out of 5 seconds.

    • The PCM commands the 2-3 SS valve ON, and the voltage input remains high, B+.
    • The PCM commands the 2-3 SS valve OFF, and the voltage input remains low, 0 volts.

Action Taken When the DTC Sets

    • The PCM illuminates the malfunction indicator lamp (MIL) for California emission vehicles.
    • The PCM commands a soft landing to second gear.
    • The PCM commands maximum line pressure.
    • The PCM freezes shift adapts form being updated.
    • The PCM records the operating conditions when the Conditions for Setting the DTC are met. The PCM stores this information as Freeze Frame, California only, and Failure Records, California and Federal.
    • The PCM stores DTC P0758 in PCM history.

Conditions for Clearing the MIL/DTC

    • For California emissions, the PCM turns OFF the MIL during the third consecutive trip in which the diagnostic test runs and passes.
    • A scan tool can clear the MIL/DTC.
    • For California emissions, the PCM clears the DTC from PCM history if the vehicle completes 40 warm-up cycles without an emission related diagnostic fault occurring.
    • For Federal emissions, the PCM clears the DTC from PCM history if the vehicle completes 40 warm-up cycles without a non-emission related diagnostic fault occurring.
    • The PCM cancels the DTC default actions when the fault no longer exists and the ignition switch is OFF long enough in order to power down the PCM.

Diagnostic Aids

DTC P0758 defaults to an elevated line pressure condition which may result in partial TCC apply. This may produce an idle surge that could stall the engine.

Refer to Shift Solenoid Valve State and Gear Ratio .

Test Description

The numbers below refer to the step numbers on the diagnostic table.

  1. This step tests the function of the 2-3 SS valve and the internal wiring harness.

  2. This step tests the power to the 2-3 SS valve from the ignition through the fuse.

  3. This step tests the ability of the PCM and the wiring to control the ground circuit.

  4. This step measures the resistance of the automatic transmission (AT) wiring harness assembly and the 2-3 SS valve.

DTC P0758

Step

Action

Value(s)

Yes

No

1

Did you perform the Powertrain Diagnostic System Check?

--

Go to Step 2

Go to Diagnostic System Check - Engine Controls in Engine Controls - 8.1L

2

  1. Install a scan tool.
  2. Turn ON the ignition, with the engine OFF.
  3. Important: Before clearing the DTCs, use the scan tool in order to record the Freeze Frame and Failure Records. Using the Clear Info function erases the Freeze Frame and Failure Records from the PCM.

  4. Record the Freeze Frame and Failure Records.
  5. Clear the DTCs.

Were DTCs P0753, or P1860 also set?

--

Go to Step 3

Go to Step 4

3

  1. Inspect the transmission ignition fuse for an open.
  2. If you find an open fuse, inspect the following components for a short to ground:
  3. • The voltage circuit (CKT 1020)
    • The 3 solenoids
    • The automatic transmission wiring harness assembly
  4. Repair the circuit, the solenoid, or replace the harness if necessary.

Refer to Wiring Repairs in Wiring Systems or Valve Body and Pressure Switch Replacement .

Did you find and correct the condition?

--

Go to Step 16

Go to Step 4

4

Using the scan tool output control function, command the 2-3 SS valve ON and OFF three times while listening to the bottom of the transmission pan. Use a stethoscope if needed.

Does the solenoid click when commanded?

--

Go to Intermittent Conditions in Engine Controls - 8.1L

Go to Step 5

5

  1. Turn OFF the ignition.
  2. Disconnect the transmission 20-way connector. Additional DTCs will set.
  3. Install the J 44152 jumper harness (20 pins) on the engine harness connector.
  4. Connect a 12 volt test lamp from the J 44152 cavity E to ground.
  5. Turn ON the ignition, with the engine OFF.

Does the test lamp illuminate?

--

Go to Step 7

Go to Step 6

6

Repair the open or high resistance in the Off/Run/Crank voltage circuit (CKT 1020) of the 2-3 SS valve.

Refer to Circuit Testing and Wiring Repairs in Wiring Systems.

Did you find and correct the condition?

--

Go to Step 19

--

7

  1. Install the test lamp between cavity E and B of the J 44152 .
  2. Using the scan tool transmission output control function, command the 2-3 SS valve ON and OFF three times.

Does the test lamp illuminate when you command the shift solenoid ON and go out when you command the shift solenoid OFF?

--

Go to Step 10

Go to Step 8

8

Is the test lamp always ON?

--

Go to Step 10

Go to Step 9

9

Test the control circuit (CKT 1223) of the 2-3 SS valve for an open or short to power between the PCM connector C2 and the AT inline 20-way connector.

Refer to Circuit Testing and Wiring Repairs in Wiring Systems.

Did you find and correct the condition?

--

Go to Step 19

Go to Step 11

10

Test the 2-3 shift solenoid valve control circuit (CKT 1223) of the 2-3 SS valve for an open or short to ground.

Refer to Circuit Testing and Wiring Repairs in Wiring Systems.

Did you find and correct the condition?

--

Go to Step 19

Go to Step 11

11

Replace the PCM.

Refer to Powertrain Control Module Replacement in Engine Controls - 8.1L.

Did you complete the replacement?

--

Go to Step 19

--

12

  1. Turn OFF the ignition.
  2. Install J 44152 on the transmission 20-way connector.
  3. With the DMM and the J 35616 connector test adapter kit , measure the resistance between terminal B and E.

Does the resistance measure within the specified values?

19-31 ohms

Go to Step 14

Go to Step 13

13

  1. Disconnect the automatic transmission wiring harness assembly from the 2-3 SS valve.
  2. Measure the resistance of the 2-3 SS valve.

Does the resistance measure within the specified values?

19-31 ohms

Go to Step 17

Go to Step 18

14

Using the DMM, measure the resistance between terminal B and a good ground.

Does the resistance measure greater than the specified value?

250 K ohms

Go to Step 16

Go to Step 15

15

  1. Disconnect the automatic transmission wiring harness assembly from the 2-3 SS valve.
  2. Measure the resistance from the 2-3 SS valve terminals to ground.

Do both readings measure greater than the specified value?

250 K ohms

Go to Step 17

Go to Step 18

16

Measure the resistance between terminal B and all other terminals, except terminal A, E, and S of the J 44152 .

Refer to Automatic Transmission Inline Harness Connector End View .

Is the resistance between terminal B and any other terminal, except terminal A, E, and S less than the specified value?

250 K ohms

Go to Step 17

Go to Intermittent Conditions in Engine Controls - 8.1L

17

Replace the automatic transmission wiring harness assembly.

Refer to Valve Body and Pressure Switch Replacement .

Did you complete the replacement?

--

Go to Step 19

--

18

Replace the 2-3 SS valve.

Refer to Valve Body and Pressure Switch Replacement .

Did you complete the replacement?

--

Go to Step 19

--

19

Perform the following procedure in order to verify the repair:

  1. Select DTC.
  2. Select Clear Info.
  3. Select the parameters, 2-3 Solenoid, and 2-3 Solenoid Open/Short to GND, and 2-3 Solenoid Short to Volts.
  4. Operate the vehicle under the following conditions:
  5. • The PCM commands the 2-3 SS valve ON, and the 2-3 Solenoid Short to Volts is NO.
    • The PCM commands the 2-3 SS valve OFF, and the 2-3 Solenoid Open/Short to GND is NO.
    • All conditions are met for 5 seconds.
  6. Select Specific DTC.
  7. Enter DTC P0758.

Has the test run and passed?

--

System OK

Go to Step 1

DTC P0758 Diesel


Object Number: 664587  Size: MF
Master Electrical Component List
Automatic Transmission Controls Schematics L65
OBD II Symbol Description Notice

Circuit Description

The 2-3 shift solenoid (SS) valve controls the fluid flow acting on the 2-3 shift valve. The 2-3 SS valve is a normally-open exhaust valve used with the 1-2 SS valve in order to allow four different shifting combinations. The 2-3 SS valve attaches to the control valve body within the transmission. The ignition voltage goes directly to the 2-3 SS valve. The powertrain control module (PCM) controls the 2-3 SS valve by providing a ground path.

If the PCM detects a continuous open or short to ground in the 2-3 SS valve circuit or the 2-3 SS valve, then DTC P0758 sets. DTC P0758 is a type A DTC.

Conditions for Running the DTC

    • The engine is running for greater than 7 seconds.
    • The system voltage is 8-18 volts.

Conditions for Setting the DTC

The PCM detects either of the following fail conditions for 4.3 out of 5 seconds.

    • The PCM commands the solenoid ON and voltage input remains high, B+.
    • The PCM commands the solenoid OFF and voltage input remains low, 0 volts.

Action Taken When the DTC Sets

    • The PCM illuminates the malfunction indicator lamp (MIL).
    • The PCM commands an immediate landing to second gear.
    • The PCM commands maximum line pressure.
    • The PCM freezes shift adapts.
    • The PCM records the operating conditions when the Conditions for Setting the DTC are met. The PCM stores this information as Freeze Frame and Failure Records.
    • The PCM stores DTC P0758 in PCM history.

Conditions for Clearing the MIL/DTC

    • For Federal and California emissions, the PCM turns OFF the MIL during the third consecutive trip in which the diagnostic test runs and passes.
    • A scan tool can clear the MIL/DTC.
    • For Federal and California emissions, the PCM clears the DTC from PCM history if the vehicle completes 40 warm-up cycles without an emission related diagnostic fault occurring.
    • For vehicles equal to or greater than 15,000 lbs GVW, the PCM clears the DTC from PCM history if the vehicle completes 40 warm-up cycles without a non-emission related diagnostic fault occurring.
    • The PCM cancels the DTC default actions when the fault no longer exists and the ignition switch is OFF long enough in order to power down the PCM.

Diagnostic Aids

    • DTC P0758 defaults to an elevated line pressure condition which may result in partial TCC apply. This may produce an idle surge that could stall the engine.
    • An open ignition feed circuit can cause multiple DTCs to set.
    • Refer to Shift Solenoid Valve State and Gear Ratio table.

Test Description

The numbers below refer to the step numbers on the diagnostic table.

  1. This step tests the function of the 2-3 SS valve and the automatic transmission wiring harness assembly.

  2. This step tests the power circuit to the 2-3 SS valve.

  3. This step tests for the resistance of the 2-3 SS valve.

P0758

Step

Action

Value(s)

Yes

No

1

Did you perform the Powertrain Diagnostic System Check?

--

Go to Step 2

Go to Diagnostic System Check - Engine Controls in Engine Controls - 6.5L

2

  1. Install a scan tool.
  2. Turn ON the ignition, with the engine OFF.
  3. Important: Before clearing the DTC, use the scan tool in order to record the Freeze Frame and Failure Records for reference. The Clear Info function will erase the data.

  4. Record the DTC Freeze Frame and Failure Records.
  5. Clear the DTC.

Is DTC P0753 or DTC P1860 set?

--

Go to Step 3

Go to Step 4

3

Inspect the transmission fuse for an open.

Is the fuse open?

--

Go to Step 12

Go to Step 5

4

Use the scan tool in order to command the 2-3 SS valve ON and OFF three times while listening to the bottom of the transmission pan. A stethoscope may be necessary.

Does the solenoid click when commanded?

--

Go to Intermittent Conditions in Engine Controls - 6.5L

Go to Step 5

5

  1. Turn OFF the ignition.
  2. Disconnect the AT inline 20-way connector. Additional DTCs may set.
  3. Install the J 44152 jumper harness (20 pins) on the engine side of the AT inline 20-way connector.
  4. Turn ON the ignition, with the engine OFF.
  5. Using the J 35616 connector test adapter kit, connect a test lamp from terminal E of the J 44152 to ground.
  6. Refer to Automatic Transmission Inline Harness Connector End View .

Does the test lamp illuminate?

--

Go to Step 6

Go to Step 15

6

  1. Connect a test lamp between terminal E and terminal A of the J 44152 .
  2. Refer to Automatic Transmission Inline Harness Connector End View .

  3. Use the scan tool in order to command the 2-3 valve ON and OFF three times.

Does the test lamp turn ON and OFF with each command?

--

Go to Step 8

Go to Step 7

7

Is the test lamp always ON?

--

Go to Step 16

Go to Step 17

8

  1. Install the J 44152 on the transmission side of the AT inline 20-way connector.
  2. Using the DMM and the J 35616 , measure the resistance between terminal A and terminal E of the J 44152 .

Refer to Automatic Transmission Inline Harness Connector End View .

Does the resistance measure within the specified range?

19-31 ohms

Go to Step 9

Go to Step 10

9

Measure the resistance from terminal B to ground and terminal E to ground.

Do both readings measure greater than the specified value?

250 K ohms

Go to Diagnostic Aids

Go to Step 11

10

  1. Disconnect the AT wiring harness assembly from the 2-3 SS valve.
  2. Measure the resistance of the 2-3 SS valve.

Does the resistance measure within the specified range?

19-31 ohms

Go to Step 18

Go to Step 19

11

  1. Disconnect the AT wiring harness assembly from the 1-2 SS valve.
  2. Measure the resistance from the component terminals to ground.

Do both readings measure greater than the specified value?

250 K ohms

Go to Step 18

Go to Step 19

12

Important: The condition that affects this circuit may exist in other connecting branches of the circuit. Refer to Power Distribution Schematics in Wiring Systems for complete circuit distribution.

Test the voltage circuit (CKT 1020) of the 2-3 SS valve for a short to ground between the IP fuse block and the AT inline 20-way connector.

Refer to Circuit Testing and Wiring Repairs in Wiring Systems.

Did you find and correct the condition?

--

Go to Step 21

Go to Step 13

13

Important: The condition that affects this circuit may exist in other connecting branches of the circuit. Refer to Power Distribution Schematics in Wiring Systems for complete circuit distribution.

Test the voltage circuit (CKT 839) of the 2-3 SS valve for a short to ground between the AT inline 20-way connector and the 2-3 SS valve.

Refer to Circuit Testing and Wiring Repairs in Wiring Systems.

Did you find a short to ground condition?

--

Go to Step 18

Go to Step 14

14

  1. Test each solenoid for a short to ground.
  2. Replace the faulty solenoid as necessary.

Did you complete the replacement?

--

Go to Step 21

--

15

Important: The condition that affects this circuit may exist in other connecting branches of the circuit. Refer to Power Distribution Schematics in Wiring Systems for complete circuit distribution.

Test the voltage circuit (CKT 1020) of the 2-3 SS valve for an open.

Refer to Circuit Testing and Wiring Repairs in Wiring Systems.

Did you find and correct the condition?

--

Go to Step 21

--

16

Test the 2-3 shift solenoid valve control circuit (CKT 1223) of the 2-3 SS valve for a short to ground between the PCM connector C3-C6 and the AT inline 20-way connector.

Refer to Circuit Testing and Wiring Repairs in Wiring Systems.

Did you find and correct the condition?

--

Go to Step 21

Go to Step 20

17

Test the 2-3 shift solenoid valve control circuit (CKT 1223) of the 2-3 SS valve for an open or short to power between the PCM connector C3-C6 and the AT inline 20-way connector.

Refer to Circuit Testing and Wiring Repairs in Wiring Systems.

Did you find and correct the condition?

--

Go to Step 21

Go to Step 20

18

Replace the AT wiring harness assembly.

Refer to Valve Body and Pressure Switch Replacement .

Did you complete the replacement?

--

Go to Step 21

--

19

Replace the 2-3 SS valve.

Refer to Valve Body and Pressure Switch Replacement .

Did you complete the replacement?

--

Go to Step 21

--

20

Replace the PCM.

Refer to Powertrain Control Module Replacement in Engine Controls - 6.5L.

Did you complete the replacement?

--

Go to Step 21

--

21

Perform the following procedure in order to verify the repair:

  1. Select DTC.
  2. Select Clear Info.
  3. Drive the vehicle in D4 and ensure that the following conditions are met:
  4. • The PCM commands the 2-3 SS valve ON and the voltage input drops to zero.
    • The PCM commands the 2-3 SS valve OFF and the voltage input increases to B+.
    • All conditions are met for 5 seconds.
  5. Select Specific DTC.
  6. Enter DTC P0758.

Has the test run and passed?

--

System OK

Go to Step 1