GM Service Manual Online
For 1990-2009 cars only

DTC P1860 Gas


Object Number: 724976  Size: MF
Master Electrical Component List
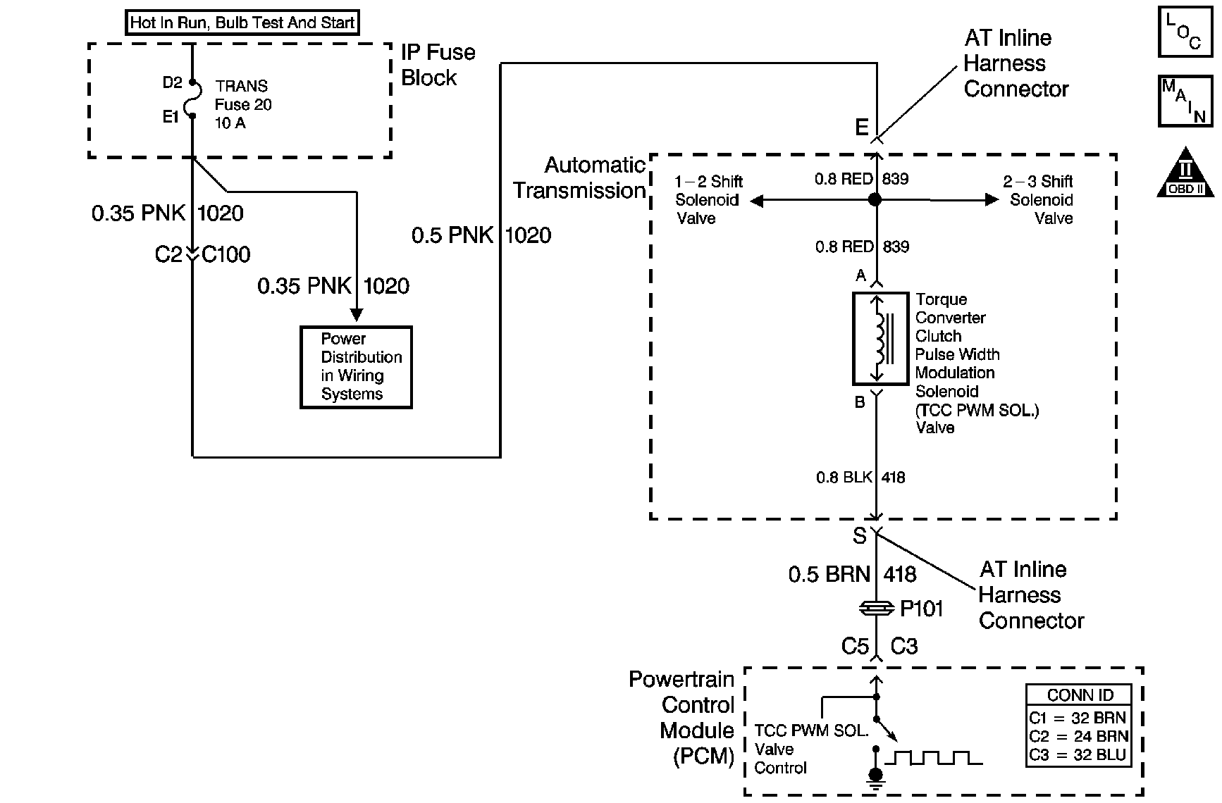
Automatic Transmission Controls Schematics L18
OBD II Symbol Description Notice

Circuit Description

The torque converter clutch pulse width modulation (TCC PWM) solenoid valve controls fluid acting on the converter clutch valve, which controls TCC apply and release. The TCC PWM solenoid valve attaches to the control valve body within the transmission. Ignition voltage goes directly to the TCC PWM solenoid valve. The powertrain control modulator (PCM) controls the TCC PWM solenoid valve by providing a ground path on the control circuit. The current flows through the TCC PWM solenoid valve coil according to the duty cycle, percentage of ON time. The TCC PWM solenoid valve provides a smooth engagement of the torque converter clutch by operating on a duty cycle percent of ON time.

If the PCM detects a continuous open or short in the TCC PWM solenoid valve circuit or the TCC PWM solenoid valve, then DTC P1860 sets. DTC P1860 is a type C DTC. For California emission vehicles DTC P1860 is a type A DTC.

Conditions for Running the DTC

    • The system voltage is 8-18 volts.
    • The engine is running for greater than 7 seconds.

Conditions for Setting the DTC

All conditions for running the DTC are met, and either of the following conditions occur for 4.3 out of 5 seconds.

    • The PCM commands the TCC PWM solenoid valve to OFF, 0 percent, and the voltage input remains low, zero volts.
    • The PCM commands the TCC PWM solenoid valve to ON, 100 percent, and the voltage input remains high, B+.

Action Taken When the DTC Sets

    • The PCM illuminates the malfunction indicator lamp (MIL) for California emission vehicles.
    • The PCM inhibits TCC engagement.
    • The PCM increases line pressure.
    • The PCM inhibits 4th gear if transmission fluid temperature (TFT) is greater than 130°C (266°F).
    • The PCM freezes shift adapts from being updated.
    • The PCM records the operating conditions when the Conditions for Setting the DTC are met. The PCM stores this information as Freeze Frame, California only, and Failure Records, California and Federal.
    • The PCM stores DTC P1860 in PCM history.

Conditions for Clearing the MIL/DTC

    • For California emissions, the PCM turns OFF the MIL during the third consecutive trip in which the diagnostic test runs and passes.
    • A scan tool can clear the MIL/DTC.
    • For California emissions, the PCM clears the DTC from PCM history if the vehicle completes 40 warm-up cycles without an emission related diagnostic fault occurring.
    • For Federal emissions, the PCM clears the DTC from PCM history if the vehicle completes 40 warm-up cycles without a non-emission related diagnostic fault occurring.
    • The PCM cancels the DTC default actions when the fault no longer exists and the ignition switch is OFF long enough in order to power down the PCM.

Diagnostic Aids

DTC P1860 defaults to an elevated line pressure condition which may result in partial TCC apply. This may produce an idle surge that could stall the engine.

Test Description

The numbers below refer to the step numbers on the diagnostic table.

  1. This step tests for voltage to the TCC PWM solenoid valve circuit.

  2. This step tests the ability of the PCM and wiring to control the ground circuit.

  3. This step tests the resistance of the TCC PWM solenoid valve and the internal wiring harness.

DTC P1860

Step

Action

Value(s)

Yes

No

1

Did you perform the Powertrain Diagnostic System Check?

--

Go to Step 2

Go to Diagnostic System Check - Engine Controls in Engine Controls - 8.1L

2

  1. Install a scan tool.
  2. Turn ON the ignition, with the engine OFF.
  3. Important: Before clearing the DTCs, use the scan tool in order to record the Freeze Frame and Failure Records. Using the Clear Info function erases the Freeze Frame and Failure Records from the PCM.

  4. Record the Freeze Frame and Failure Records.
  5. Clear the DTCs.
  6. Inspect the transmission fuse.

Is the fuse open?

--

Go to Step 3

Go to Step 4

3

Inspect the following components for a short to ground:

    • The Off/Run/Crank voltage circuit (CKT 1020)
    • The 1-2 shift solenoid
    • The 2-3 shift solenoid
    • The TCC PWM solenoid
    • The automatic transmission wiring harness assembly

Refer to Circuit Testing and Wiring Repairs in Wiring Systems.

Did you find and correct the condition?

--

Go to Step 20

Go to Intermittent Conditions in Engine Controls - 8.1L

4

  1. Turn OFF the ignition.
  2. Disconnect the transmission 20-way connector. Additional DTCs may set.
  3. Install the J 44152 jumper harness (20 pins) on the engine harness connector.
  4. Turn ON the ignition, with the engine OFF.
  5. Connect a test lamp from the J 44152 cavity E to ground.

Does the test lamp illuminate?

--

Go to Step 6

Go to Step 5

5

Repair the open or high resistance in the Off/Run/Crank voltage circuit (CKT 1020) of the TCC PWM solenoid valve.

Refer to Circuit Testing and Wiring Repairs in Wiring Systems.

Did you complete the repair?

--

Go to Step 20

--

6

  1. Install the test lamp from cavity E to cavity S of the J 44152 .
  2. Using the scan tool Automatic Output Control Feature, command the TCC PWM solenoid valve ON and OFF three times.

Does the test lamp illuminate when you command the TCC PWM solenoid valve ON, and go out when you command the TCC PWM solenoid valve OFF?

--

Go to Step 10

Go to Step 7

7

Is the test lamp always ON?

--

Go to Step 9

Go to Step 8

8

Test the control circuit (CKT 418) of the TCC PWM solenoid valve for an open or short to power between the PCM connector C2 and the AT inline 20-way connector.

Refer to Circuit Testing and Wiring Repairs in Wiring Systems.

Did you find and correct the condition?

--

Go to Step 20

Go to Step 11

9

  1. Test the TCC PWM control circuit (CKT 418) for an open or short to ground.
  2. Repair the circuit if necessary.
  3. Refer to Circuit Testing and Wiring Repairs in Wiring Systems.

Did you find and correct the condition?

--

Go to Step 20

Go to Step 11

10

  1. Install the J 44152 on the transmission 20-way connector.
  2. Using the DMM and the J 35616 connector test adapter kit, measure the resistance between terminal E and S.

Does the resistance measure within the specified values?

10-15 ohms

Go to Step 13

Go to Step 12

11

Replace the PCM.

Refer to Powertrain Control Module Replacement in Engine Controls - 8.1L.

Did you complete the replacement?

--

Go to Step 20

--

12

  1. Disconnect the automatic transmission wiring harness assembly at the TCC PWM solenoid valve.
  2. Measure the resistance of the TCC PWM solenoid valve.

Does the resistance measure within the specified values?

10-15 ohms

Go to Step 14

Go to Step 18

13

Measure the resistance between terminal S of the TCC PWM solenoid valve and ground.

Does the resistance measure greater than the specified value?

250 K ohms

Go to Step 16

Go to Step 15

14

Test the automatic transmission wiring harness assembly for an open circuit.

Refer to Circuit Testing and Wiring Repairs in Wiring Systems.

Did you find a condition?

--

Go to Step 19

--

15

  1. Disconnect the automatic transmission wiring harness assembly at the TCC PWM solenoid valve.
  2. Measure the resistance between each of the component terminals and ground.

Do both readings measure greater than the specified value?

250 K ohms

Go to Step 17

Go to Step 18

16

Measure the resistance between terminal S and all other terminals, except terminal A, B, and E of the J 44152 .

Refer to Automatic Transmission Inline Harness Connector End View .

Is the resistance between terminal S and any other terminal, except terminal A, B, and E less than the specified value?

--

Go to Step 17

Go to Intermittent Conditions in Engine Controls - 8.1L

17

Test the automatic transmission wiring harness assembly for a short to ground.

Refer to Circuit Testing and Wiring Repairs in Wiring Systems.

Did you find a condition?

--

Go to Step 19

--

18

Replace the TCC PWM solenoid valve.

Refer to Valve Body and Pressure Switch Replacement .

Did you complete the replacement?

--

Go to Step 20

--

19

Replace the automatic transmission wiring harness assembly.

Refer to Valve Body and Pressure Switch Replacement .

Did you complete the replacement?

--

Go to Step 20

--

20

Perform the following procedure in order to verify the repair:

  1. Select DTC.
  2. Select Clear Info.
  3. Select the parameters, TCC Duty Cycle, TCC Duty Cycle Open/Short to GND and TCC Duty Cycle Shorted to Volts.
  4. Operate the vehicle under the following conditions:
  5. • The TCC PWM solenoid valve is commanded ON and TCC Duty Cycle Short to Volts is NO.
    • The TCC PWM solenoid valve is commanded OFF and TCC Duty Cycle Open/Short to GND is NO.
    • Each condition is met for 5 seconds.
  6. Select Specific DTC.
  7. Enter DTC P1860.

Has the test run and passed?

--

System OK

Go to Step 1

DTC P1860 Diesel


Object Number: 664589  Size: MF
Master Electrical Component List
Automatic Transmission Controls Schematics L65
OBD II Symbol Description Notice

Circuit Description

The torque converter clutch pulse width modulation (TCC PWM) solenoid valve controls fluid acting on the converter clutch valve, which then controls TCC apply and release. The TCC PWM solenoid valve attaches to the control valve body within the transmission. Ignition voltage goes directly to the TCC PWM solenoid valve. The powertrain control module (PCM) controls the TCC PWM solenoid valve by providing a ground path. The current flows through the TCC PWM solenoid valve coil according to the duty cycle, percentage of ON and OFF time. The TCC PWM solenoid valve provides a smooth engagement of the torque converter clutch by operating on a duty cycle percent of ON time.

If the PCM detects a continuous open or short to ground in the TCC PWM solenoid valve circuit or the TCC PWM solenoid valve, then DTC P1860 sets. DTC P1860 is a type A DTC.

Conditions for Running the DTC

    • System voltage is 8-18 volts.
    • The engine is running for greater than 7 seconds.
    • Commanded gear is 1st.

Conditions for Setting the DTC

All of the above conditions are met, and either of the following conditions occur for 4.3 seconds out of 5 seconds.

    • The PCM commands the solenoid OFF, and the voltage input remains low, zero volts.
    • The PCM commands the solenoid to ON, 100 percent, and the voltage input remains high, B+.

Action Taken When the DTC Sets

    • The PCM illuminates the malfunction indicator lamp (MIL).
    • The PCM inhibits TCC engagement.
    • The PCM inhibits 4th gear.
    • The PCM freezes shift adapts.
    • The PCM records the operating conditions when the Conditions for Setting the DTC are met. The PCM stores this information as Freeze Frame and Failure Records.
    • The PCM stores DTC P1860 in PCM history.

Conditions for Clearing the MIL/DTC

    • For Federal and California emissions, the PCM turns OFF the MIL during the third consecutive trip in which the diagnostic test runs and passes.
    • A scan tool can clear the MIL/DTC.
    • For Federal and California emissions, the PCM clears the DTC from PCM history if the vehicle completes 40 warm-up cycles without an emission related diagnostic fault occurring.
    • For vehicles equal to or greater than 15,000 lbs GVW, the PCM clears the DTC from PCM history if the vehicle completes 40 warm-up cycles without a non-emission related diagnostic fault occurring.
    • The PCM cancels the DTC default actions when the fault no longer exists and the ignition switch is OFF long enough in order to power down the PCM.

Diagnostic Aids

    • An open in the ignition feed circuit (CKT 1020) can cause multiple DTCs to set.
    • A short to voltage on the TCC PWM solenoid ground circuit can set P0741 and P1870.

Test Description

The numbers below refer to the step numbers on the diagnostic table.

  1. This step tests for voltage to the TCC PWM solenoid valve.

  2. This step tests the ability of the PCM and wiring to control the TCC PWM solenoid valve ground circuit.

  3. This step tests the resistance of the TCC PWM solenoid valve and the automatic transmission wiring harness assembly.

  4. If the automatic transmission wiring harness assembly is open, do not repair the wiring harness. You must replace the automatic transmission wiring harness assembly.

P1860

Step

Action

Value(s)

Yes

No

1

Did you perform the Powertrain Diagnostic System Check?

--

Go to Step 2

Go to Diagnostic System Check - Engine Controls in Engine Controls - 6.5L

2

  1. Install a scan tool.
  2. Turn ON the ignition, with the engine OFF.
  3. Important: Before clearing the DTC, use the scan tool in order to record the Freeze Frame and Failure Records. Using the Clear Info function erases the Freeze Frame and Failure Records from the PCM.

  4. Record the DTC Freeze Frame and Failure Records.
  5. Clear the DTC.
  6. If DTCs P0753 or P0758 are also set, inspect the fuse.

Is the fuse open?

--

Go to Step 3

Go to Step 4

3

Inspect the following components for a short to ground:

  1. The Off/Run/Crank voltage circuit (CKT 1020)
  2. The 1-2 shift solenoid
  3. The 2-3 shift solenoid
  4. The TCC PWM solenoid
  5. The automatic transmission wiring harness assembly

Refer to Circuit Testing and Wiring Repairs in Wiring Systems.

Did you find and correct the condition?

--

Go to Step 17

Go to Intermittent Conditions in Engine Controls - 6.5L

4

  1. Turn OFF the ignition.
  2. Disconnect the transmission 20-way connector. Additional DTCs may set.
  3. Install the J 44152 jumper harness (20 pins) on the engine side of the 20-way connector.
  4. Turn ON the ignition, with the engine OFF.
  5. Connect a test lamp from J 44152 cavity E to a good ground.

Does the test lamp illuminate?

--

Go to Step 6

Go to Step 5

5

Repair the open or high resistance in the voltage circuit (CKT 1020) of the TCC PWM solenoid valve between the IP Fuse Block and the AT inline 20-way connector.

Refer to Circuit Testing and Wiring Repairs in Wiring Systems.

Did you complete the repair?

--

Go to Step 17

--

6

  1. Install the test lamp from cavity E to cavity S of the J 44152 .
  2. Use the scan tool output control function in order to command the TCC PWM solenoid valve ON and OFF three times.

Does the test lamp illuminate when you command the TCC PWM solenoid valve ON, and go out when you command the TCC PWM solenoid valve OFF?

--

Go to Step 8

Go to Step 7

7

Test the TCC PWM solenoid valve (CKT 418) of the TCC PWM solenoid valve for an open or short to ground between the PCM connector C3-C5 and the AT inline 20-way connector.

Refer to Circuit Testing and Wiring Repairs in Wiring Systems.

Did you find and correct the condition?

--

Go to Step 17

Go to Step 9

8

  1. Install the J 44152 on the transmission side of the 20-way connector.
  2. Using the DMM and the J 35616 connector test adapter kit, measure the resistance between terminal E and terminal S.

Does the resistance measure within the specified value?

10-15 ohms

Go to Step 11

Go to Step 10

9

Replace the PCM.

Refer to Powertrain Control Module Replacement in Engine Controls - 6.5L.

Did you complete the replacement?

--

Go to Step 17

--

10

  1. Disconnect the automatic transmission wiring harness assembly at the TCC PWM solenoid valve.
  2. Measure the resistance of the TCC PWM solenoid valve.

Does the resistance measure within the specified value?

10-15 ohms

Go to Step 12

Go to Step 15

11

  1. Test the resistance between terminal E and a good ground.
  2. Test the resistance between terminal S and a good ground.

Do both readings measure greater than the specified value?

250 K ohms

Go to Intermittent Conditions in Engine Controls - 6.5L

Go to Step 13

12

Test the automatic transmission wiring harness assembly for an open circuit.

Was an open condition found?

--

Go to Step 16

--

13

  1. Disconnect the automatic transmission wiring harness assembly at the TCC PWM solenoid valve.
  2. Measure the resistance between each of the component terminals and a good ground.

Do both readings measure greater than the specified value?

250 K ohms

Go to Step 14

Go to Step 15

14

Test the automatic transmission wiring harness assembly for a short to ground.

Was a short to ground condition found?

--

Go to Step 16

--

15

Replace the TCC PWM solenoid valve.

Refer to Valve Body and Pressure Switch Replacement .

Did you complete the replacement?

--

Go to Step 17

--

16

Replace the automatic transmission (AT) wiring harness assembly.

Refer to Valve Body and Pressure Switch Replacement .

Did you complete the replacement?

--

Go to Step 17

--

17

Perform the following procedure in order to verify the repair:

  1. Select DTC.
  2. Select Clear Info.
  3. Select the parameters, TCC Duty Cycle, TCC Duty Cycle Open/Shorted to GND and TCC Duty Cycle Shorted to Volts.
  4. Operate the vehicle under the following conditions:
  5. • The TCC PWM Sol. Valve is commanded ON and TCC Duty Cycle Shorted to Volts is No.
    • The TCC PWM Sol. valve is commanded OFF and TCC Duty Cycle Open/Shorted to GND is No.
    • Each condition is met for 5 seconds.
  6. Select Specific DTC.
  7. Enter DTC P1860.

Has the test run and passed?

--

System OK

Go to Step 1