GM Service Manual Online
For 1990-2009 cars only
Makes
🢒
Chevrolet
🢒
2004
🢒
Chevy C Cab/Chassis HD (GMT 400)
🢒
Engine
🢒
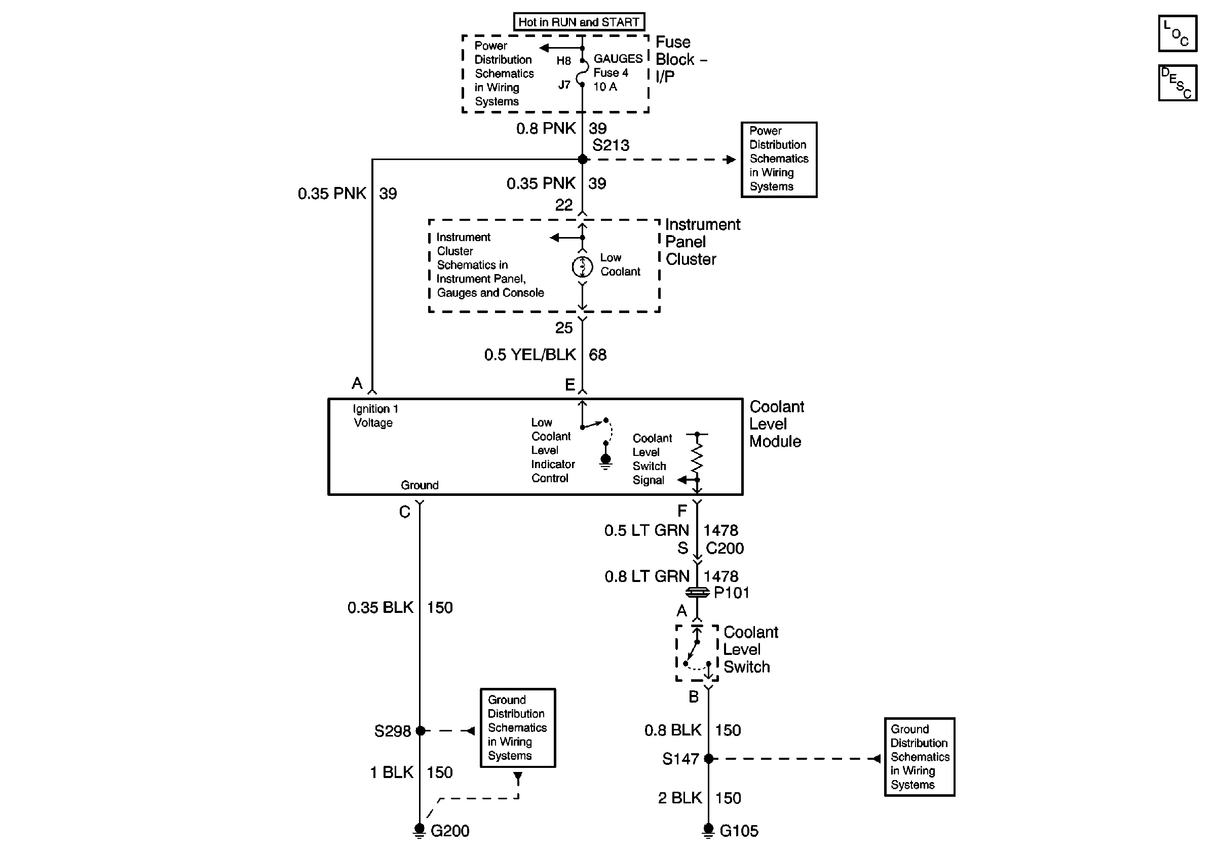
Engine Cooling
🢒 Engine Cooling Schematics
IGN A Fuse and Ignition Switch
G203
Gages Fuse and Turn-B/U Fuse
Master Electrical Component List
Cooling System Description and Operation
G200