GM Service Manual Online
For 1990-2009 cars only
Makes
🢒
Chevrolet
🢒
2004
🢒
Chevy C Cab/Chassis HD (GMT 400)
🢒
Engine
🢒
Engine Controls - 8.1L
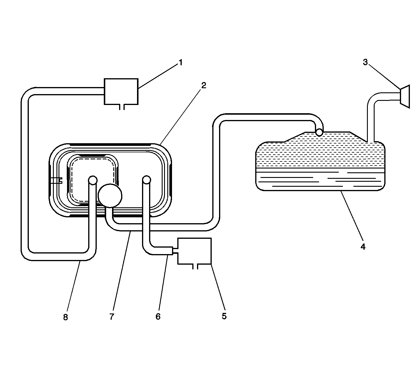
🢒 Evaporative Emissions Hose Routing Diagram
(1)
EVAP Purge Valve
(2)
EVAP Canister
(3)
Fuel Fill Cap/Fill Neck
(4)
Fuel Tank
(5)
EVAP Air Inlet
(6)
EVAP Vent Pipe
(7)
EVAP Vapor Pipe
(8)
EVAP Purge Pipe