GM Service Manual Online
For 1990-2009 cars only

Tools Required

    • J 24319-B Universal Steering Linkage Puller
    • J 29193 Steering Linkage Installer

Removal Procedure

  1. Raise the vehicle. Refer to Lifting and Jacking the Vehicle in General Information.

  2. Object Number: 291260  Size: SH
  3. Loosen the adjuster sleeve retaining nuts and bolts (2).

  4. Object Number: 245391  Size: SH
  5. Remove the nut (8) retaining the connecting rod to the pitman arm.

  6. Object Number: 754763  Size: SH
  7. Using the J 24319-B (2), remove the connecting rod from the pitman arm.
  8. Remove the connecting rod from the adjuster sleeve.

Installation Procedure

  1. Install the connecting rod in the adjuster sleeve.
  2. Install the connecting rod to the pitman arm.
  3. Make sure the seal is on the stud.

    Notice: Use the correct fastener in the correct location. Replacement fasteners must be the correct part number for that application. Fasteners requiring replacement or fasteners requiring the use of thread locking compound or sealant are identified in the service procedure. Do not use paints, lubricants, or corrosion inhibitors on fasteners or fastener joint surfaces unless specified. These coatings affect fastener torque and joint clamping force and may damage the fastener. Use the correct tightening sequence and specifications when installing fasteners in order to avoid damage to parts and systems.


    Object Number: 689037  Size: SH
  4. Use the J 29193 in order to seat the tapers.
  5. Tighten
    Tighten the J 29193 to 62 N·m (48 lb ft).


    Object Number: 245391  Size: SH
  6. Install the nut (8) retaining the connecting rod to the pitman arm.
  7. Tighten
    Tighten the connecting rod retaining nut to 50 N·m (37 lb ft).


    Object Number: 687526  Size: SH
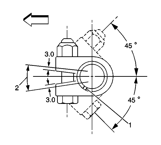
  8. Tighten the adjuster sleeve retaining bolts.
  9. Make sure the slot in the sleeve (1) is not positioned within the clamp opening.

    Tighten
    Tighten the adjuster sleeve retaining bolts to 104 N·m (77 lb ft).

  10. Lower the vehicle.
  11. Align the vehicle. Refer to Wheel Alignment Measurement .