GM Service Manual Online
For 1990-2009 cars only
Makes
🢒
Chevrolet
🢒
2004
🢒
Chevy C Cab/Chassis HD (GMT 400)
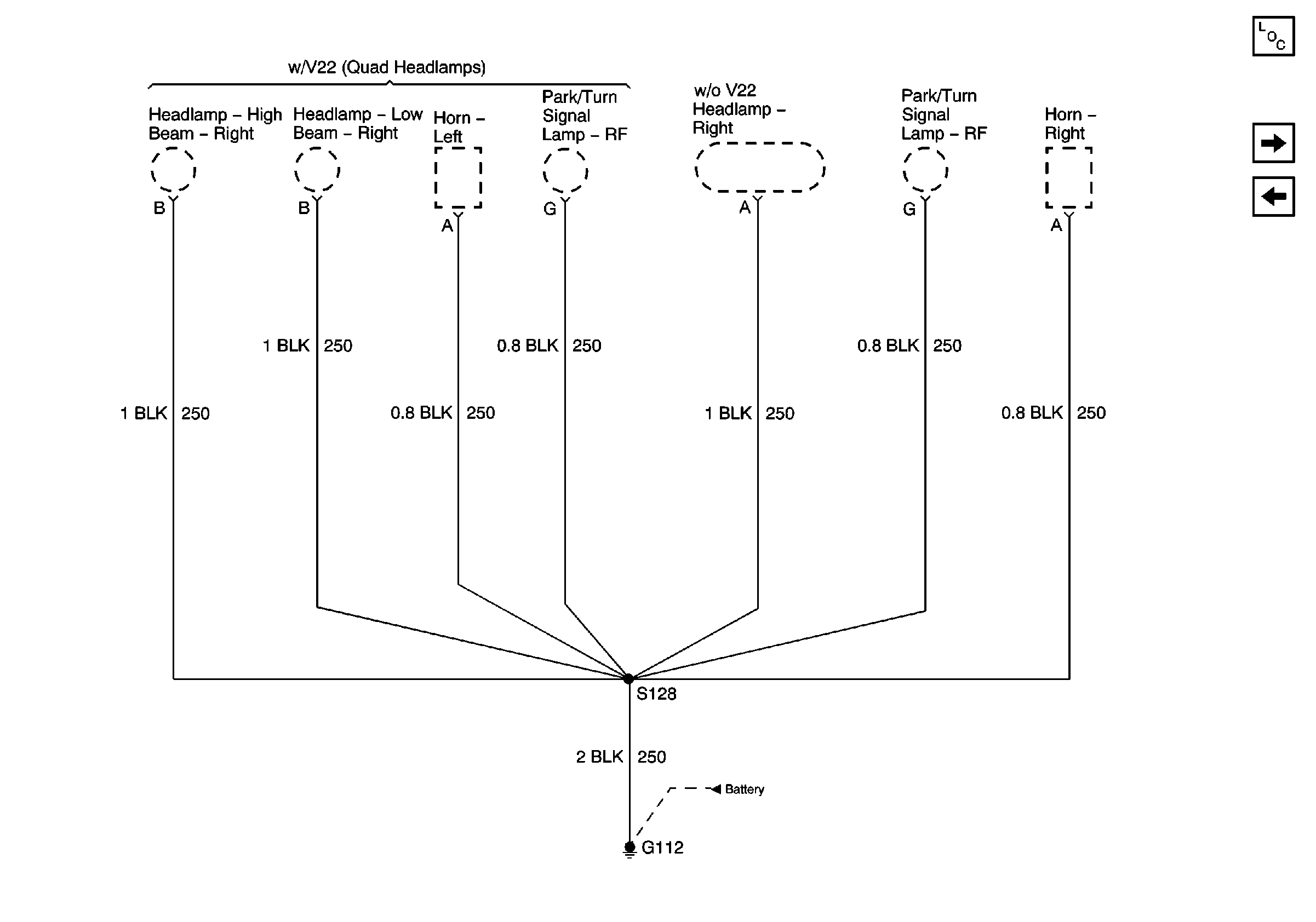
🢒 G112, Lights, Right Side
G112, Lights, Right Side
G112, Lights, Right Side
Master Electrical Component List
G113, Lights, Left Side
G102, G103, G110, G111, G112 (Battery) and G115
G102, G103, G110, G111, G112 (Battery) and G115