GM Service Manual Online
For 1990-2009 cars only
Makes
🢒
Chevrolet
🢒
2004
🢒
Chevy C Cab/Chassis HD (GMT 400)
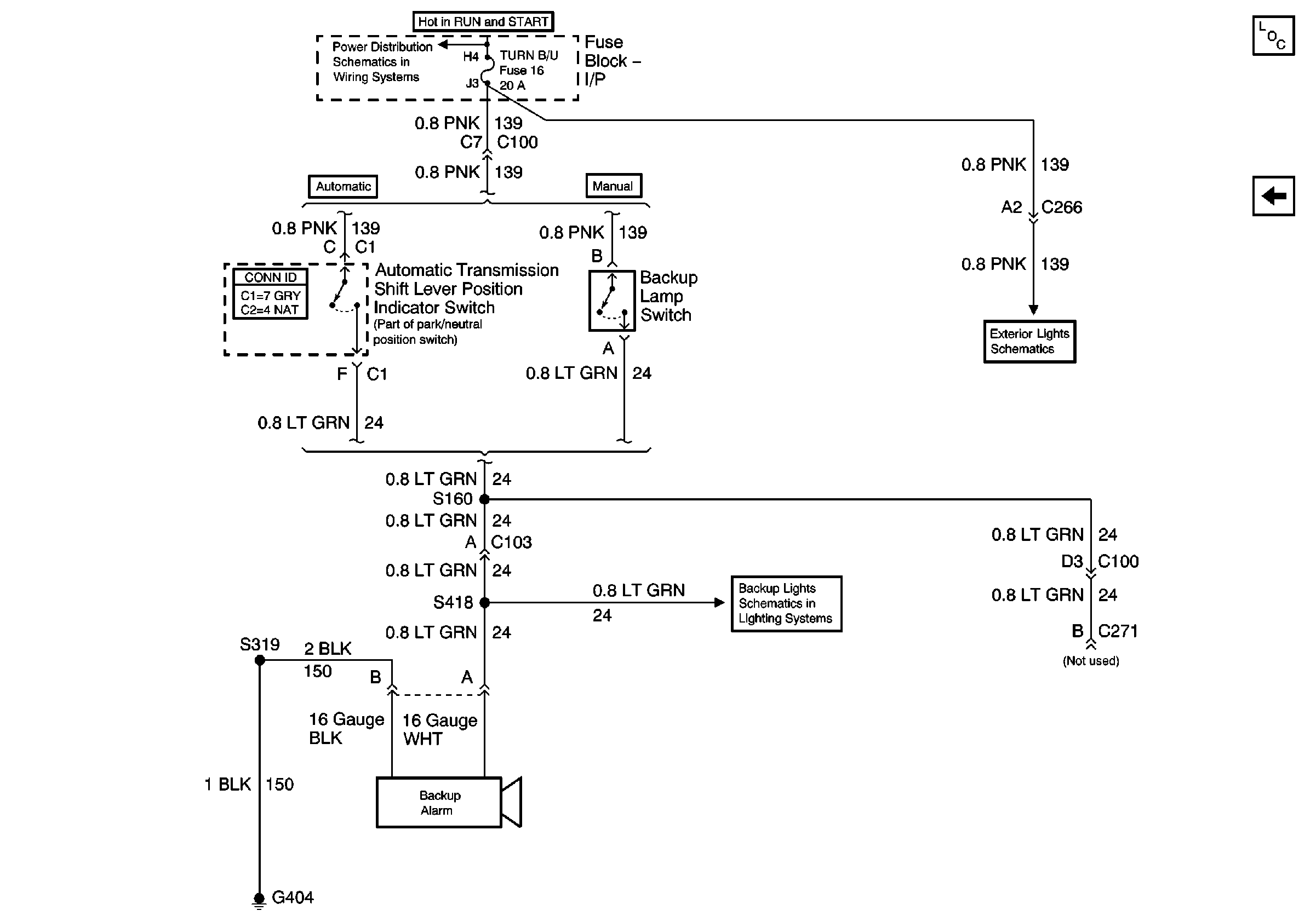
🢒 Back Up Alarm Circuit
Back Up Alarm Circuit
Back Up Alarm Circuit
Master Electrical Component List
Audiable Waring Schematics
IGN A Fuse and Ignition Switch
Stop and Turn/Hazard Lamps Control
Backup Lamps Circuits