GM Service Manual Online
For 1990-2009 cars only
Makes
🢒
Chevrolet
🢒
2004
🢒
Chevy C Cab/Chassis HD (GMT 400)
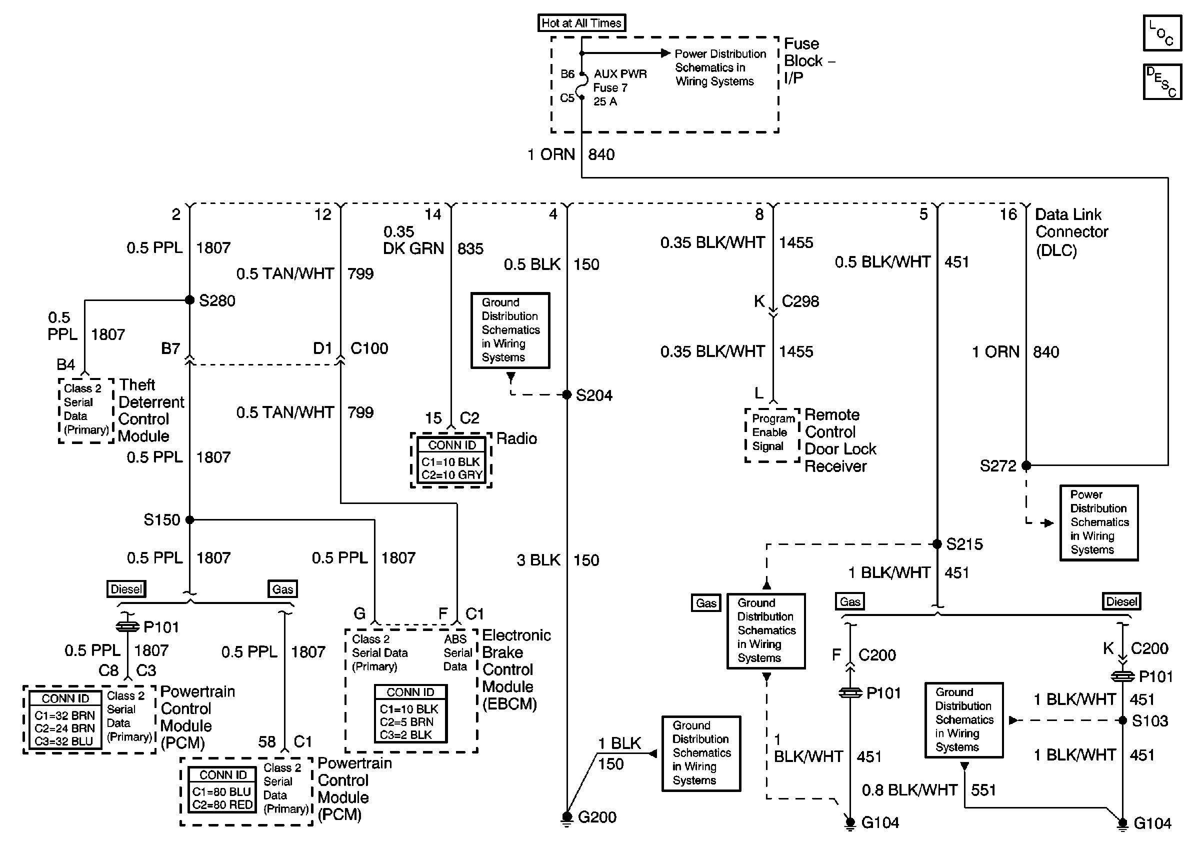
🢒 Data Link Connector (DLC) Schematics
Data Link Connector (DLC) Schematics
Lighting and Battery Fuses
Master Electrical Component List
Data Link Communications Description and Operation
Stop/Haz, Radio Batt, Aux Pwr, and Cig Ltr Fuses
G104, L18, 1 of 2, All Except HO2S Circuit
G200
G200