GM Service Manual Online
For 1990-2009 cars only
Makes
🢒
Chevrolet
🢒
2005
🢒
Chevy C Cab/Chassis HD (GMT 400)
🢒
Engine
🢒
Engine Mechanical - 8.1L
🢒 Disassembled Views
Figure
1:
Engine Flywheel
(100)
Engine Block
(110)
Cover Bolt
(111)
Cover
(112)
Transmission Housing - Automatic Transmission
(113)
Transmission Housing Bolt
(114)
Flywheel - Automatic Transmission
(115)
Flywheel Bolt
(126)
Crankshaft Rear Oil Seal
(138)
Bushing
(139)
Flywheel - Manual Transmission
(140)
Pressure Plate Locating Pin
(141)
Clutch Disc
(142)
Pressure Plate
(143)
Pressure Plate Bolt
(144)
Manual Transmission Adapter Plate
Figure
2:
Cylinder Head/Upper Engine
(209)
Valve Lifter
(210)
Valve Lifter Guide
(211)
Valve Lifter Retainer
(212)
Valve Lifter Retainer Bolt
(213)
Cylinder Head Locating Pin
(214)
Cylinder Head Gasket
(215)
Cylinder Head
(216)
Valve Rotator
(217)
Valve Stem Oil Seal
(218)
Valve Spring
(219)
Valve Spring Cap
(220)
Valve Stem Keys
(221)
Pushrod
(222)
Rocker Arm Nut
(223)
Rocker Arm Ball
(224)
Rocker Arm
(225)
Rocker Arm Bolt/Stud
(226)
Pushrod Guide
(227)
Cylinder Head Bolt - Long
(228)
Cylinder Head Bolt - Medium
(229)
Cylinder Head Bolt - Short
(230)
Cylinder Head Coolant Plug
(232)
Valve
(517)
Valve Cover Gasket
(518)
Valve Cover Bolt Grommet
(519)
Valve Cover Bolt
(520)
Valve Cover
(600)
Exhaust Manifold
(601)
Exhaust Manifold Heat Shield
(602)
Exhaust Manifold Nut
(602)
Exhaust Manifold Nut
(603)
Exhaust Manifold Heat Shield Bolt
(604)
Exhaust Manifold Bolt
(605)
Exhaust Manifold Gasket
(606)
Exhaust Manifold Stud
(705)
Ignition Coil Wire Harness
(706)
Ignition Coil Wire Harness Bolt
(707)
Ignition Coil Bolt
(708)
Ignition Coil
(709)
Spark Plug Wire
(710)
Spark Plug
(711)
Engine Coolant Temperature (ECT) Sensor
(712)
ECT Sensor Bracket
(713)
ECT Sensor Bracket Bolt
Figure
3:
Intake Manifold/Upper Engine
(412)
Splash Shield
(415)
Oil Fill Tube O-Ring
(416)
Oil Fill Tube
(417)
Oil Fill Cap O-Ring
(418)
Oil Fill Cap
(419)
Oil Fill Tube Bolt
(500)
Intake Manifold
(501)
Throttle Body Gasket
(502)
Throttle Body
(503)
Throttle Body Nut
(504)
Throttle Body Stud
(505)
Intake Manifold Bolt
(506)
Fuel Rail with Injectors
(507)
Fuel Rail Bolt/Stud
(508)
Intake Manifold Plug
(509)
EGR Cover Nut
(510)
EGR Cover
(511)
EGR Cover Gasket
(512)
EGR Cover Stud
(514)
Fuel Regulator Vacuum Hose
(515)
Intake Gasket - End Seal
(516)
Intake Gasket - Side
(700)
EVAP Valve Bolt
(701)
MAP Sensor
(702)
EVAP Valve
(703)
EVAP Valve O-Ring
(704)
EVAP Tube
(729)
MAP Sensor Grommet
(730)
MAP Sensor Bolt
Figure
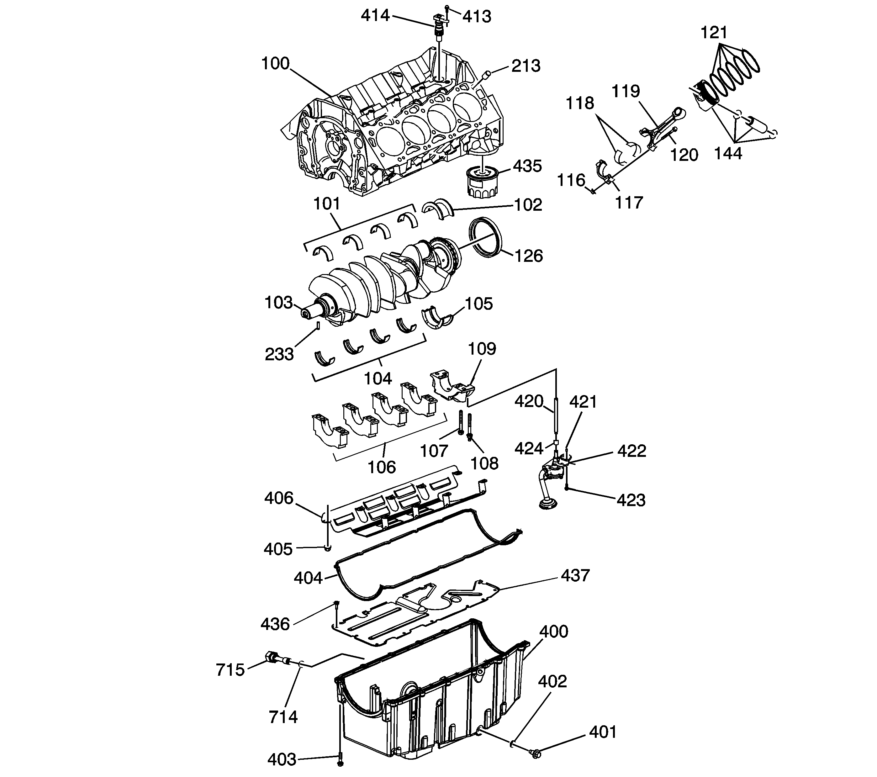
4:
Lower Engine Assembly
(100)
Engine Block
(101)
Crankshaft Main Bearing - Upper
(102)
Crankshaft Thrust Bearing - Upper
(103)
Crankshaft
(104)
Crankshaft Main Bearing - Lower
(105)
Crankshaft Thrust Bearing - Lower
(106)
Crankshaft Bearing Cap
(107)
Crankshaft Bearing Cap Bolt
(108)
Crankshaft Bearing Cap Stud
(109)
Crankshaft Bearing Cap - Thrust
(116)
Connecting Rod Nut
(117)
Connecting Rod Cap
(118)
Connecting Rod Bearings
(119)
Connecting Rod
(120)
Connecting Rod Bolt
(121)
Piston Rings
(126)
Crankshaft Rear Oil Seal
(144)
Piston, Pin, and Retainers
(213)
Cylinder Head Locating Pin
(233)
Crankshaft Sprocket Locating Pin
(400)
Oil Pan
(401)
Oil Pan Drain Plug
(402)
Oil Pan Drain Plug O-ring
(403)
Oil Pan Bolt
(404)
Oil Pan Gasket
(405)
Crankshaft Oil Deflector Nut
(406)
Crankshaft Oil Deflector
(413)
Oil Pump Drive Bolt
(414)
Oil Pump Drive
(420)
Oil Pump Driveshaft
(421)
Oil Pump Locating Pin
(422)
Oil Pump
(423)
Oil Pump Bolt
(424)
Oil Pump Driveshaft Retainer
(435)
Oil Filter
(436)
Oil Pan Baffle Bolt
(437)
Oil Pan Baffle
(714)
Oil Level Sensor O-ring
(715)
Oil Level Sensor
Figure
5:
Front of Engine
(100)
Engine Block
(122)
Crankshaft Balancer
(123)
Crankshaft Balancer Bolt Washer
(124)
Crankshaft Balancer Bolt
(125)
Crankshaft Front Oil Seal
(129)
Front Cover Locating Pin
(200)
Timing Chain
(201)
Camshaft Sprocket Bolt
(202)
Camshaft Sprocket
(203)
Crankshaft Sprocket
(204)
Camshaft Retainer Bolt
(205)
Camshaft Retainer
(206)
Camshaft Sprocket Locating Pin
(207)
Camshaft
(208)
Camshaft Bearings
(300)
Water Pump
(301)
Water Pump Bolt
(302)
Water Pump Pulley Bolt
(303)
Water Pump Pulley
(304)
Water Pump Bypass Hose Clamp
(305)
Water Pump Bypass Hose
(306)
Water Pump Bypass Hose Clamp
(308)
Water Crossover
(309)
Thermostat O-ring
(310)
Thermostat Housing Bolt/Stud
(311)
Thermostat Housing
(312)
Thermostat
(313)
Water Crossover Gasket
(314)
Water Pump Gasket
(407)
Oil Level Indicator Tube
(408)
Oil Level Indicator Tube Bolt
(409)
Oil Level Indicator
(410)
Oil Level Indicator O-ring
(411)
Oil Level Indicator Tube O-ring
(521)
Front Cover Bolt
(522)
Front Cover
(523)
Front Cover Gasket
(716)
Camshaft Position Sensor Bolt
(717)
Camshaft Position Sensor
(718)
Camshaft Position Sensor O-ring
Figure
6:
Engine Block Plugs/Sensors
(127)
Oil Gallery Plug - Top
(127)
Oil Gallery Plug - Top
(128)
Oil Gallery Plug - Front
(128)
Oil Gallery Plug - Front
(129)
Front Cover Locating Pin
(129)
Front Cover Locating Pin
(130)
Coolant Drain Plug
(130)
Coolant Drain Plug
(131)
Oil Gallery Plug - Side
(131)
Oil Gallery Plug - Side
(132)
Oil Gallery Plug - Left Side Rear
(132)
Oil Gallery Plug - Left Side Rear
(133)
Oil Gallery Plug - Rear
(134)
Oil Gallery Plug - Rear
(135)
Camshaft Hole Plug
(136)
Oil Gallery Plug - Rear
(425)
Oil Filter Bypass Valve
(426)
Oil Cooler Fitting
(434)
Oil Filter Fitting
(719)
Knock Sensor
(719)
Knock Sensor
(720)
Knock Sensor Heat Shield - Right
(721)
Knock Sensor Heat Shield Bolt
(724)
Block Coolant Heater
(725)
Crankshaft Position Sensor O-ring
(726)
Crankshaft Position Sensor
(727)
Crankshaft Position Sensor Bolt
(728)
Oil Pressure Sensor
Figure
7:
Oil Pump Assembly
(422)
Oil Pump with Pickup Screen
(427)
Drive Gear
(428)
Driven Gear
(429)
Oil Pump Cover
(430)
Oil Pump Cover Bolt
(431)
Pressure Relief Valve Spring Pin
(432)
Pressure Relief Valve
(433)
Pressure Relief Valve Spring