GM Service Manual Online
For 1990-2009 cars only
Makes
🢒
Chevrolet
🢒
2005
🢒
Chevy C Cab/Chassis HD (GMT 400)
🢒
Body
🢒
Wipers/Washer Systems
🢒 Wiper/Washer Component Views
Figure
1:
Steering Column Switches
(1)
Steering Wheel
(2)
Cruise ON/OFF/Resume/Accelerate Switch
(3)
Steering Column
(4)
Cruise Control SET/Coast Switch
(5)
Windshield Wiper Switch
(6)
Windshield Washer Switch
(7)
Hazard Warning Switch
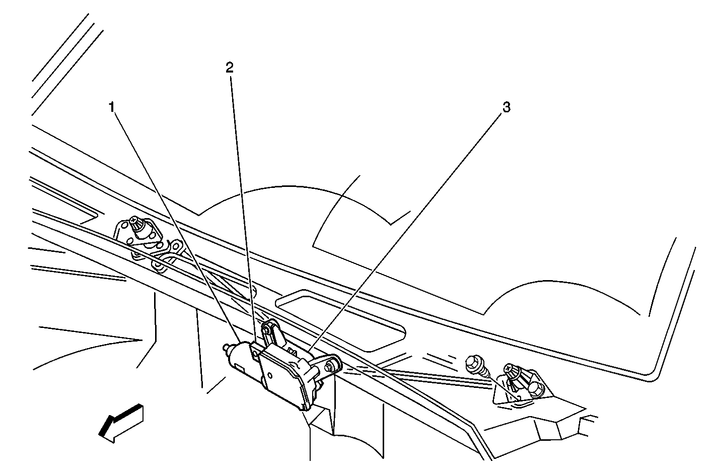
Figure
2:
Windshield Wiper Motor Module
(1)
Windshield Wiper Motor
(2)
Wiper Motor Module Connector
(3)
Wiper Motor Module
Figure
3:
Windshield Washer Fluid Pump and Connectors
(1)
Forward Lamps Harness
(2)
Connector C116
(3)
Windshield Washer Fluid Pump Harness
(4)
Windshield Washer Fluid Pump
(5)
Windshield Washer Reservoir Filler
(6)
Left Side Battery, if equipped