GM Service Manual Online
For 1990-2009 cars only
Figure 1:

G102 and Generator Wiring - L18


Object Number: 712947  Size: MF
(1)Generator
(2)Battery Negative Cable to Ground G102
(3)Generator Connector
Figure 2:

Engine Oil Pressure (EOP) Sensor, G104, and G105


Object Number: 1455121  Size: MF
(1)Engine Oil Pressure (EOP) Sensor
(2)Engine Oil Pressure (EOP) Sensor Connector
(3)Ground G104
(4)Ground G105
(5)Engine Harness
Figure 3:

G112 and Forward Lamps Harness - Right Side, Base Headlamps


Object Number: 675756  Size: MF
(1)G112
(2)Right Side Horn
(3)Left Side Horn
(4)Forward Lamp Harness
(5)Park/Turn Signal Lamps - RF
(6)Opening in Radiator Support
(7)Headlamp Connector
(8)Right Front Fender
Figure 4:

G113 and Auxiliary Battery Connections


Object Number: 712946  Size: MF
(1)Fuse Block - Underhood
(2)Forward Lamps Harness
(3)Auxiliary Battery
(4)Auxiliary Battery Negative Wire
(5)Forward Lamps Harness Ground Wire-Left Side
(6)Radiator Support
(7)Ground G113
(8)ABS Module Mounting Bracket
(9)Auxiliary Battery Negative Wire
(10)Auxiliary Battery Positive Wire
Figure 5:

C291, G200, and Conveience Center C2 and C3


Object Number: 701268  Size: MF
(1)IP-Left End
(2)Harness to Auxiliary Lighting Switch
(3)Convenience Center Connector C3
(4)Convenience Center Connector C2
(5)G200
(6)Convenience Center
(7)C291
(8)Auxiliary Lighting Switch Harness
Figure 6:

G202, G203, C203, C230, and HVAC Blower


Object Number: 699664  Size: MF
(1)High Speed Blower Motor Relay
(2)G203 - 2 wires
(3)G202 - 1 wire
(4)HVAC Module
(5)C230
(6)Blower Motor Connector
(7)Engine Harness
(8)C203
(9)Blower Motor Resistor Assembly
Figure 7:

G401, C409, and Tail Lamps


Object Number: 693036  Size: MF
(1)G401
(2)C409
(3)Tail Lamps Extension Harness
(4)Tail and Stop Lamps Harness
(5)Right Side Frame Rail
(6)Right Side Tail Lamp Connector
(7)Left Side Tail Lamp Connector
(8)License Plate Mounting Bracket
(9)Tail/Stop and Turn Signal Lamp - Left
(10)Backup Lamp - Left
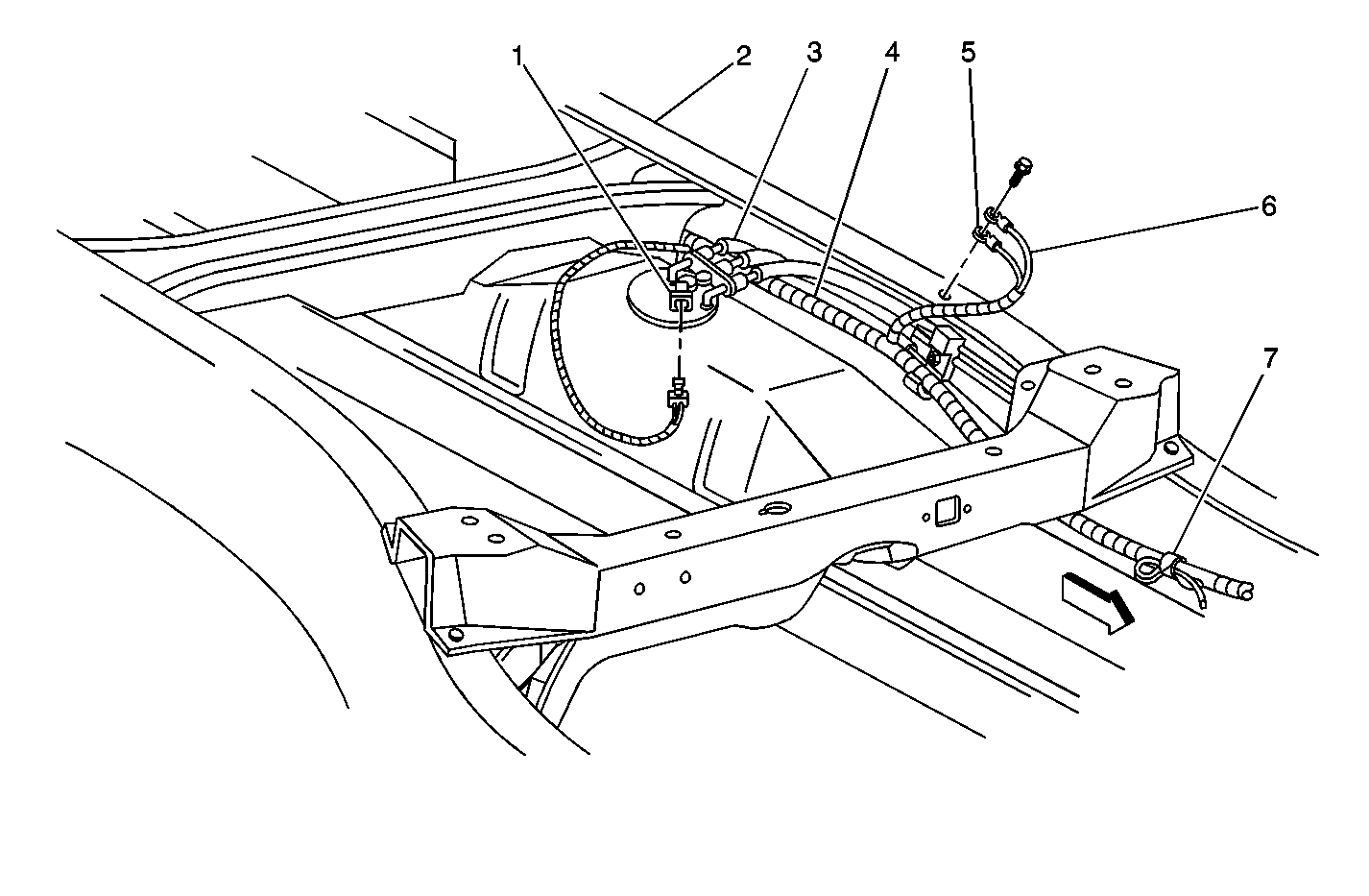
Figure 8:

Fuel Tank and G404


Object Number: 705230  Size: MF
(1)Fuel Pump and Sender Assembly
(2)Ground G404
(3)Fuel Tank
(4)Fuel Pump and Sender Assembly Connector
(5)Tail Lamps Extension Harness
Figure 9:

Auxiliary Lighting Switch-5G4, 5X7, 5Y0


Object Number: 700165  Size: MF
(1)Instrument Panel
(2)Auxiliary Lighting Switch Connector
(3)Auxiliary Lighting Switch Retainer
(4)Instrument Panel Bezel
(5)Auxiliary Lighting Switch
(6)Headlamp Switch
(7)Auxiliary Lighting Switch Harness
Figure 10:

Pass-Through Harness-5G4


Object Number: 700161  Size: MF
(1)Auxiliary Power Stud
(2)Underhood Fuse Block
(3)Electronic Brake Control Module
(4)5G4 Pass-through Harness
(5)Engine Harness
(6)P102
(7)C290
(8)IP Harness
(9)Auxiliary Power Stud
Figure 11:

Roof Lamps Harness Wiring-5G4


Object Number: 700162  Size: MF
(1)IP Left End
(2)5G4 Harness to Auxiliary Lighting Switch
(3)Convenience Center C3
(4)Convenience Center C2
(5)Roof Lighting Harness
(6)G200
(7)Convenience Center
(8)C290
(9)C238
Figure 12:

Roof Wiring-5G4


Object Number: 700167  Size: MF
(1)Wires for Upfitter Use
(2)Convenience Center
(3)Roof Lighting Harness
Figure 13:

Auxiliary Lighting Switch Wiring-5X5, 5Y0


Object Number: 701268  Size: MF
(1)Instrument Panel Left End
(2)Harness to Auxiliary Lighting Switch Connector
(3)Convenience Center C3
(4)Convenience Center C2
(5)G200
(6)Convenience Center
(7)C291
(8)Auxiliary Lighting Switch Harness
Figure 14:

Pass-Through Harness-5X7


Object Number: 701265  Size: MF
(1)5X7 Pass-through Harness
(2)Fused Jumper
(3)Battery Stud
(4)Underhood Fuse Block
(5)Engine Harness
(6)P102
(7)C291
(8)Convenience Center
(9)IP Harness
(10)Relay
Figure 15:

Pass-Through Harness-5Y0


Object Number: 701261  Size: MF
(1)Auxiliary Lighting Relay
(2)Underhood Fuse Block
(3)5Y0 Pass-through Harness
(4)C180
(5)Engine Harness
(6)P102
(7)C291
(8)Convenience Center
(9)IP Harness
(10)Auxiliary Power Stud
Figure 16:

Upfitter Wiring-5Y0


Object Number: 719426  Size: MF
(1)Fuel Pump and Sender
(2)Left Side Frame Rail
(3)Fuel Pipes
(4)Rear Lamps Extension Harenss
(5)G404-5Y0
(6)G404
(7)Upfitter Emergency Lighting Wires-5Y0
Figure 17:

C109 and Battery Cables-9L4


Object Number: 699506  Size: MF
(1)Battery Positive Lug for Fuse Block
(2)Auxiliary Power Fuses
(3)Primary Battery
(4)Negative Battery Cable to Engine Ground
(5)Positive Battery Cable to Starter
(6)C109
Figure 18:

C109, C235, and Pass-Through Harness-9L4, and P102


Object Number: 699512  Size: MF
(1)Underhood Fuse Block
(2)Battery Positive Cables
(3)Electronic Brake Control Module (EBCM)
(4)Engine Harness
(5)P102
(6)C235
(7)Pass-through Harness
(8)Convenience Center
(9)IP Harness
(10)C109
Figure 19:

Auxiliary Power IP Wiring-9L4


Object Number: 699517  Size: MF
(1)IP Cluster Lower Compartment
(2)Auxiliary Power and Ground Wires for Upfitter
(3)IP Harness
(4)Auxiliary Power Supply Harness
(5)C235
(6)Convenience Center
(7)P102
(8)Convenience Center C5
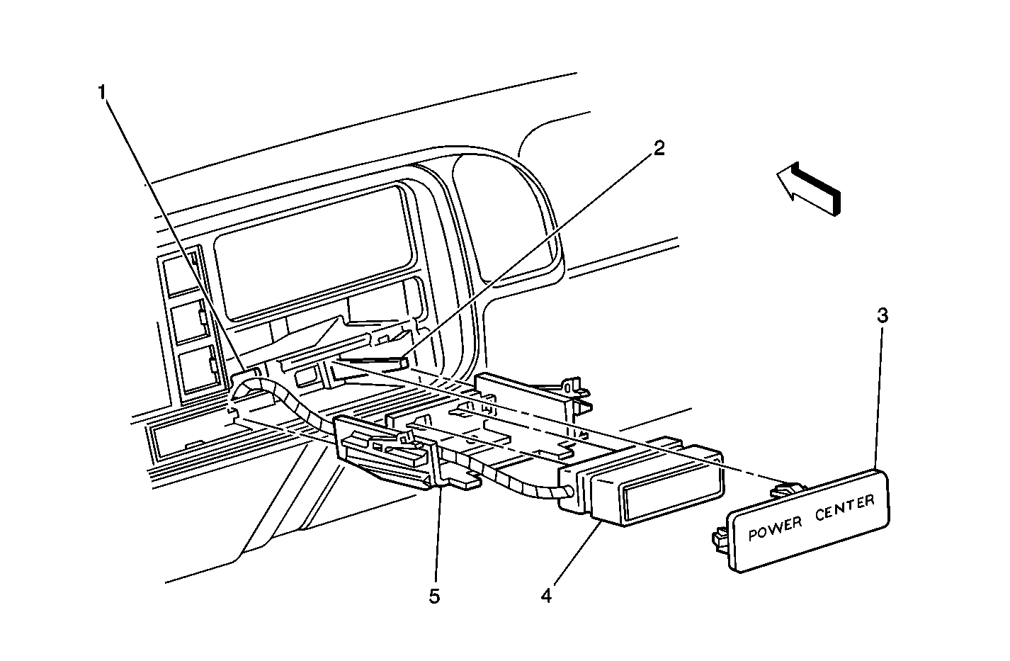
Figure 20:

Auxiliary Power Fuse Block Mounting-9L4


Object Number: 699520  Size: MF
(1)Opening for Auxiliary Power Harness
(2)IP Cluster Lower Compartment
(3)Cover Plate
(4)Auxiliary Power Fuse and Relay Block
(5)Fuse and Relay Block Mounting Bracket