GM Service Manual Online
For 1990-2009 cars only

Removal Procedure


    Object Number: 647997  Size: SH
  1. Raise and support the vehicle. Refer to Lifting and Jacking the Vehicle in General Information.
  2. Support the transmission with a transmission jack.
  3. Remove the 2 nuts securing the transmission mount to the transmission support.
  4. Raise the rear of the transmission.

  5. Object Number: 767351  Size: SH
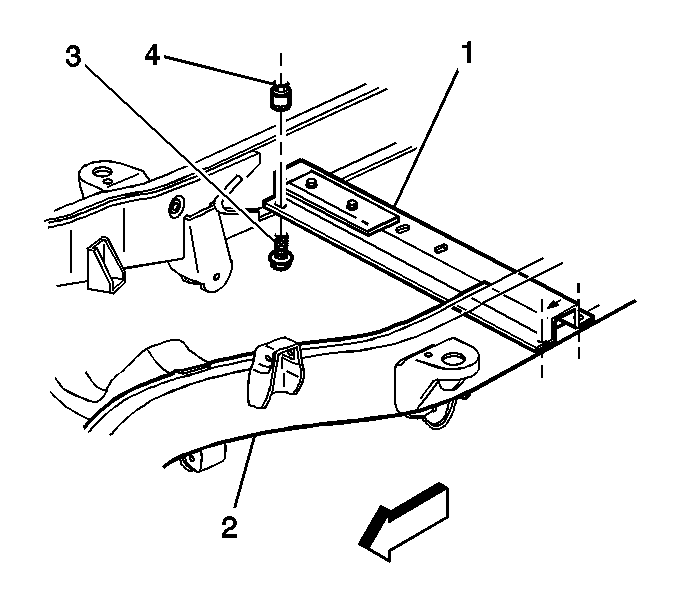
  6. Remove the transmission support nuts (4) and bolts (3).
  7. Remove the transmission support from the vehicle.

Installation Procedure


    Object Number: 767351  Size: SH
  1. Install the transmission support (1) to the vehicle.
  2. Notice: Use the correct fastener in the correct location. Replacement fasteners must be the correct part number for that application. Fasteners requiring replacement or fasteners requiring the use of thread locking compound or sealant are identified in the service procedure. Do not use paints, lubricants, or corrosion inhibitors on fasteners or fastener joint surfaces unless specified. These coatings affect fastener torque and joint clamping force and may damage the fastener. Use the correct tightening sequence and specifications when installing fasteners in order to avoid damage to parts and systems.

  3. Install the transmission support nuts and bolts.
  4. Tighten
    Tighten the nuts and bolts to 65 N·m (48 lb ft).


    Object Number: 647997  Size: SH
  5. Install the 2 nuts securing the transmission mount to the transmission support.
  6. Tighten
    Tighten the nuts to 40 N·m (30 lb ft).

  7. Remove the transmission jack.
  8. Lower the vehicle.