GM Service Manual Online
For 1990-2009 cars only
Makes
🢒
Chevrolet
🢒
2005
🢒
Chevy C Cab/Chassis HD (GMT 400)
🢒
Transmission/Transaxle
🢒
Automatic Transmission - 4L80-E/4L85-E
🢒 Automatic Transmission Controls Schematics
Automatic Transmission Controls Schematics L18
Figure
1:
L18 TCC/Stoplamp Switch and Shift Solenoids
ABS, Blower, Stop-Haz, and IGN B Fuses, and Igntion Switch
Brake, Curise, SEO TP-2, and Htr-Fuses
IGN A Fuse and Ignition Switch
Pwr Wdos Circuit Breaker, Wiper, Radio, Clock, and Trans Fuses
Master Electrical Component List
Electronic Component Description
L18 Internal Switches, TFT, PC Solenoid Valve, and Shaft Speed Sensors
OBD II Symbol Description Notice
EBCM Stop Lamp Switch and Wheel Speed Inputs
Figure
2:
L18 Internal Switches, TFT, PC Solenoid Valve, and Shaft Speed Sensors
Master Electrical Component List
Electronic Component Description
L18 TCC/Stoplamp Switch and Shift Solenoids
OBD II Symbol Description Notice
G105, L18, 1 of 2, All Except Ignition Coils
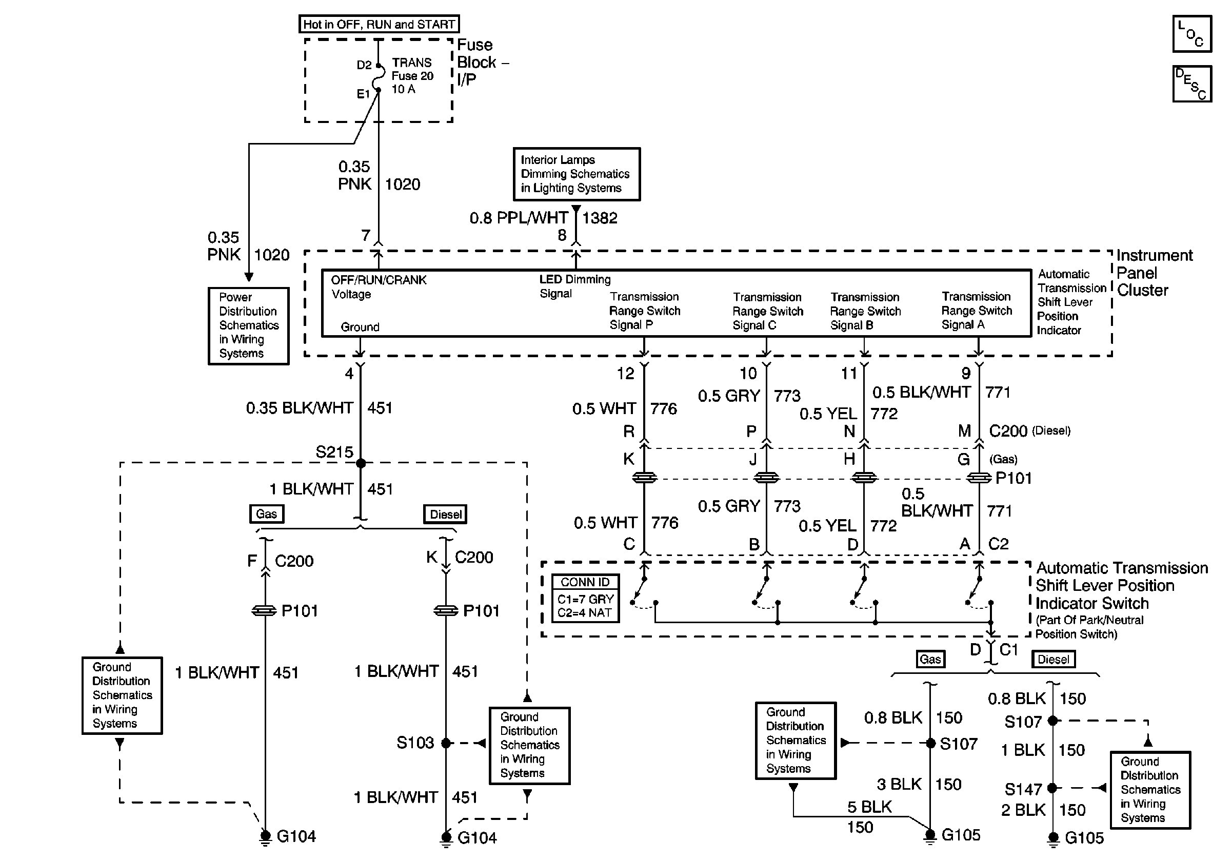
Automatic Transmission Controls Schematics Transmission Range Display Circuit
Transmission Range Display Circuit
Master Electrical Component List
Electronic Component Description
IGN A Fuse and Ignition Switch
Pwr Wdos Circuit Breaker, Wiper, Radio, Clock, and Trans Fuses
Interior Dimming Schematics
G105, L18, 1 of 2, All Except Ignition Coils
G104, L18, 1 of 2, All Except HO2S Circuit