GM Service Manual Online
For 1990-2009 cars only
Makes
🢒
Chevrolet
🢒
2005
🢒
Chevy C Cab/Chassis HD (GMT 400)
🢒
Restraints
🢒
Seat Belts
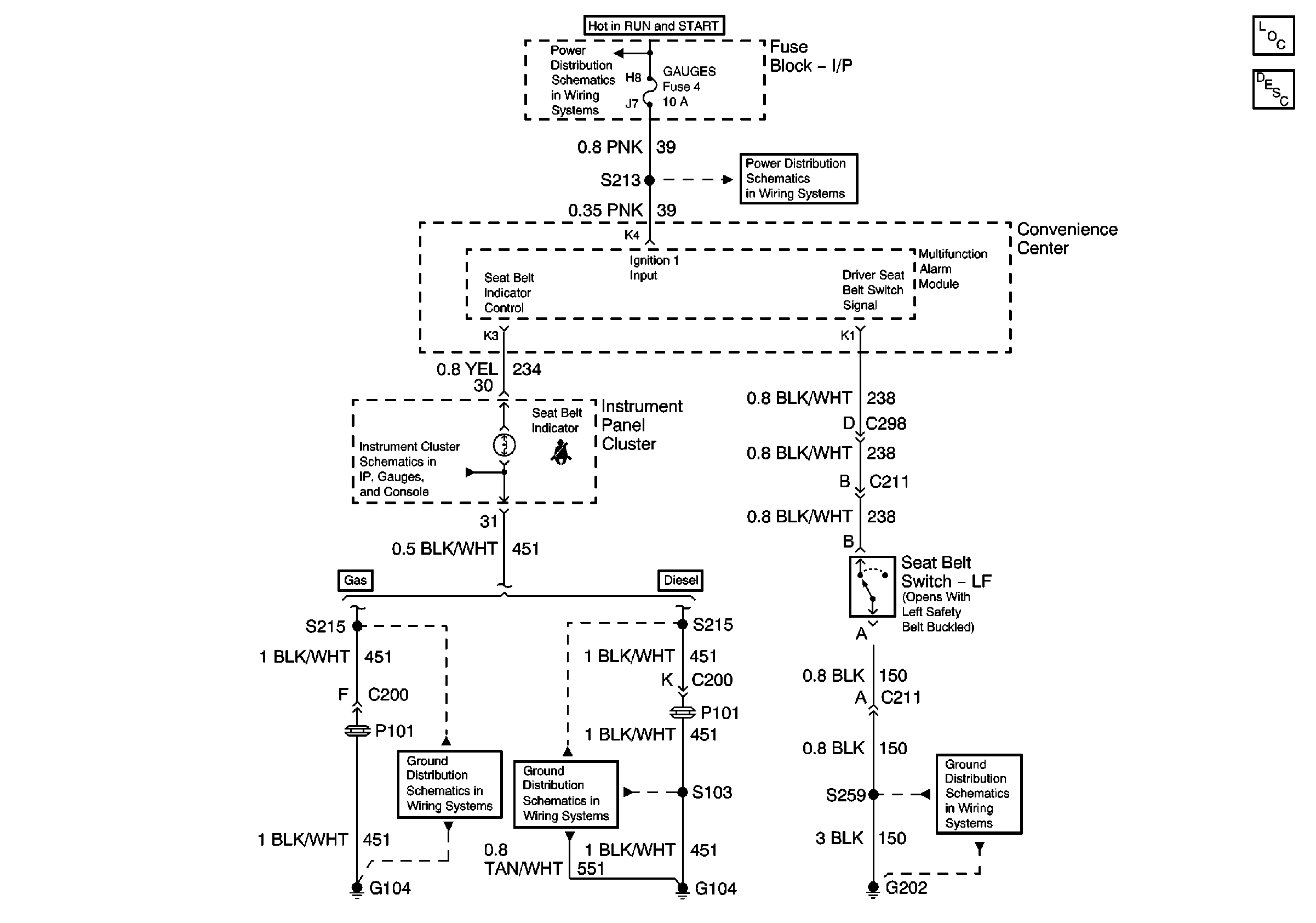
🢒 Seat Belt Schematics
Master Electrical Component List
Seat Belt System Description and Operation
IGN A Fuse and Ignition Switch
Gages Fuse and Turn-B/U Fuse
G202
G104, L18, 1 of 2, All Except HO2S Circuit
G203