GM Service Manual Online
For 1990-2009 cars only
Makes
🢒
Chevrolet
🢒
2005
🢒
Chevy C Cab/Chassis HD (GMT 400)
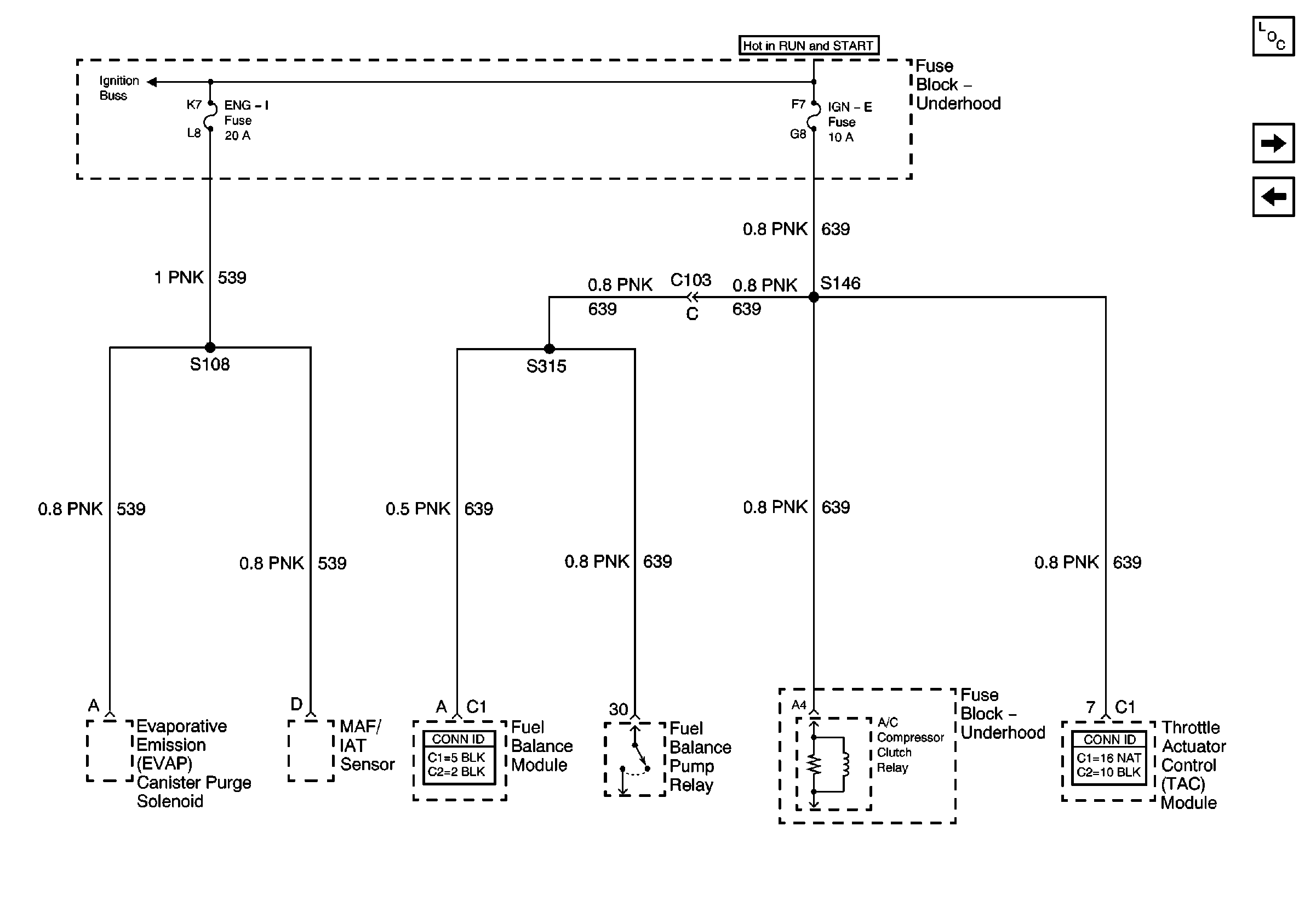
🢒 IGN-E and ENG I Fuses - Gas
IGN-E and ENG I Fuses - Gas
ENG I and IGN-E Fuse -- L18
IGN A Fuse and Ignition Switch
Master Electrical Component List
IGN-E Fuse - Diesel
PTO Fuse and Pwr Accy Circuit Breaker