GM Service Manual Online
For 1990-2009 cars only
Makes
🢒
Chevrolet
🢒
2005
🢒
Chevy C Cab/Chassis HD (GMT 400)
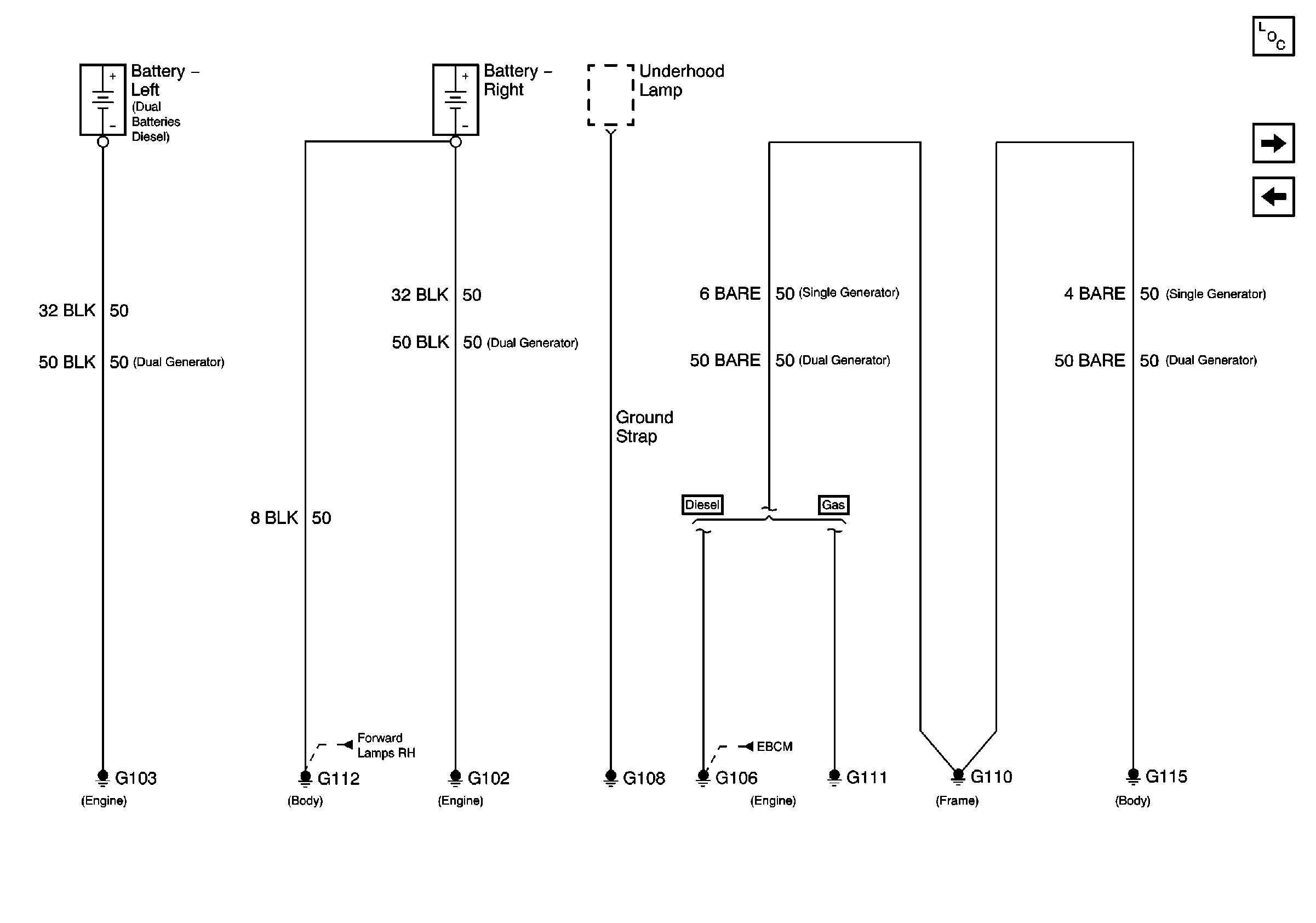
🢒 G102, G103, G106 (L65), G110, G111, G112 (Battery), and G115
G102, G103, G106 (L65), G110, G111, G112 (Battery), and G115
G102, G103, G106 (L65, Frame), G110, G111, G112 (Battery), and G115
Master Electrical Component List
G112 (Lights, Right Side)
G105 and G106 (L65)
G112 (Lights, Right Side)
G105 and G106 (L65)