GM Service Manual Online
For 1990-2009 cars only
Makes
🢒
Chevrolet
🢒
2005
🢒
Chevy C Cab/Chassis HD (GMT 400)
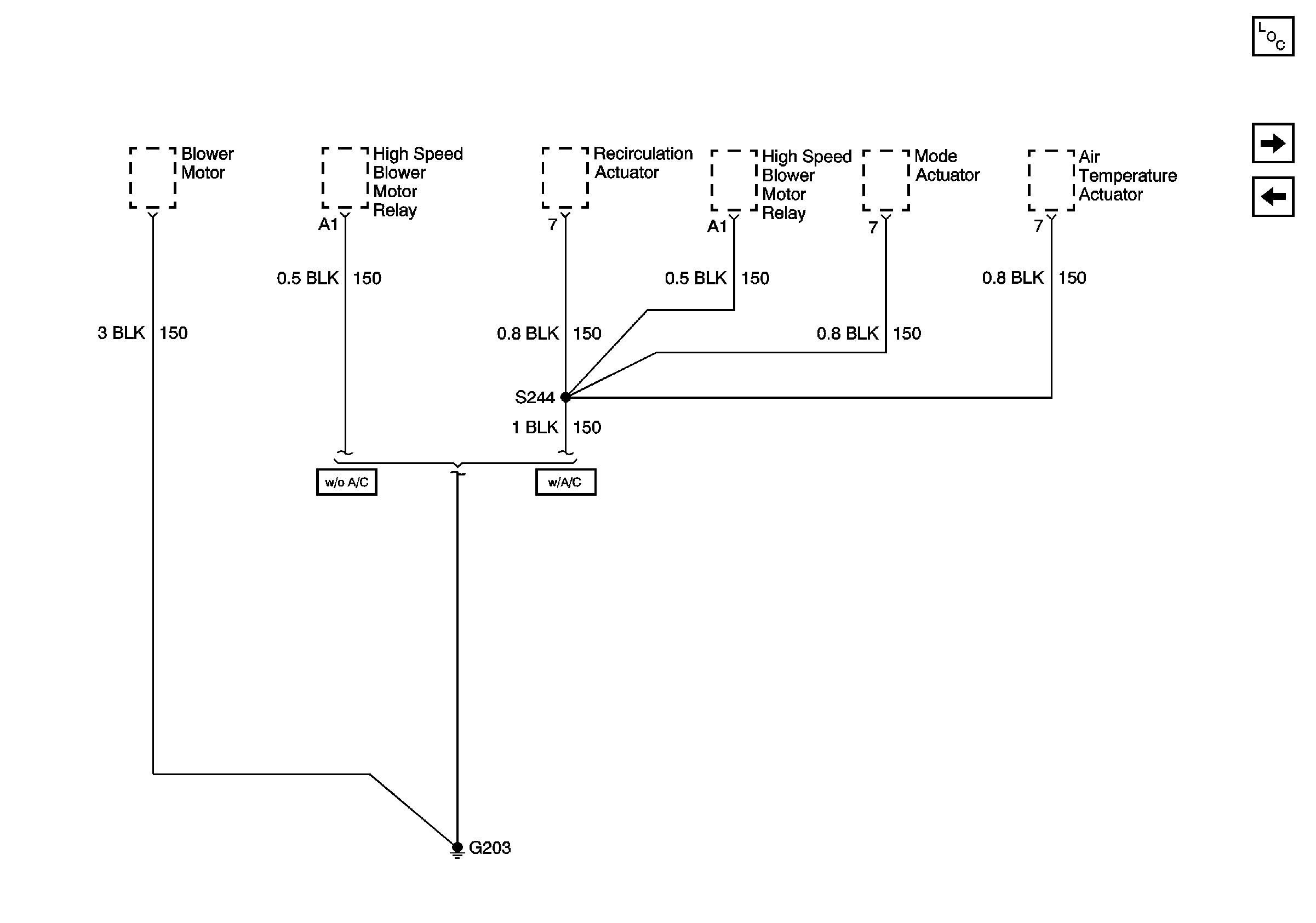
🢒 G203
G203
G203
Master Electrical Component List
G401 (all) and G404 (L65)
G202