GM Service Manual Online
For 1990-2009 cars only
Makes
🢒
Chevrolet
🢒
2005
🢒
Chevy C Cab/Chassis HD (GMT 400)
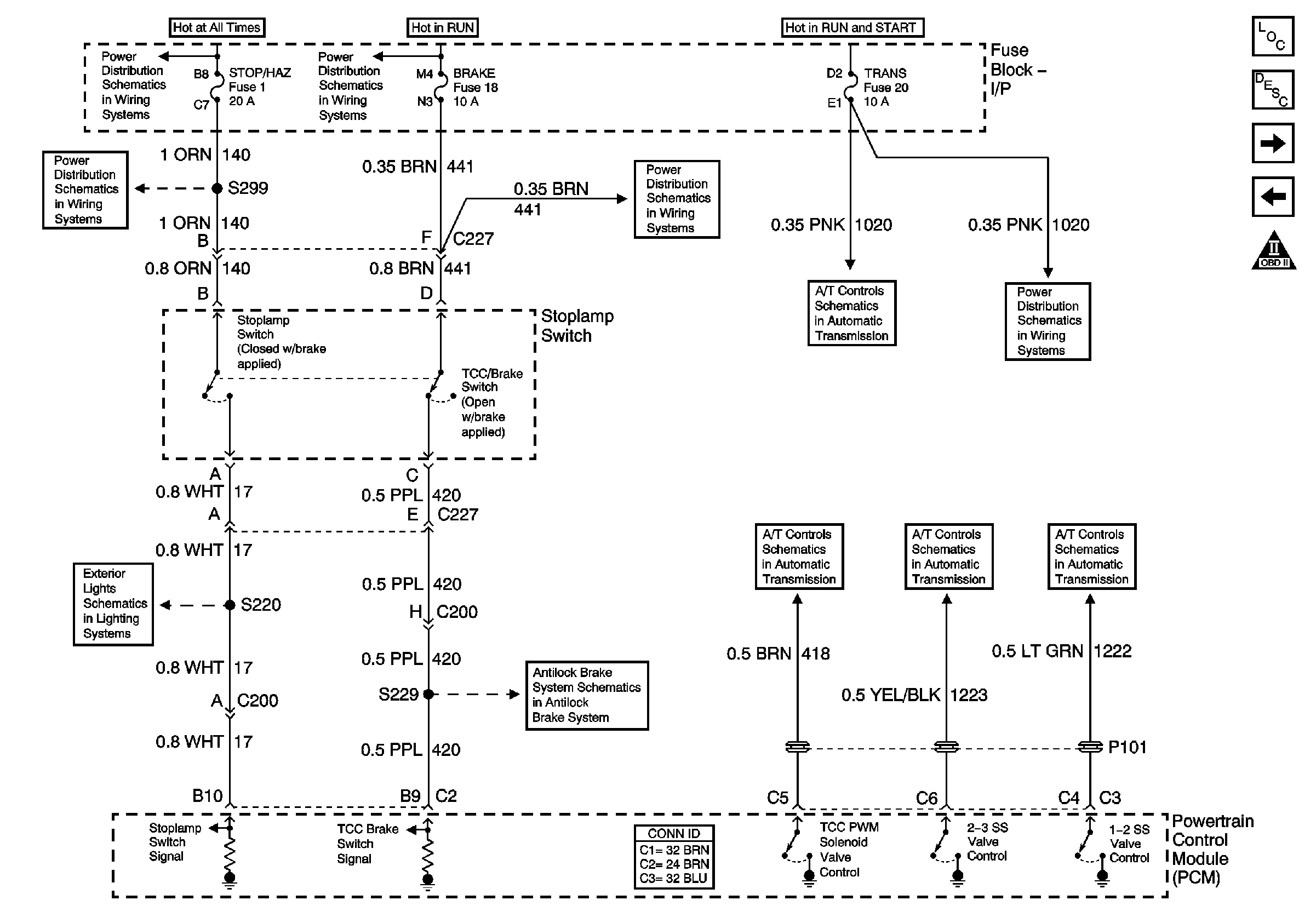
🢒 L65 A/T TCC/Stoplamps Switch, Shift Solenoids
L65 A/T TCC/Stoplamps Switch, Shift Solenoids
A/T TCC/Stop Lamps Switch and Shift Solenoids
Master Electrical Component List
Electronic Component Description
L65 A/T Internal Switches, TFT, PC Solenoid Valve
L65 Monitor and Control: A/C, ABS, and Cruise Control
OBD II Symbol Description Notice
Stop/Haz, Radio Batt, Aux Pwr, and Cig Ltr Fuses
Stop/Haz, Radio Batt, Aux Pwr, and Cig Ltr Fuses
ABS, Blower, Stop-Haz, and IGN B Fuses and Ignition Switch
Brake, Cruise, SEO TP-2, and Htr-A/C Fuses
IGN A Fuse and Ignition Switch
TCC/Stoplamps Switch and Shift Sensors
ENG-I and ECM-I Fuses (Diesel)
TCC/Stoplamps Switch and Shift Sensors
TCC/Stoplamps Switch and Shift Sensors
TCC/Stoplamps Switch and Shift Sensors
EBCM Stoplamp switch and Wheel Speed Inputs
Stop Lamps and Turn/Hazard Lamps Controls