GM Service Manual Online
For 1990-2009 cars only

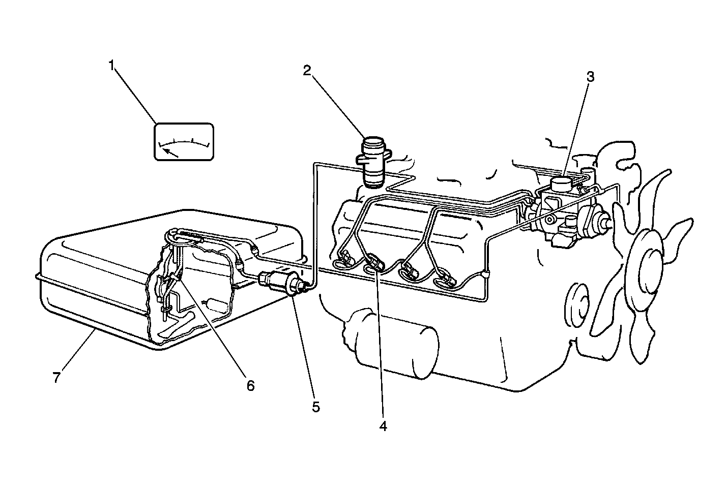
Object Number: 27820  Size: MF
(1)Fuel Gauge
(2)Fuel Filter/Manager
(3)Fuel Injection Pump
(4)Injector
(5)Fuel Lift Pump
(6)Fuel Sender
(7)Fuel Tank

The fuel supply is stored in the fuel tank. Fuel is drawn from the fuel tank by the fuel lift pump. Fuel is then pumped through the fuel manager/filter. The fuel manager/filter is located on the intake manifold. The fuel is then transferred to the injection pump. Unused fuel is returned to the fuel tank by a separate line.

Fuel Tank

The fuel tank is held in place by two metal straps and a cross strap attached to the underbody.

Fuel Tank Filler Neck

The fuel tank filler neck is positioned at the left rear quarter panel of the vehicle.

Fuel Filler Cap

The fuel tank filler neck is equipped with a threaded-type cap. The threaded part of the cap requires several turns counterclockwise to remove. A built-in torque-limiting device prevents over tightening. To install, turn the cap clockwise until a clicking noise is heard. This signals that the correct torque has been reached and the cap is fully seated.