GM Service Manual Online
For 1990-2009 cars only
Figure 1:

Component Locator View


Object Number: 154995  Size: MF
(1)Case Assembly
(2)Reverse Input Clutch
(3)Input Clutch Housing
(4)Overrun Clutch
(5)Forward Clutch
(6)Forward Sprag Clutch Assembly
(7)3-4 Clutch
(8)Input Planetary Gear Set
(9)Lo and Reverse Clutch
(10)Lo Roller Clutch Assembly
(11)Reaction Planetary Gear Set
(12)Output Shaft
(13)Speed Sensor
(14)Parking Pawl
(15)Parking Lock Actuator Assembly
(16)Control Valve Assembly
(17)Manual Shaft
(18)Inside Detent Lever
(19)2-4 Band Assembly
(20)Pump Assembly
(21)Stator Roller Clutch
(22)Torque Converter Assembly
(23)Turbine Shaft
Figure 2:

Case and Associated Parts 1 of 2


Object Number: 55914  Size: LF
(1)Torque Converter Assembly
(2)Bolt, Pump to Case
(3)O-Ring, Pump to Case Bolt
(4)Pump Assembly, Oil
(5)Seal, Oil (Pump to Case)
(6)Gasket, Pump Cover to Case
(7)Bushing, Case
(8)Case, Transmission
(9)Vent Assembly, Transmission
(10)Connector, Oil Cooler Pipe
(11)Plug, Case Servo
(12)Spring, Servo Return
(13)Pin, 2nd Apply Piston
(14)Ring, Retainer (2nd Apply Piston)
(15)Retainer, Servo Cushion Spring
(16)Spring, Servo Cushion (Outer)
(17)Piston, 2nd Apply
(18)Ring, Oil Seal (2nd Apply Piston - Outer)
(19)Ring, Oil Seal (2nd Apply Piston - Inner)
(20)Housing, Servo Piston (Inner)
(21)Seal, O-Ring
(22)Spring, Servo Apply Pin
(23)Washer, Servo Apply Pin
(24)Ring, Retainer (Apply Pin)
(25)Piston, 4th Apply
(26)Ring, Oil Seal (4th Apply Piston - Outer)
(27)Seal, O-Ring (2-4 Servo Cover)
(28)Cover, 2-4 Servo
(29)Ring, Servo Cover Retaining
(30)Seal, Case Extension to Case
(31)Extension, Case
(31)Extension, Case
(32)Bolt, Case Extension to Case
(33)Bushing, Case Extension
(34)Seal Assembly, Case Extension Oil
(35)Bolt, Speed Sensor Retaining
(36)Speed Sensor, Internal Transmission
(37)Seal, O-Ring (ITSS to Case Extension)
(71)Seal, Filter
(72)Filter Assembly, Transmission Oil
(73)Gasket, Transmission Oil Pan
(73)Gasket, Transmission Oil Pan
(74)Magnet, Chip Collector
(75)Pan, Transmission Oil
(75)Pan, Transmission Oil
(76)Screw, Transmission Oil Pan
(76)Screw, Transmission Oil Pan
(94)Bolt, Converter Housing to Case
(95)Connector, Oil Cooler Quick
(96)Clip, Oil Cooler Quick Connect
(97)Plug, Converter Housing Access Hole
(98)Plate, Converter Bolt Inspection
(99)Plug, Cup D4 Orifice
(100)Stud, A/Trans. Case
(101)Plug Asm., A/Trans. Oil Pan
(102)Housing, Converter
(102)Housing, Converter
(103)Case, Main Section
(103)Case, Main Section
(105)Spring, Servo Cushion (Inner)
(106)Seal Assembly, Case Oil (Y-Car Only)
Figure 3:

Case and Associated Parts 2 of 2


Object Number: 154997  Size: LH
(38)Plug, Transmission Case (Accumulator Bleed)
(39)Plug, Pressure
(40)Retainer and Ball Assembly, Third Accumulator
(41)Pin, Band Anchor
(42)Retainer and Ball Assembly (Double Orifice)
(43)Pin, Accumulator Piston
(44)Piston, 3-4 Accumulator
(45)Ring, Oil Seal (3-4 Accumulator Piston)
(46)Spring, 3-4 Accumulator
(47)Gasket, Spacer Plate to Case
(48)Plate, Valve Body Spacer
(49)Screen, Shift Solenoids
(50)Screen, Pressure Control Solenoid
(52)Gasket, Spacer Plate to Valve Body
(53)Plate, Spacer Plate Support
(54)Spring, 1-2 Accumulator
(55)Ring, Oil Seal (1-2 Accumulator)
(56)Piston, 1-2 Accumulator
(57)Cover and Pin Assembly, 1-2 Accumulator
(58)Bolt, Accumulator Cover
(59)Bolt, Accumulator Cover
(60)Valve Assembly, Control Body
(61)Checkball
(62)Bolt, Valve Body
(63)Spring Assembly, Manual Detent
(64)Bolt, Manual Detent Spring
(65)Seal, Wiring Harness Pass-through Connector O-Ring
(66)Solenoid Assembly, Wiring Harness
(67)Seal, O-Ring (Solenoid)
(68)Bolt, Hex Washer Head (Solenoid)
(69)Switch Assembly, Transmission Pressure
(70)Bolt, Pressure Switch Assembly
(77)Bolt, Spacer Plate Support
(91)Number 10 Checkball
(93)Bracket, Dipstick Stop
(104)Spring, 1-2 Accumulator (Inner)
Figure 4:

Oil Pump Assembly


Object Number: 55916  Size: LF
(200)Body, Pump
(201)Ring, Oil Seal (Slide to Wear Plate)
(202)Seal, O-Ring (Slide Seal Back-Up)
(203)Slide, Pump
(204)Spring, Pivot Pin
(205)Pin, Pivot Slide
(206)Spring, Pump Slide (Outer)
(207)Spring, Pump Slide (Inner)
(208)Support, Pump Slide Seal
(209)Seal, Pump Slide
(210)Ring, Pump Vane
(210)Ring, Pump Vane
(211)Guide, Rotor
(212)Rotor, Oil Pump
(213)Vane, Pump
(214)Shaft, Stator
(215)Cover, Pump
(216)Valve, Pressure Regulator
(217)Spring, Pressure Regulator Valve
(218)Spring, Pressure Regulator Isolator
(219)Valve, Reverse Boost
(220)Sleeve, Reverse Boost Valve
(221)Ring, Oil Pump Reverse Boost Valve Retaining
(222)Ring, Oil Pump Converter Clutch Valve Retaining
(223)Valve, Stop
(224)Valve, Converter Clutch
(225)Spring, Converter Clutch Valve (Inner)
(226)Spring, Converter Clutch Valve (Outer)
(227)Rivet, Pressure Relief Bolt
(228)Ball, Pressure Relief
(229)Spring Pressure Relief
(230)Ring, Oil Seal (Stator Shaft)
(231)Seal, Oil Pump Cover Screen
(232)Screen, Oil Pump Cover
(233)Bolt, M8 X 1.25 X 40 (Cover to Body)
(234)Bushing, Stator Shaft (Front)
(235)Plug, Oil Pump Cover (FWD Clutch Feed)
(236)Plug, Oil Pump Cover
(236)Plug, Oil Pump Cover
(236)Plug, Oil Pump Cover
(236)Plug, Oil Pump Cover
(236)Plug, Oil Pump Cover
(236)Plug, Oil Pump Cover
(237)Retainer and Ball Assembly, Check Valve
(237)Retainer and Ball Assembly, Check Valve
(238)Orifice, Converter Clutch Signal (Cup Plug)
(240)Plug, Cup Orifice
(241)Bushing, Stator Shaft (Rear)
(242)Bushing, Pump Body
(243)Seal Assembly, Oil
(244)Retainer, Front Helix
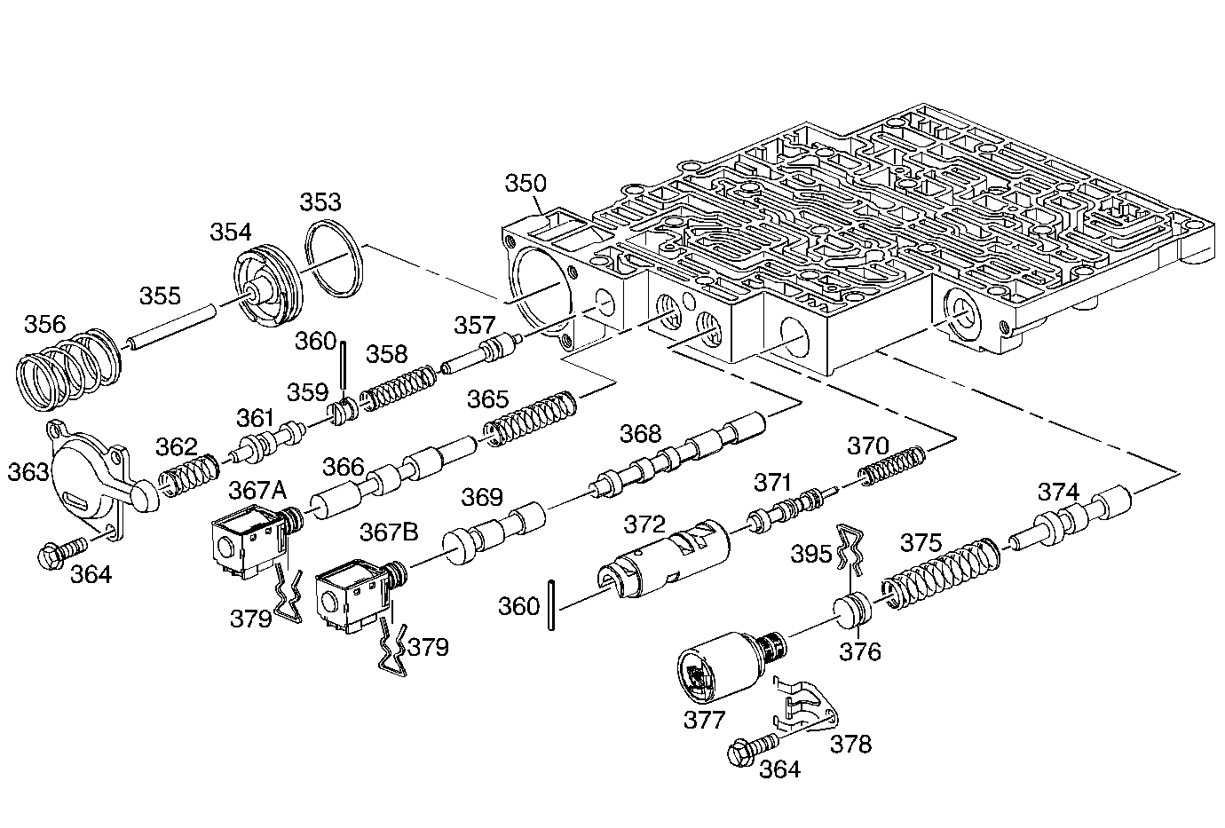
Figure 5:

Control Valve Body Assembly (1 of 2)


Object Number: 155000  Size: MF
(350)Control Valve Body Assembly
(353)Seal, Forward Accumulator Oil
(354)Piston, Forward Accumulator
(355)Pin, Forward Accumulator
(356)Spring, Forward Accumulator
(357)Valve, Forward Abuse
(358)Spring, Forward Abuse Valve
(359)Plug, Bore
(360)Pin, Coiled Spring
(360)Pin, Coiled Spring
(361)Valve, Low Overrun
(362)Spring, Low Overrun Valve
(363)Cover, Forward Accumulator
(364)Bolt, Forward Accumulator Cover
(364)Bolt, Forward Accumulator Cover
(365)Spring, 1-2 Shift Valve
(366)Valve, 1-2 Shift
(367a)1-2 Shift Solenoid Valve
(367b)2-3 Shift Solenoid Valve
(368)Valve, 2-3 Shift
(369)Valve, 2-3 Shuttle
(370)Spring, 1-2 Accumulator Valve
(371)Valve, 1-2 Accumulator
(372)Sleeve, 1-2 Accumulator Valve
(374)Valve, Actuator Feed Limit
(375)Spring, Actuator Feed Limit Valve
(376)Plug, Bore
(377)Pressure Control Solenoid Valve
(378)Retainer, Pressure Control Solenoid
(379)Retainer, Solenoid
(379)Retainer, Solenoid
(395)Retainer, Bore Plug
Figure 6:

Control Valve Body Assembly (2 of 2)


Object Number: 13170  Size: MF
(340)Manual Valve
(350)Control Valve Body Assembly
(359)Bore Plug
(360)Pin, Coiled Spring
(379)Retainer, Solenoid
(379)Retainer, Solenoid
(380)Valve, Regulator Apply
(381)Bore Plug
(381)Bore Plug
(381)Bore Plug
(381)Bore Plug
(382)Spring, 4-3 Sequence Valve
(383)Valve, 4-3 Sequence
(384)Valve, 3-4 Relay
(385)Valve, 3-4 Shift
(386)Spring, 3-4 Shift Valve
(387)Valve, Reverse Abuse
(388)Spring, Reverse Abuse Valve
(389)Valve, 3-2 Downshift
(390)Spring, 3-2 Downshift Valve
(391)Valve, 3-2 Control
(392)Spring, 3-2 Control Valve
(394)3-2 Control Solenoid
(395)Retainer, Bore Plug
(395)Retainer, Bore Plug
(395)Retainer, Bore Plug
(395)Retainer, Bore Plug
(396)TCC PWM Solenoid Valve
(397)Spring, Regulator Apply
(398)Valve, Isolator
Figure 7:

Internal Parts 1 of 2


Object Number: 55915  Size: LF
(600)Spring Asm., 3-4 Clutch Boost (5)
(601)Washer, Thrust (Pump to Drum)
(602)Band Assembly, 2-4
(603)Bushing, Reverse Input Clutch (Front)
(605)Housing and Drum Assembly, Reverse Input Clutch
(606)Bushing, Reverse Input Clutch (Rear)
(607)Piston Asm., Reverse Input Clutch
(608)Seals, Reverse Input Clutch (Inner and Outer)
(609)Spring Asm., Reverse Input Clutch
(610)Ring, Reverse Input Clutch Spring Retainer
(611)Plate, Reverse Input Clutch (Belleville)
(612a)Plate, Reverse Input Clutch Turbulator (Steel)
(612b)Plate Asm., Reverse Input Clutch (Fiber)
(613)Plate, Reverse Input Clutch Backing (Selective)
(614)Ring, Reverse Input Clutch Retaining
(615)Bearing Assembly, Stator Shaft/Selective Washer
(616)Washer, Thrust (Selective)
(617)Retainer and Ball Asm., Check Valve
(618)Seal, O-Ring (Turbine Shaft/Selective Washer)
(619)Ring, Oil Seal (Solid)
(620)Retainer and Checkball Assembly
(620)Retainer and Checkball Assembly
(621)Housing and Shaft Assembly, Input
(622)Seal, O-Ring Input to Forward Clutch Housing
(623)Piston, 3rd and 4th Clutch
(625)Ring, 3rd and 4th Clutch (Apply)
(626)Spring Assembly, 3rd and 4th Clutch
(627)Retainer and Ball Assembly, Forward Clutch Housing
(628)Housing, Forward Clutch
(630)Piston, Forward Clutch
(632)Piston, Overrun Clutch
(633)Ball, Overrun Clutch
(634)Spring Assembly, Overrun Clutch
(635)Snap Ring, Overrun Clutch Spring Retainer
(636)Seal, Input Housing to Output Shaft
(637)Bearing Assembly, Input Sun Gear
(638)Snap Ring, Overrun Clutch Hub Retaining
(639)Hub, Overrun Clutch
(641)Retainer and Race Assembly, Sprag
(641)Retainer and Race Assembly, Sprag
(642)Forward Sprag Assembly
(643)Retainer Rings, Sprag Assembly
(643)Retainer Rings, Sprag Assembly
(644)Race, Forward Clutch (Outer)
(645a)Plate Assembly, Overrun Clutch (Steel)
(645b)Plate, Overrun Clutch (Fiber)
(646)Plate, Forward Clutch (Apply)
(648)Plate, Forward Clutch (Waved)
(649a)Plate Assembly, Forward Clutch (Steel)
(649b)Plate, Forward Clutch (Fiber)
(650)Plate, Forward Clutch Backing (Selective)
(651)Ring, Forward Clutch Backing Plate Retainer
(653)Plate, 3rd and 4th Clutch Apply (Stepped)
(654a)Plate Assembly, 3rd and 4th Clutch (Fiber)
(654b)Plate, 3rd and 4th Clutch (Steel)
(655)Plate, 3rd and 4th Clutch Backing (Selective)
(656)Ring, 3rd and 4th Clutch Backing Plate Retainer
(698)Plug, Orificed Cup
Figure 8:

Internal Parts 2 of 2


Object Number: 181584  Size: LF
(7)Bushing, Case
(657)Bushing, Input Sun Gear Front
(658)Gear, Input Sun
(659)Bushing, Input Sun Gear Rear
(661)Retainer, Output Shaft to Input Carrier
(662)Carrier Assembly, Input
(663)Bearing Assembly, Thrust (Input Carrier to Reaction Shaft)
(664)Gear, Input Internal
(665)Bushing, Reaction Carrier Shaft Front
(666)Shaft, Reaction Carrier
(667)Bushing, Reaction Carrier Shaft Rear
(668)Retainer Ring, Reaction Shaft/Internal Gear
(669)Washer, Thrust (Reaction Shaft Shell)
(670)Shell, Reaction Sun
(671)Retainer Ring, Reaction Sun Gear
(672)Bushing, Reaction Sun
(673)Gear, Reaction Sun
(674)Washer, Thrust (Race/Reaction Shell)
(675)Race, Lo and Reverse Roller Clutch
(676)Retainer Ring, Lo and Reverse Support to Case
(677)Retainer Ring, Lo and Reverse Roller Assembly (Cam)
(677)Retainer Ring, Lo and Reverse Roller Assembly (Cam)
(678)Clutch Assembly, Lo and Reverse Roller
(679)Support Assembly, Lo and Reverse Clutch
(680)Spring, Lo and Reverse Clutch Support Retainer
(681)Carrier Assembly, Reaction
(682a)Plate, Lo and Reverse Clutch (Waved)
(682b)Plate, Spacer Lo and Reverse Clutch (Selective)
(682c)Plate Assembly, Lo and Reverse Clutch (Fiber)
(682d)Plate, Lo and Reverse Clutch Turbulator (Steel)
(683)Bearing Assembly, Thrust (Reaction Carrier/Support)
(684)Gear, Internal Reaction
(685)Support, Internal Reaction Gear
(686)Retainer Ring, Reaction Gear/Support
(687)Shaft, Output
(690)Sleeve, Output Shaft
(691)Seal, Output Shaft
(692)Bearing, Reaction Gear Support to Case
(693)Retainer Ring, Lo and Reverse Clutch
(694)Spring Assembly, Lo and Reverse Clutch
(695)Piston, Lo and Reverse Clutch
(696)Seal, Lo and Reverse Clutch (Outer, Center and Inner)
(697)Deflector, Oil (High Output Models Only)
(699)Rotor, Internal Transmission Speed Sensor
Figure 9:

Parking Lock and Manual Shift Shaft Assembly


Object Number: 65111  Size: MH
(78)Steel Cup Plug
(79)Parking Brake Pawl Shaft
(80)Parking Pawl Return Spring
(81)Parking Brake Pawl
(82)Manual Shaft Seal
(83)Manual Shaft Retainer
(84)Manual Shaft (Model Dependent)
(85)Parking Lock Actuator Assembly
(86)Parking Lock Bracket
(87)Parking Lock Bracket (2) Bolt
(88)Inside Detent Lever
(89)Manual Valve Link
(90)Hex Head Nut
Figure 10:

Seal Locations


Object Number: 55917  Size: LF
(3)O-Ring, Pump to Case Bolt
(5)Seal, Oil (Pump to Case)
(18)Ring, Oil Seal (2nd Apply Piston-Outer)
(19)Ring, Oil Seal (2nd Apply Piston-Inner)
(21)Seal, O-Ring
(26)Ring, Oil Seal (4th Apply Piston-Outer)
(27)Seal, O-Ring (2-4 Servo Cover)
(30)Seal, Case Extension to Case
(34)Seal Assembly, Case Extension Oil
(37)Seal, O-Ring (ITSS to Case Extension)
(106)Seal Assembly, Case Oil (Y-Car Only)
(230)Ring, Oil Seal (Stator Shaft)
(243)Seal Assembly, Oil
(608)Seals, Reverse Input Clutch (inner and outer)
(608)Seals, Reverse Input Clutch (inner and outer)
(618)Seal, O-Ring (Turbine Shaft/Selective Washer)
(619)Ring, Oil Seal (Solid)
(622)Seal, O-Ring Input to Forward Housing
(623)Piston, 3rd and 4th Clutch
(630)Piston, Forward Clutch
(632)Piston, Overrun Clutch
(636)Seal, Input Housing to Output Shaft
(691)Seal, Output Shaft (Model Dependent)
(696)Seal, Transmission (Low and Reverse Clutch-Outer, Center, Inner
(696)Seal, Transmission (Lo and Reverse Clutch-Outer, Center, Inner
(696)Seal, Transmission (Lo and Reverse Clutch-Outer, Center, Inner
Figure 11:

Bearings and Bushings


Object Number: 13165  Size: MF
(7)Case Bushing
(33)Case Extension Bushing
(234)Stator Shaft Bushing (Front)
(241)Stator Shaft Bushing (Rear)
(242)Oil Pump Body Bushing
(601)Thrust Washer (Pump to Drum)
(603)Reverse Input Cl. Bushing (Front)
(606)Reverse Input Clutch Bushing (Rear)
(615)Stator Shaft/Selective Washer Bearing Assembly
(616)Thrust Washer (Selective)
(637)Input Sun Gear Bearing Assembly
(657)Input Sun Gear Bushing (Front)
(659)Input Sun Gear Bushing (Rear)
(663)Thrust Bearing Assembly (Input Carrier to Reaction Shaft)
(665)Reaction Carrier Shaft Bushing (Front)
(667)Reaction Carrier Shaft Bushing (Rear)
(669)Thrust Washer (Reaction Shaft/Shell)
(672)Reaction Gear Bushing
(674)Thrust Washer (Race/Reaction Shell)
(683)Thrust Bearing Assembly (Reaction Carrier/Support)
(692)Reaction Gear Support to Case Bearing
Figure 12:

Valve Trains


Object Number: 10125  Size: LF
(340)Valve, Manual
(353)Seal, Forward Accumulator Oil
(354)Piston, Forward Accumulator
(355)Pin, Forward Accumulator
(356)Spring, Forward Accumulator
(357)Valve, Forward Abuse
(358)Spring, Forward Abuse Valve
(359)Plug, Bore
(359)Plug, Bore
(360)Pin, Coiled Spring
(360)Pin, Coiled Spring
(360)Pin, Coiled Spring
(361)Valve, Low Overrun
(362)Spring, Low Overrun Valve
(363)Cover, Forward Accumulator
(364)Bolt, Forward Accumulator Cover
(364)Bolt, Forward Accumulator Cover
(365)Spring, 1-2 Shift Valve
(366)Valve, 1-2 Shift
(367)Shift Solenoid Valve
(367)Shift Solenoid Valve
(368)Valve, 2-3 Shift
(369)Valve, 2-3 Shuttle
(370)Spring, 1-2 Accumulator Valve
(371)Valve, 1-2 Accumulator
(372)Sleeve, 1-2 Accumulator Valve
(374)Valve, Actuator Feed Limit
(375)Spring, Actuator Feed Limit Valve
(376)Plug, Bore
(377)Pressure Control Solenoid
(378)Retainer, Pressure Control Solenoid
(379)Retainer, Solenoid
(379)Retainer, Solenoid
(379)Retainer, Solenoid
(379)Retainer, Solenoid
(380)Valve, Converter Clutch Signal
(381)Plug, Bore
(381)Plug, Bore
(381)Plug, Bore
(381)Plug, Bore
(382)Spring, 4-3 Sequence Valve
(383)Valve, 4-3 Sequence
(384)Valve, 3-4 Relay
(385)Valve, 3-4 Shift
(386)Spring, 3-4 Shift Valve
(387)Valve, Reverse Abuse
(388)Spring, Reverse Abuse Valve
(389)Valve, 3-2 Downshift
(390)Spring, 3-2 Downshift Valve
(391)Valve, 3-2 Control
(392)Spring, 3-2 Control Valve
(394)3-2 Control Solenoid
(395)Retainer, Bore Plug
(395)Retainer, Bore Plug
(395)Retainer, Bore Plug
(395)Retainer, Bore Plug
(395)Retainer, Bore Plug
(396)TCC PWM Solenoid Valve
(397)Spring, Regulator Apply
(398)Valve, Isolator
Figure 13:

Control Valve Body Passages (Case Side)


Object Number: 10124  Size: LF
(#2)Checkball (61)
(#3)Checkball (61)
(#4)Checkball (61)
(#5)Checkball (61)
(#6)Checkball (61)
(#8)Checkball (61)
(#12)Checkball (61)
(3)Line
(3)Line
(3)Line
(3)Line
(3)Line
(3)Line
(9)Actuator Feed Limit
(9)Actuator Feed Limit
(9)Actuator Feed Limit
(9)Actuator Feed Limit
(9)Actuator Feed Limit
(9)Actuator Feed Limit
(9)Actuator Feed Limit
(10)Filtered Actuator Feed
(10)Filtered Actuator Feed
(10)Filtered Actuator Feed
(11)Torque Signal
(11)Torque Signal
(11)Torque Signal
(11)Torque Signal
(12)PR
(12)PR
(12)PR
(13)D4-3-2
(13)D4-3-2
(14)Lo/Reverse
(14)Lo/Reverse
(15)Reverse
(15)Reverse
(15)Reverse
(16)Reverse Input (Rev. Cl.)
(17)D4
(17)D4
(17)D4
(17)D4
(17)D4
(17)D4
(17)D4
(18)Forward Clutch Feed
(18)Forward Clutch Feed
(20)Accumulator
(20)Accumulator
(22)Signal A
(22)Signal A
(23)Signal B
(24)2nd
(24)2nd
(24)2nd
(24)2nd
(24)2nd
(24)2nd
(24)2nd
(25)2nd Clutch
(25)2nd Clutch
(25)2nd Clutch
(25)2nd Clutch
(25)2nd Clutch
(25)2nd Clutch
(26)C.C. Signal
(26)C.C. Signal
(27)3-4 Signal
(27)3-4 Signal
(28)3rd Accumulator
(28)3rd Accumulator
(29)3-4 Clutch
(29)3-4 Clutch
(29)3-4 Clutch
(30)4th Signal
(30)4th Signal
(31)Servo Feed
(31)Servo Feed
(31)Servo Feed
(32)4th
(33)3-4 Accumulator
(33)3-4 Accumulator
(34)D3
(34)D3
(34)D3
(34)D3
(34)D3
(35)Overrun
(35)Overrun
(36)Overrun Clutch Feed
(37)Overrun Clutch
(38)D2
(38)D2
(38)D2
(40)3-2 Signal
(40)3-2 Signal
(41)Lo
(41)Lo
(41)Lo
(42)Lo/1st
(42)Lo/1st
(42)Lo/1st
(43)Exhaust
(43)Exhaust
(43)Exhaust
(43)Exhaust
(43)Exhaust
(43)Exhaust
(47)Void
(47)Void
(47)Void
(47)Void
(47)Void
(47)Void
(47)Void
(47)Void
(47)Void
(47)Void
(47)Void
(47)Void
(47)Void
(47)Void
(47)Void
(47)Void
(47)Void
(47)Void
(47)Void
(47)Void
(47)Void
(47)Void
Figure 14:

Spacer Plate to Control Valve Body Gasket


Object Number: 10127  Size: LF
(3)Line
(3)Line
(3)Line
(9)Actuator Feed Limit
(9)Actuator Feed Limit
(9)Actuator Feed Limit
(9)Actuator Feed Limit
(9)Actuator Feed Limit
(9)Actuator Feed Limit
(9)Actuator Feed Limit
(9)Actuator Feed Limit
(9)Actuator Feed Limit
(10)Filtered Actuator Feed
(10)Filtered Actuator Feed
(10)Filtered Actuator Feed
(10)Filtered Actuator Feed
(11)Torque Signal
(11)Torque Signal
(11)Torque Signal
(12)PR
(12)PR
(12)PR
(12)PR
(12)PR
(13)D4-3-2
(13)D4-3-2
(14)Lo/Reverse
(14)Lo/Reverse
(14)Lo/Reverse
(15)Reverse
(15)Reverse
(15)Reverse
(16)Reverse Input (Rev. Cl.)
(17)D4
(17)D4
(17)D4
(17)D4
(17)D4
(17)D4
(18)Forward Clutch Feed
(18)Forward Clutch Feed
(18)Forward Clutch Feed
(20)Accumulator
(20)Accumulator
(20)Accumulator
(21)Orificed Accumulator
(22)Signal A
(22)Signal A
(22)Signal A
(23)Signal B
(24)2nd
(24)2nd
(24)2nd
(24)2nd
(24)2nd
(24)2nd
(24)2nd
(24)2nd
(24)2nd
(25)2nd Clutch
(25)2nd Clutch
(25)2nd Clutch
(25)2nd Clutch
(25)2nd Clutch
(25)2nd Clutch
(25)2nd Clutch
(25)2nd Clutch
(25)2nd Clutch
(26)C.C. Signal
(26)C.C. Signal
(27)3-4 Signal
(27)3-4 Signal
(28)3rd Accumulator
(28)3rd Accumulator
(29)3-4 Clutch
(29)3-4 Clutch
(29)3-4 Clutch
(29)3-4 Clutch
(29)3-4 Clutch
(29)3-4 Clutch
(30)4th Signal
(30)4th Signal
(31)Servo Feed
(31)Servo Feed
(31)Servo Feed
(32)4th
(33)3-4 Accumulator
(33)3-4 Accumulator
(33)3-4 Accumulator
(34)D3
(34)D3
(34)D3
(34)D3
(34)D3
(34)D3
(35)Overrun
(35)Overrun
(35/39)Overrun/Orificed D2
(36)Overrun Clutch Feed
(37)Overrun Clutch
(38)D2
(38)D2
(38)D2
(38)D2
(38)D2
(40)3-2 Signal
(40)3-2 Signal
(41)Lo
(41)Lo
(41)Lo
(41)Lo
(42)Lo/1st
(42)Lo/1st
(43)Exhaust
(43)Exhaust
(44)Orificed Exhaust
(44)Orificed Exhaust
(47)Void
Figure 15:

Spacer Plate Passages


Object Number: 10126  Size: LF
(49)Shift Solenoids Screen
(50)Pressure Control Solenoid Screen
(3)Line
(3)Line
(3)Line
(9)Actuator Feed Limit
(9)Actuator Feed Limit
(9)Actuator Feed Limit
(9)Actuator Feed Limit
(9)Actuator Feed Limit
(9)Actuator Feed Limit
(9)Actuator Feed Limit
(9)Actuator Feed Limit
(9)Actuator Feed Limit
(9/10)Actuator Feed Limit/Filtered Actuator Feed
(9/10)Actuator Feed Limit/Filtered Actuator Feed
(9/10)Actuator Feed Limit/Filtered Actuator Feed
(10)Filtered Actuator Feed
(10)Filtered Actuator Feed
(10/22)Filtered Actuator Feed/Signal A
(10/23)Filtered Actuator Feed/Signal B
(11)Torque Signal
(11)Torque Signal
(11)Torque Signal
(12)PR
(12)PR
(12)PR
(12)PR
(12)PR
(13)D4-3-2
(13)D4-3-2
(14)Lo/Reverse
(14)Lo/Reverse
(14)Lo/Reverse
(15)Reverse
(15)Reverse
(15/16)Reverse/Reverse Input (Rev. Cl.)
(15/16)Reverse/Reverse Input (Rev. Cl.)
(16)Reverse Input (Rev. Cl.)
(17)D4
(17)D4
(17)D4
(17)D4
(17)D4
(17/18)D4
(17/18)D4
(18)Forward Clutch Feed
(18)Forward Clutch Feed
(18)Forward Clutch Feed
(20)Accumulator
(20)Accumulator
(20)Accumulator
(20/21)Accumulator/Orificed Accumulator
(20/21)Accumulator/Orificed Accumulator
(21)Orificed Accumulator
(22)Signal A
(22)Signal A
(24)2nd
(24)2nd
(24)2nd
(24)2nd
(24)2nd
(24)2nd
(24)2nd
(24)2nd
(24/25)2nd/2nd Clutch
(24/25)2nd/2nd Clutch
(25)2nd Clutch
(25)2nd Clutch
(25)2nd Clutch
(25)2nd Clutch
(25)2nd Clutch
(25)2nd Clutch
(25)2nd Clutch
(25)2nd Clutch
(25)2nd Clutch
(26)C.C. Signal
(26)C.C. Signal
(27)3-4 Signal
(27)3-4 Signal
(27/29)3-4 Signal
(27/29)3-4 Signal
(28)3rd Accumulator
(29/28)3-4 Clutch/3rd Accumulator
(29/28)3-4 Clutch/3rd Accumulator
(29)3-4 Clutch
(29)3-4 Clutch
(29)3-4 Clutch
(29)3-4 Clutch
(29)3-4 Clutch
(30)4th Signal
(30)4th Signal
(30)4th Signal
(31)Servo Feed
(31)Servo Feed
(31)Servo Feed
(32)4th
(33)3-4 Accumulator
(33)3-4 Accumulator
(33)3-4 Accumulator
(34)D3
(34)D3
(34)D3
(34)D3
(34)D3
(34)D3
(35a)Overrun
(35)Overrun
(35/36)Overrun/Overrun Clutch Feed
(35/36)Overrun/Overrun Clutch Feed
(35/39)Overrun/Orificed D2
(36)Overrun Clutch Feed
(37)Overrun Clutch
(38)D2
(38)D2
(38)D2
(38)D2
(38/39)D2/Orificed D2
(40)3-2 Signal
(40)3-2 Signal
(41)Lo
(41)Lo
(41)Lo
(41)Lo
(42)Lo/1st
(42)Lo/1st
(43)Exhaust
(43/44)Exhaust/Orificed Exhaust
(43/44)Exhaust/Orificed Exhaust
(44)Orificed Exhaust
(47)Void
Figure 16:

Spacer Plate to Case Gasket


Object Number: 10128  Size: LF
(3)Line
(3)Line
(3)Line
(9)Actuator Feed Limit
(9)Actuator Feed Limit
(9)Actuator Feed Limit
(9)Actuator Feed Limit
(9)Actuator Feed Limit
(9)Actuator Feed Limit
(9)Actuator Feed Limit
(9)Actuator Feed Limit
(9)Actuator Feed Limit
(9)Actuator Feed Limit
(10)Filtered Actuator Feed
(10)Filtered Actuator Feed
(10)Filtered Actuator Feed
(10)Filtered Actuator Feed
(10)Filtered Actuator Feed
(11)Torque Signal
(11)Torque Signal
(11)Torque Signal
(12)PR
(12)PR
(12)PR
(12)PR
(12)PR
(13)D4-3-2
(13)D4-3-2
(14)Lo/Reverse
(14)Lo/Reverse
(14)Lo/Reverse
(15)Reverse
(15)Reverse
(16)Reverse Input (Rev. Cl.)
(16)Reverse Input (Rev. Cl.)
(16)Reverse Input (Rev. Cl.)
(17)D4
(17)D4
(17)D4
(17)D4
(18)Forward Clutch Feed
(18)Forward Clutch Feed
(18)Forward Clutch Feed
(18)Forward Clutch Feed
(18)Forward Clutch Feed
(20)Accumulator
(20)Accumulator
(20)Accumulator
(20)Accumulator
(21)Orificed Accumulator
(21)Orificed Accumulator
(22)Signal A
(22)Signal A
(24)2nd
(24)2nd
(24)2nd
(24)2nd
(24)2nd
(24)2nd
(24)2nd
(24)2nd
(25)2nd Clutch
(25)2nd Clutch
(25)2nd Clutch
(25)2nd Clutch
(25)2nd Clutch
(25)2nd Clutch
(25)2nd Clutch
(25)2nd Clutch
(25)2nd Clutch
(25)2nd Clutch
(25)2nd Clutch
(26)C.C. Signal
(26)C.C. Signal
(27)3-4 Signal
(27)3-4 Signal
(27)3-4 Signal
(28)3rd Accumulator
(29)3-4 Clutch
(29)3-4 Clutch
(29)3-4 Clutch
(29)3-4 Clutch
(29)3-4 Clutch
(29)3-4 Clutch
(29)3-4 Clutch
(30)4th Signal
(30)4th Signal
(31)Servo Feed
(31)Servo Feed
(31)Servo Feed
(32)4th
(33)3-4 Accumulator
(33)3-4 Accumulator
(33)3-4 Accumulator
(34)D3
(34)D3
(34)D3
(34)D3
(34)D3
(34)D3
(35)Overrun
(35)Overrun
(36)Overrun Clutch Feed
(36)Overrun Clutch Feed
(37)Overrun Clutch
(38)D2
(38)D2
(38)D2
(38)D2
(39)Orificed D2
(39)Orificed D2
(40)3-2 Signal
(40)3-2 Signal
(41)Lo
(41)Lo
(41)Lo
(41)Lo
(42)Lo/1st
(42)Lo/1st
(43)Exhaust
(43)Exhaust
(44)Orificed Exhaust
(44)Orificed Exhaust
Figure 17:

Case Passages (Control Valve Body Side)


Object Number: 10129  Size: LF
(#1)Checkball (91)
(#7)3rd Accum. Retainer and Ball Assembly (40)
(#10)Checkball (42)
(3)Line
(3)Line
(3)Line
(3)Line
(3)Line
(9)Actuator Feed Limit
(9)Actuator Feed Limit
(9)Actuator Feed Limit
(9)Actuator Feed Limit
(9)Actuator Feed Limit
(9)Actuator Feed Limit
(9)Actuator Feed Limit
(9)Actuator Feed Limit
(9)Actuator Feed Limit
(10)Filtered Actuator Feed
(10)Filtered Actuator Feed
(10)Filtered Actuator Feed
(11)Torque Signal
(11)Torque Signal
(11)Torque Signal
(11)Torque Signal
(11)Torque Signal
(12)PR
(12)PR
(12)PR
(12)PR
(12)PR
(13)D4-3-2
(13)D4-3-2
(14)Lo/Reverse
(14)Lo/Reverse
(14)Lo/Reverse
(15)Reverse
(16)Reverse Input (Rev. Cl.)
(16)Reverse Input (Rev. Cl.)
(16)Reverse Input (Rev. Cl.)
(16)Reverse Input (Rev. Cl.)
(17)D4
(17)D4
(17)D4
(17)D4
(18)Forward Clutch Feed
(18)Forward Clutch Feed
(18)Forward Clutch Feed
(18)Forward Clutch Feed
(19)Rear Lube
(20)Accumulator
(21)Orificed Accumulator
(22)Signal A
(22)Signal A
(22)Signal A
(24)2nd
(24)2nd
(24)2nd
(25)2nd Clutch
(25)2nd Clutch
(25)2nd Clutch
(25)2nd Clutch
(25)2nd Clutch
(25)2nd Clutch
(26)C.C. Signal
(26)C.C. Signal
(27)3-4 Signal
(27)3-4 Signal
(28)3rd Accumulator
(29)3-4 Clutch
(29)3-4 Clutch
(29)3-4 Clutch
(29)3-4 Clutch
(29)3-4 Clutch
(30)4th Signal
(31)Servo Feed
(32)4th
(32)4th
(33)3-4 Accumulator
(33)3-4 Accumulator
(33)3-4 Accumulator
(33)3-4 Accumulator
(33)3-4 Accumulator
(34)D3
(34)D3
(34)D3
(34)D3
(34)D3
(35)Overrun
(35)Overrun
(36)Overrun Clutch Feed
(36)Overrun Clutch Feed
(37)Overrun Clutch
(37)Overrun Clutch
(37)Overrun Clutch
(38)D2
(38)D2
(38)D2
(38)D2
(39)Orificed D2
(40)3-2 Signal
(41)Lo
(41)Lo
(41)Lo
(42)Lo/1st
(42)Lo/1st
(43)Exhaust
(43)Exhaust
(44)Orificed Exhaust
(44)Orificed Exhaust
(47)Void
(47)Void
(47)Void
(47)Void
(47)Void
(47)Void
(47)Void
(47)Void
(47)Void
(47)Void
(47)Void
(47)Void
(47)Void
(47)Void
(47)Void
Figure 18:

2-4 Servo Fluid Passages


Object Number: 10130  Size: LF
(#7)3rd Accumulator Retainer and Ball Assembly (40)
(#7)3rd Accumulator Retainer and Ball Assembly (40)
(11)Case Servo Orificed Plug
(11)Case Servo Orificed Plug
(25)2nd Clutch
(25)2nd Clutch
(25)2nd Clutch
(28)3rd Accumulator
(28)3rd Accumulator
(28)3rd Accumulator
(32)4th
(32)4th
(32)4th
(32)4th
(43)Exhaust
(43)Exhaust
(44)Orificed Exhaust
(44)Orificed Exhaust
Figure 19:

Pump Cover Passages: Case Side


Object Number: 10131  Size: LF
(232)Oil Pump Cover Screen
(237)Check Valve Retainer and Ball Assembly
(237)Check Valve Retainer and Ball Assembly
(240)Orificed Cup Plug
(240)Orificed Cup Plug
(1)Suction (Intake)
(2)Decrease
(2)Decrease
(3)Line
(3)Line
(3)Line
(5)Release
(7)To Cooler
(8)Lube from Cooler
(8)Lube from Cooler
(11)Torque Signal
(16)Reverse Input (Rev. Cl.)
(16)Reverse Input (Rev. Cl.)
(16)Reverse Input (Rev. Cl.)
(18)Forward Clutch Feed
(18)Forward Clutch Feed
(26)C.C. Signal
(29)3-4 Clutch
(29)3-4 Clutch
(37)Overrun Clutch
(37)Overrun Clutch
(37)Overrun Clutch
(43)Exhaust
(43)Exhaust
(43)Exhaust
(45)Vent
(46)Seal Drain
(47)Void
(47)Void
Figure 20:

Pump Cover Passages


Object Number: 55937  Size: MF
(1)Suction (intake)
(1)Suction (intake)
(2)Decrease
(2)Decrease
(2)Decrease
(3)Line
(3)Line
(3)Line
(3)Line
(3)Line
(3)Line
(4)Converter Feed
(4)Converter Feed
(4)Converter Feed
(4)Converter Feed
(5)Release
(5)Release
(7)To Cooler
(8)Lube from Cooler
(8)Lube from Cooler
(11)Torque Signal
(16)Reverse Input
(16)Reverse Input
(16)Reverse Input
(18)Forward Clutch Feed
(26)C.C. Signal
(26)C.C. Signal
(29)3-4 Clutch
(29)3-4 Clutch
(37)Overrun Clutch
(37)Overrun Clutch
(37)Overrun Clutch
(43)Exhaust
(43)Exhaust
(43)Exhaust
(43)Exhaust
(45)Vent
(46)Seal Drain
(47)Void
(47)Void
(47)Void
Figure 21:

Pump Body Passages


Object Number: 55936  Size: MF
(1)Suction (intake)
(2)Decrease
(2)Decrease
(3)Line
(3)Line
(3)Line
(3)Line
(4)Converter Feed
(4)Converter Feed
(4)Converter Feed
(4)Converter Feed
(5)Release
(7)To Cooler
(8)Lube from Cooler
(11)Torque Signal
(16)Reverse Input
(16)Reverse Input
(26)C.C. Signal
(29)3-4 Clutch
(37)Overrun Clutch
(43)Exhaust
(43)Exhaust
(43)Exhaust
(43)Exhaust
(45)Vent
(46)Seal Drain
(47)Void
(47)Void