GM Service Manual Online
For 1990-2009 cars only

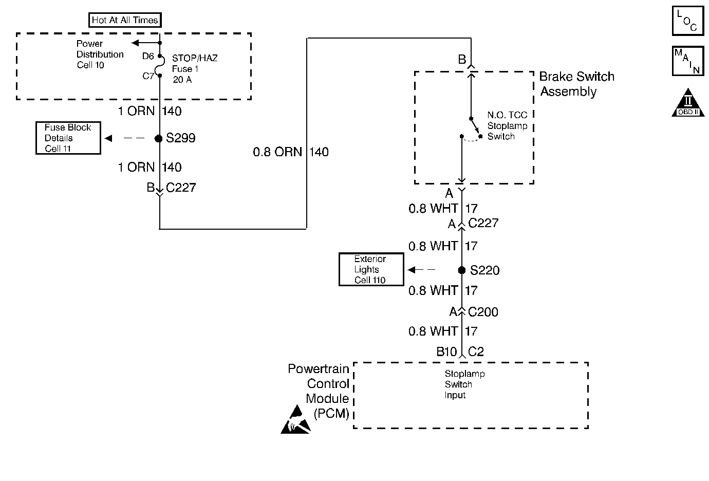
DTC P0719 Brake Switch Circuit Low Input 6.5L Diesel


Object Number: 69029  Size: MF
Automatic Transmission Components Diesel
Automatic Transmission Controls Schematics 6.5 L Diesel Schematics
OBD II Symbol Description Notice
Handling ESD Sensitive Parts Notice

Circuit Description

The normally open TCC stoplamp switch indicates brake pedal status to the Powertrain Control Module (PCM). Applying the brake pedal closes the switch, supplying voltage to the PCM. Releasing the brake pedal interrupts voltage to the PCM.

If the PCM detects an open brake switch (stuck OFF) during decelerations, then DTC P0719 sets. DTC P0719 is a type D DTC.

Conditions for Setting the DTC

    • No OSS Sensor DTC P0722 or P0723
    • The PCM detects an open TCC stoplamp switch/circuit (0 volts) and the following sequence of events occurs ten consecutive times:
       - the vehicle speed is greater than 32 km/h (20 mph) for 6 seconds.
       - Then the vehicle speed is 8-32 km/h (5-20 mph) for 3 seconds.
       - Then the vehicle speed is less than 8 km/h (5 mph).
       - DTC P0719 has not passed.

Action Taken When the DTC Sets

    • The PCM does not illuminate the Malfunction Indicator Lamp (MIL).
    • For TCC scheduling, the PCM disregards the brake switch state if the TP Sensor is greater than 12% and the vehicle speed is greater than 20 mph.

Conditions for Clearing the DTC

  1. A scan tool can clear the DTC from the PCM history. The PCM clears the DTC from the PCM history if the vehicle completes 40 warm-up cycles without a failure reported.
  2. The PCM cancels the DTC default actions when the fault no longer exists and the ignition is OFF long enough in order to power down the PCM

Diagnostic Aids

    • Inspect the wiring for poor electrical connections at the PCM. Inspect the wiring for poor electrical connections at the TCC brake switch. Look for the following problems:
       - A bent terminal
       - A backed out terminal
       - A damaged terminal
       - Poor terminal tension
       - A chafed wire
       - A broken wire inside the insulation
    • When diagnosing for an intermittent short or open, massage the wiring harness while watching the test equipment for a change.
    • Ask about the customer's driving habits and any unusual driving conditions he or she might have, such as stop and go traffic or expressway driving.
    • Inspect the break switch for proper mounting and adjustment.
    • First diagnose and clear any engine DTCs codes that are present. Then inspect for any transmission DTCs that may have reset.

Test Description

The numbers below refer to the step numbers on the diagnostic table.

  1. This step isolates the brake switch as a source for setting the DTC.

  2. This step tests for a short to ground between the fuse and the TCC Stop Light Switch.

  3. This step tests for a short to ground in circuit 17.

  4. This step removes the PCM from circuit 17 as the source of a short to ground.

DTC P0719 Brake Switch Circuit Low Input

Step

Action

Value(s)

Yes

No

1

Was the Powertrain On-Board Diagnostic (OBD) System Check performed?

--

Go to Step 2

Go to Powertrain On Board Diagnostic (OBD) System Check

2

  1. Install the Scan Tool ®.
  2. With the engine OFF, turn the ignition switch to the RUN position.
  3. Important: Before clearing the DTCs, use the scan tool in order to record the Freeze Frame and Failure Records for reference. The Clear Info function will erase the data.

  4. Record the DTC Freeze Frame and Failure Records.
  5. Select the TCC Brake Switch on the scan tool.
  6. Disconnect the brake switch connector from the brake switch.
  7. Connect a test lamp from cavity B (circuit 140 ORN) of the TCC brake switch connector to a known good ground.

Is the test lamp ON?

--

Go to Step 3

Go to Step 4

3

Install a J 36169-A Fused Jumper Wire from terminal B (ORN) to terminal A (circuit 17 WHT) of the TCC brake switch connector.

Did the TCC Brake Switch status change from Open to Closed?

--

Go to Step 10

Go to Step 12

4

  1. Remove the Brake fuse.
  2. Inspect the Brake fuse for an open.
  3. Refer to Electrical Diagnosis, Section 8.

Is the fuse open?

--

Go to Step 5

Go to Step 11

5

Replace the brake fuse.

Does the replacement fuse open immediately?

--

Go to Step 6

Go to Step 7

6

Inspect circuit 140 for a short to ground.

Refer to Electrical Diagnosis, Section 8.

Did you find and repair the problem?

--

Go to Step 15

--

7

  1. Reconnect the TCC brake switch connector to the brake switch.
  2. Apply the brake pedal.

Does the fuse open immediately?

--

Go to Step 8

Intermittent short to ground. Go to Diagnostic Aids.

8

  1. Disconnect the C2 (24 pin BRN) connector from the PCM.
  2. Replace the brake fuse.
  3. Apply the brake pedal.
  4. Does the fuse open immediately?

--

Go to Step 9

Go to Step 13

9

Inspect circuit 17 for a short to ground.

Refer to Electrical Diagnosis, Section 8.

Did you find and repair the problem?

--

Go to Step 15

--

10

Replace the brake switch.

Refer to Stoplamp Switch Replacement, Section 5.

Is the replacement complete?

--

Go to Step 15

--

11

Inspect circuit 140 for an open.

Refer to Electrical Diagnosis, Section 8.

Did you find and correct a problem?

--

Go to Step 15

--

12

Inspect circuit 17 for an open.

Refer to Electrical Diagnosis, Section 8.

Did you find a problem?

--

Go to Step 15

Go to Step 13

13

Inspect the PCM pins, the connector terminals, and the wiring for corrosion or shorting together.

Did you find a problem?

--

Go to Step 15

Go to Step 14

14

Replace the PCM.

Refer to Powertrain Control Module Replacement/Programming , Section 6.

Is the replacement complete?

--

Go to Step 15

--

15

In order to verify your repair, perform the following procedure:

  1. Select DTC.
  2. Select Clear Info.
  3. Operate the vehicle under the following conditions:
  4. • With the engine OFF, the ignition switch is in the RUN position.
    • The brake pedal is depressed.
    • The TCC Brake Switch status indicates Closed (12 volts) for 2 seconds.
  5. Select Specific DTC. Enter DTC P0719.

Has the test run and passed?

--

System OK

Begin the diagnosis again. Go to Step 1

DTC P0719 Brake Switch Circuit Low Input 5.7L and 7.4L Gas


Object Number: 40799  Size: MF
Automatic Transmission Components Gas
Automatic Transmission Controls Schematics 5.7 and 7.4 L Gas Schematics
OBD II Symbol Description Notice
Handling ESD Sensitive Parts Notice

Circuit Description

The brake switch indicates the brake pedal status. The normally-closed brake switch supplies a B+ signal on circuit 420 to the Vehicle Control Module (VCM). The signal voltage circuit opens when the brakes are applied. The VCM uses the open signal voltage circuit in order to de-energize the Torque Converter Clutch Pulse Width Modulation Solenoid Valve (TCC PWM Sol. Valve) when the brakes are applied.

If the VCM detects an open brake switch during accelerations, then DTC P0719 sets. DTC P0719 is a type D DTC. For California emissions vehicles, DTC P0719 is a type B DTC.

Conditions for Setting the DTC

    • No OSS DTC P0502
    • The VCM detects an open brake switch/circuit (0 volts) for 15 minutes without going closed for 2 seconds.
    • The following sequence of events occurs seven consecutive times:
       - The vehicle speed is less than 8 km/h (5 mph).
       - Then the vehicle speed is 8-32 km/h (5-20 mph) for 3.5 seconds.
       - Then the vehicle speed is greater than 32 km/h (20 mph) for 6 seconds.
    • DTC P0719 has not passed.

Action Taken When the DTC Sets

    • The VCM inhibits fourth gear.
    • The VCM freezes shift adapts.
    • The VCM illuminates the Malfunction Indicator Lamp (MIL) on California emissions vehicles.

Conditions for Clearing the DTC

  1. For California Emissions vehicles, the VCM turns OFF the MIL after three consecutive ignition cycles without a failure reported.
  2. A scan tool can clear the DTC from the VCM history. The VCM clears the DTC from the VCM history if the vehicle completes 40 warm-up cycles without a failure reported.
  3. The VCM cancels the DTC default actions when the fault no longer exists and the ignition is OFF long enough in order to power down the VCM.

Diagnostic Aids

    • Inspect the wiring for poor electrical connections at the VCM. Inspect the wiring for poor electrical connections at the TCC brake switch. Look for the following problems:
       - A bent terminal
       - A backed out terminal
       - A damaged terminal
       - Poor terminal tension
       - A chafed wire
       - A broken wire inside the insulation
    • When diagnosing for an intermittent short or open, massage the wiring harness while watching the test equipment for a change.
    • Ask about the customer's driving habits and any unusual driving conditions he or she might have, such as stop and go traffic or expressway driving.
    • Inspect the brake switch for proper mounting and adjustment.
    • Inspect for the most current calibration I.D. and the latest bulletins.
    • First diagnose and clear any engine DTCs or TP Sensor codes that are present. Then inspect for any transmission DTCs that may have reset.

Test Description

The numbers below refer to the step numbers on the diagnostic table.

  1. This step isolates the brake switch as a source for setting the DTC.

P0719

Step

Action

Value(s)

Yes

No

1

Was the Powertrain On-Board Diagnostic (OBD) System Check performed?

--

Go to Step 2

Go to Powertrain On Board Diagnostic (OBD) System Check

2

  1. Install the Scan Tool ®.
  2. With the engine OFF, turn the ignition switch to the RUN position.
  3. Important: Before clearing the DTCs, use the scan tool in order to record the Freeze Frame and Failure Records for reference. The Clear Info function will erase the data.

  4. Record the DTC Freeze Frame and Failure Records.
  5. Select the TCC Brake Switch on the scan tool.
  6. Disconnect the brake switch connector from the brake switch.
  7. Connect a 12 volt test lamp from cavity D of the brake switch connector to a known good ground.

Is the test lamp ON?

--

Go to Step 3

Go to Step 4

3

Install a J 36169-A Fused Jumper Wire between terminals C and D of the brake switch connector.

Did the TCC Brake Switch status change from Open to Closed?

--

Go to Step 7

Go to Step 9

4

  1. Remove the Brake fuse.
  2. Inspect the Brake fuse for an open.

Refer to Electrical Diagnosis, Section 8.

Is the fuse open?

--

Go to Step 5

Go to Step 8

5

Inspect circuit 441 for a short to ground.

Refer to Electrical Diagnosis, Section 8.

Did you find a problem?

--

Go to Step 11

Go to Step 6

6

Inspect circuit 420 for a short to ground.

Refer to Electrical Diagnosis, Section 8.

Did you find a problem?

--

Go to Step 11

Go to Step 10

7

Replace the brake switch.

Refer to Stoplamp Switch Replacement, in Section 5.

Is the replacement complete?

--

Go to Step 11

--

8

Inspect circuit 441 for an open.

Refer to Electrical Diagnosis, Section 8.

Did you find and correct a problem?

--

Go to Step 11

--

9

Inspect circuit 420 for an open.

Refer to Electrical Diagnosis, Section 8.

Did you find a problem?

--

Go to Step 11

Go to Step 10

10

Replace the VCM.

Refer to VCM Replacement/Programming , Section 6.

Is the replacement complete?

--

Go to Step 11

--

11

In order to verify your repair, perform the following procedure:

  1. Select DTC.
  2. Select Clear Info.
  3. Operate the vehicle under the following conditions:
  4. • With the engine OFF, the ignition switch is in the RUN position.
    • The brake pedal is not depressed.
    • The TCC Brake Switch status indicates Closed (12 volts) for 3 seconds 5 consecutive times.
  5. Select Specific DTC. Enter DTC P0719.

Has the test run and passed?

--

System OK

Begin the diagnosis again. Go to Step 1