GM Service Manual Online
For 1990-2009 cars only

Crankshaft Inspection

Tools Required

J 7872 Magnetic Base Dial Indicator


    Object Number: 59918  Size: SH

    Notice: Do not damage the bearing surfaces when handling the crankshaft.

    Replace loose or damaged crankshaft rear oil gallery plug.

  1. Clean the crankshaft in solvent. Remove all sludge or restrictions from the oil passages.

  2. Object Number: 374743  Size: SH
  3. Remove the engine flywheel locator pin, if damaged.
  4. Notice: Do not shim, scrape, or file bearing inserts. Do not touch the bearing surface of the insert with bare fingers. Skin oil and acids will etch the bearing surface.

  5. Clean the crankshaft bearings in solvent. Wipe the bearings clean with a soft cloth, do not scratch the bearing surfaces.
  6. Caution: Wear safety glasses in order to avoid eye damage.

  7. Dry the crankshaft and bearings with compressed air.

  8. Object Number: 156170  Size: SH
  9. Inspect the crankshaft for the following conditions:
  10. • Crankshaft journals (1) should be smooth with no evidence of scoring or damage
    • Deep grooves (2)
    • Scratches or uneven wear (3)
    • Pitted surfaces (4)
    • Wear of damage to the thrust journal surfaces
    • Scoring or damage to the rear seal surface
    • Restrictions to oil passages
    • A loose or damaged rear oil gallery plug
    • Damage to threaded bolt holes

    Object Number: 180902  Size: SH
  11. Inspect the crankshaft key and the keyway for damage.

  12. Object Number: 35207  Size: SH
  13. Measure the crankshaft main journals and the crankpins for out-of-round and taper.

  14. Object Number: 35210  Size: SH
  15. Using a suitable fixture, support the crankshaft.
  16. 8.1. Measure the crankshaft runout using J 7872 .
    8.2. Crankshaft runout should not exceed 0.051 mm (0.002 in).

    Object Number: 413873  Size: MH
  17. Inspect the crankshaft thrust wall surface for wear (1) and/or excessive runout (2). Refer to Engine Mechanical Specifications .

  18. Object Number: 374746  Size: SH
  19. Install the engine flywheel locator pin, if removed.

Crankshaft and Connecting Rod Bearing Inspection


    Object Number: 52051  Size: SH

    Notice: Do not shim, scrape, or file bearing inserts. Do not touch the bearing surface of the insert with bare fingers. Skin oil and acids will etch the bearing surface.

  1. Inspect the bearings for craters or pockets. Flattened sections on the bearing halves also indicate fatigue.

  2. Object Number: 52053  Size: SH
  3. Inspect the bearings for excessive scoring or discoloration.
  4. Inspect the bearings for dirt or debris imbedded into the bearing material.

  5. Object Number: 52056  Size: SH
  6. Inspect the bearings for improper seating indicated by bright, polished sections of the bearings.
  7. • If the lower half of the bearing is worn or damaged, both the upper and lower halves should be replaced.
    • Generally, if the lower half is suitable for use, the upper half should also be suitable for use.

Crankshaft and Connecting Rod Bearing Clearance Measurement

The crankshaft and connecting rod bearings are of the precision insert type and do not use shims for adjustment. If the clearances are excessive, the new upper and the lower bearings will be required. The service bearings are available in the standard size and an undersize.

The selective fitting of the bearings are necessary in production in order to obtain close tolerances. For this reason, in one journal bore you may use one-half of a standard bearing with one-half of a undersize bearing.

In order to determine the correct replacement bearing size, the bearing clearance must be measured accurately. Either the micrometer or plastic gauge method may be used, however, the micrometer method gives more reliable results and is preferred.

Micrometer Method for Crankshaft Bearings


    Object Number: 609635  Size: SH
  1. Measure the crankshaft main journal diameter with a micrometer in several places along the length approximately 90 degrees apart, (minimum of 4 places), and average the measurements.
  2. Determine the taper and the out of round. Refer to Engine Mechanical Specifications .

  3. Object Number: 452370  Size: SH

    Notice: Do not shim, scrape, or file bearing inserts. Do not touch the bearing surface of the insert with bare fingers. Skin oil and acids will etch the bearing surface.

  4. Install the crankshaft bearings into the crankshaft bearing caps and the engine block.
  5. Notice: Use the correct fastener in the correct location. Replacement fasteners must be the correct part number for that application. Fasteners requiring replacement or fasteners requiring the use of thread locking compound or sealant are identified in the service procedure. Do not use paints, lubricants, or corrosion inhibitors on fasteners or fastener joint surfaces unless specified. These coatings affect fastener torque and joint clamping force and may damage the fastener. Use the correct tightening sequence and specifications when installing fasteners in order to avoid damage to parts and systems.

    Important: Tighten the inner crankshaft bearing cap bolts before tightening the outer crankshaft bearing cap bolts.

  6. Install the crankshaft bearing caps and the crankshaft bearing cap bolts.
  7. Tighten

    1. Tighten the crankshaft bearing cap inner bolts to 138 N·m (102 lb ft).
    2. Tighten the crankshaft bearing cap outer bolts to 138 N·m (102 lb ft).
  8. Measure the crankshaft bearing inside diameter (ID) using an inside micrometer.
  9. Measure at a minimum of 4 places and average the measurements.

  10. In order to determine the crankshaft bearing clearance, subtract the crankshaft journal diameter from the crankshaft bearing ID.
  11. Compare the crankshaft bearing clearance to the specifications. Refer to Engine Mechanical Specifications .
  12. If the crankshaft bearing clearances exceeds specifications, install the new crankshaft bearings.
  13. Measure the new crankshaft bearing inside diameter (ID) using an inside micrometer.
  14. Replace or repair the crankshaft if the proper clearances cannot be obtained.

Micrometer Method for Connecting Rod Bearings


    Object Number: 35207  Size: SH

    Notice: Do not shim, scrape, or file bearing inserts. Do not touch the bearing surface of the insert with bare fingers. Skin oil and acids will etch the bearing surface.

  1. Measure the crankpin diameter with a micrometer in several places along the length, approximately 90 degrees apart (minimum of 4 places), and average the measurements.
  2. Determine the taper and the out-of-round. Refer to Engine Mechanical Specifications .
  3. Install the connecting rod bearings into the connecting rod cap and the connecting rod.
  4. Notice: Use the correct fastener in the correct location. Replacement fasteners must be the correct part number for that application. Fasteners requiring replacement or fasteners requiring the use of thread locking compound or sealant are identified in the service procedure. Do not use paints, lubricants, or corrosion inhibitors on fasteners or fastener joint surfaces unless specified. These coatings affect fastener torque and joint clamping force and may damage the fastener. Use the correct tightening sequence and specifications when installing fasteners in order to avoid damage to parts and systems.

  5. Install the connecting rod cap and the nuts.
  6. Tighten
    Tighten the connecting rod nuts to 64 N·m (47 lb ft).

  7. Measure the connecting rod bearing inside diameter (ID) using an inside micrometer.
  8. Compare the connecting rod bearing clearance specifications. Refer to Engine Mechanical Specifications .
  9. If the connecting rod bearing clearance is within specifications, the connecting rod bearing is satisfactory.
  10. • If the clearance is not within specifications, replace the connecting rod bearing.
    • Always replace both the upper and the lower connecting rod bearings as an assembly.
  11. A standard or undersize connecting rod bearing combination may result in the proper clearance. If the proper connecting rod bearing clearance cannot be achieved using the standard or the undersize connecting rod bearings, it will be necessary to replace or repair the crankshaft.

Plastic Gauge Method for Main Bearings


    Object Number: 183585  Size: SH

    Notice: Do not shim, scrape, or file bearing inserts. Do not touch the bearing surface of the insert with bare fingers. Skin oil and acids will etch the bearing surface.

  1. Install the crankshaft and crankshaft bearings into the block.

  2. Object Number: 4980  Size: SH
  3. Install the gauging plastic the full width of the crankshaft journal.
  4. Notice: Use the correct fastener in the correct location. Replacement fasteners must be the correct part number for that application. Fasteners requiring replacement or fasteners requiring the use of thread locking compound or sealant are identified in the service procedure. Do not use paints, lubricants, or corrosion inhibitors on fasteners or fastener joint surfaces unless specified. These coatings affect fastener torque and joint clamping force and may damage the fastener. Use the correct tightening sequence and specifications when installing fasteners in order to avoid damage to parts and systems.

    Important: Tighten the inner crankshaft bearing cap bolts before tightening the outer crankshaft bearing cap bolts.

  5. Install the crankshaft bearing caps and the crankshaft bearing cap bolts.
  6. Tighten

    1. Tighten the crankshaft bearing cap inner bolts to 138 N·m (102 lb ft).
    2. Tighten the crankshaft bearing cap outer bolts to 138 N·m (102 lb ft).
  7. Remove the crankshaft bearing cap bolts and crankshaft bearing caps. The gauging plastic may adhere to either the crankshaft journal or the crankshaft bearing surface.

  8. Object Number: 4981  Size: SH
  9. On the edge of the gauging plastic envelope there is a graduated scale. Without removing the gauging plastic, measure the compressed width at the widest point.
  10. If the flattened gauging plastic tapers toward the middle or the ends, there may be a difference in clearance indicating taper, low spot or other irregularity of the crankshaft bearing or the crankshaft journal.
  11. • Normally the crankshaft journals wear evenly and are not out of round. However, if a crankshaft bearing is being fitted to an out of round 0.0254 mm (0.001 in maximum) crankshaft journal, be sure to fit to the maximum diameter of the crankshaft journal.
    • If the crankshaft bearing is fitted to the minimum diameter and the crankshaft journal is excessively out of round, the interference between the crankshaft bearing and the crankshaft journal will result in rapid crankshaft bearing failure.

    Notice: Do not shim, scrape, or file bearing inserts. Do not touch the bearing surface of the insert with bare fingers. Skin oil and acids will etch the bearing surface.

  12. If the crankshaft bearing clearance is within specifications, the crankshaft bearing is satisfactory.
  13. • If the clearance is not within specifications, replace the crankshaft bearing.
    • Always replace both the upper and lower crankshaft bearings as a unit.
    • A standard or undersize crankshaft bearing combination may result in the proper clearance. If the proper crankshaft bearing clearance cannot be achieved using the standard or the undersize crankshaft bearings, it may be necessary to repair or replace the crankshaft.
  14. Remove the flattened gauging plastic.
  15. Measure the remaining crankshaft journals.

Plastic Gauge Method for Connecting Rod Bearings


    Object Number: 354028  Size: SH

    Notice: Do not shim, scrape, or file bearing inserts. Do not touch the bearing surface of the insert with bare fingers. Skin oil and acids will etch the bearing surface.

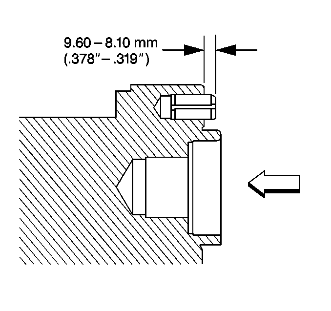
  1. Install the connecting rod bearing into the connecting rod.
  2. Install the piston and connecting rod assembly onto the crankpin journal using the J 5239 .

  3. Object Number: 4980  Size: SH
  4. Install the gauging plastic the full width of the crankpin journal.

  5. Object Number: 354030  Size: SH
  6. Install the connecting rod cap with the connecting rod bearing.

  7. Object Number: 354031  Size: SH

    Notice: Use the correct fastener in the correct location. Replacement fasteners must be the correct part number for that application. Fasteners requiring replacement or fasteners requiring the use of thread locking compound or sealant are identified in the service procedure. Do not use paints, lubricants, or corrosion inhibitors on fasteners or fastener joint surfaces unless specified. These coatings affect fastener torque and joint clamping force and may damage the fastener. Use the correct tightening sequence and specifications when installing fasteners in order to avoid damage to parts and systems.

  8. Install the connecting rod nuts.
  9. Tighten
    Tighten the connecting rod cap nuts to 64 N·m (47 lb ft).

  10. Remove the connecting rod nuts and cap. The gauging plastic may adhere to either the crankpin journal or the connecting rod bearing surface.

  11. Object Number: 4981  Size: SH
  12. On the edge of the gauging plastic envelope there is a graduated scale. Without removing the gauging plastic, measure the compressed width at the widest point.
  13. If the flattened gauging plastic tapers toward the middle or the ends, there may be a difference in clearance indicating taper, low spot or other irregularity of the connecting rod bearing or the crankpin journal.

    Notice: Do not shim, scrape, or file bearing inserts. Do not touch the bearing surface of the insert with bare fingers. Skin oil and acids will etch the bearing surface.

  14. Normally the crankpin journals wear evenly and are not out of round. However, if a connecting rod bearing is being fitted to an out-of-round 0.0254 mm (0.001 in. maximum) crankpin journal, be sure to fit to the maximum diameter of the crankpin journal. If the connecting rod bearing is fitted to the minimum diameter and the crankpin journal is excessively out-of-round, the interference between the connecting rod bearing and the crankpin journal will result in rapid connecting rod bearing failure.
  15. If the connecting rod bearing clearance is within specifications, the connecting rod bearing is satisfactory.
  16. • If the clearance is not within specifications, replace the connecting rod bearing.
    • Always replace both the upper and lower connecting rod bearings as a unit.
    • A standard or undersize connecting rod bearing combination may result in the proper clearance. If the proper connecting rod bearing clearance cannot be achieved using the standard or the undersize connecting rod bearings, it may be necessary to repair or replace the crankshaft or connecting rod.
  17. Remove the flattened gauging plastic.
  18. Measure the remaining crankpin journals.

Measuring Crankshaft End Play


    Object Number: 35199  Size: SH

    Important: In order to properly measure the crankshaft end play, the crankshaft, bearings, bearing caps, and fasteners must be installed into the engine block and the bolts tightened to specifications.

  1. Measure the crankshaft end play.
  2. 1.1. Firmly thrust the end of the crankshaft first rearward then forward. This will line up the rear crankshaft bearing and the crankshaft thrust surfaces.
    1.2. With the crankshaft pushed forward, insert a feeler gauge between the crankshaft and the bearing surface and measure the clearance. Refer to Engine Mechanical Specifications .
    1.3. If the correct end play cannot be obtained, inspect for the following conditions:
       • Verify that the correct size crankshaft bearing has been installed, refer to Engine Mechanical Specifications
       • Inspect the crankshaft thrust wall surface(s) for wear and/or excessive runout, refer to Engine Mechanical Specifications
  3. Inspect the crankshaft for binding. Turn the crankshaft to check for binding. If the crankshaft does not turn freely, loosen the crankshaft bearing bolts, one cap at a time, until the tight bearing is located. The following condition(s) could cause a lack of clearance at the bearing:
  4. • Burrs on the crankshaft bearing cap
    • Foreign matter between the crankshaft bearing and the block or the crankshaft bearing cap
    • A faulty crankshaft bearing

Measuring Connecting Rod Side Clearance


    Object Number: 5163  Size: SH
  1. Insert a feeler gauge between the connecting rod caps and measure the connecting rod side clearance. Refer to Engine Mechanical Specifications .
  2. Connecting rod clearances may also be measured with a dial indicator set.