GM Service Manual Online
For 1990-2009 cars only

Cruise Control Cable Replacement L30/L31/L35

Removal Procedure

  1. Remove the air cleaner assembly from the vehicle.

  2. Object Number: 388618  Size: SH
  3. Disconnect the cruise control cable from the throttle lever (1).

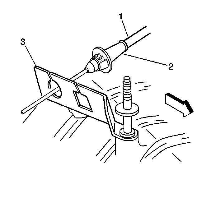
  4. Object Number: 388622  Size: SH
  5. Remove the cruise control cable conduit (2) from the engine bracket (3).

  6. Object Number: 388614  Size: SH
  7. Remove the cable housing (3) from the cruise control module (4).

  8. Object Number: 388606  Size: SH
  9. Disconnect the cable bead (3) from the buckle (1) on the end of the ribbon.
  10. Remove the cable from the vehicle.

Installation Procedure


    Object Number: 276106  Size: SH
  1. Route the cruise control cable (1) from the cruise control module to the throttle lever.

  2. Object Number: 388618  Size: SH
  3. Attach the cruise control cable to the throttle lever (1).

  4. Object Number: 388606  Size: SH
  5. Install the cable bead (3) to the buckle (1) on the end of the ribbon on the cruise control module (2).

  6. Object Number: 388609  Size: SH
  7. Pull the cruise cable (1), engine end fitting (4), until the cable is taut.

  8. Object Number: 388614  Size: SH
  9. Install the cable housing (3) to the cruise control module (4).

  10. Object Number: 388622  Size: SH
  11. Install the cruise control cable conduit (2) to the engine bracket (3).

  12. Object Number: 388618  Size: SH
  13. Connect the cruise control cable (2) to the throttle lever (1).
  14. Install the air cleaner assembly to the vehicle.

Cruise Control Cable Replacement L29

Removal Procedure

  1. Remove the air cleaner assembly from the vehicle.

  2. Object Number: 388616  Size: SH
  3. Disconnect the cruise control cable from the throttle lever (1).

  4. Object Number: 388626  Size: SH
  5. Remove the cruise control cable conduit (2) from the engine bracket (3).

  6. Object Number: 388614  Size: SH
  7. Remove the cable housing (3) from the cruise control module (4).

  8. Object Number: 388606  Size: SH
  9. Disconnect the cable bead (3) from the buckle (1) on the end of the ribbon.
  10. Remove the cable from the vehicle.

Installation Procedure


    Object Number: 276106  Size: SH
  1. Route the cruise control cable (1) from the cruise control module to the throttle lever.

  2. Object Number: 388616  Size: SH
  3. Attach the cruise control cable (2) to the throttle lever (1).

  4. Object Number: 388606  Size: SH
  5. Install the cable bead (3) to the buckle (1) on the end of the ribbon on the cruise control module (2).

  6. Object Number: 388609  Size: SH
  7. Pull the cruise cable (1), engine end fitting (4), until the cable is taut.

  8. Object Number: 388614  Size: SH
  9. Install the cable housing (3) to the cruise control module (4).

  10. Object Number: 388626  Size: SH
  11. Install the cruise control cable conduit (2) to the engine bracket (3).

  12. Object Number: 388616  Size: SH
  13. Connect the cruise control cable (2) to the throttle lever (1).
  14. Install the air cleaner assembly to the vehicle.