GM Service Manual Online
For 1990-2009 cars only

Z Height Measurement

  1. Lift the front bumper of the vehicle up about 38 mm (1.5 in).
  2. Gently remove your hands. Let the vehicle settle.
  3. Repeat this operation for a total of three times.

  4. Object Number: 156337  Size: SH
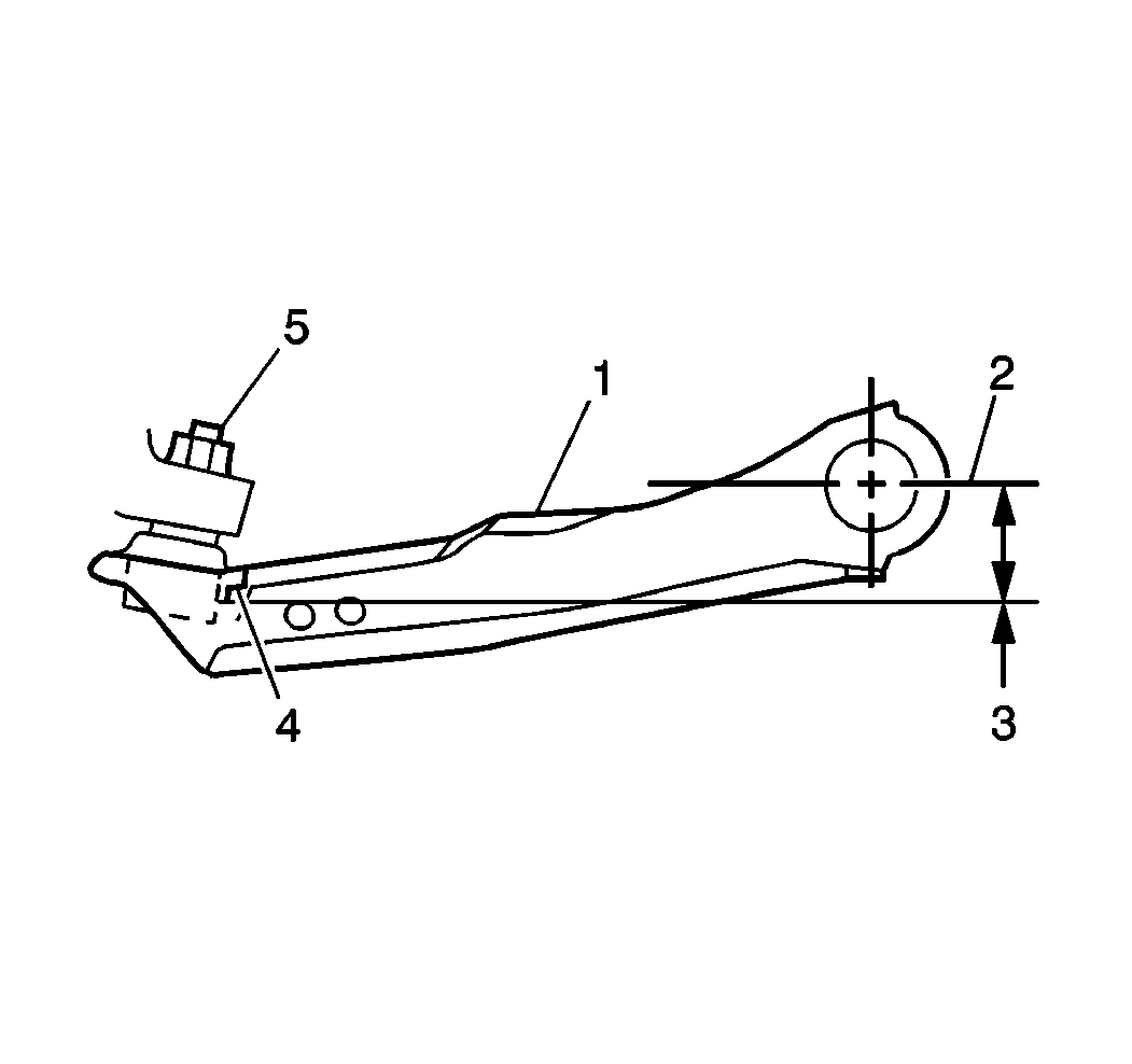
  5. For 2WD vehicles, measure from the pivot bolt center line (2) down to the lower ball joint extrusion (4) in order to obtain the Z height dimension (3).

  6. Object Number: 156339  Size: SH
  7. For 4WD vehicles, measure from the pivot bolt center line (2) down to the lower corner (5) of the steering knuckle (1) in order to obtain the Z height measurement (4). For torsion bar adjustment, refer to Torsion Bar and Support Assembly Replacement in Front Suspension.
  8. Push the front bumper of the vehicle down about 38 mm (1.5 in).
  9. Gently remove your hands.
  10. Allow the vehicle to rise.
  11. Repeat the operation twice for a total of three times.
  12. Measure the Z dimension.
  13. The true Z dimension number is the average of the high and low measurements.

    • For C1, 2, and 3 vehicles, the Z measurement should be between 89-101 mm (3.5-4.0 in).
    • For K models, use the following Z measurements:
       - K1,2 models (except K10906 + L65 and K20906 + C6P)--151-163 mm (5.9-6.4 in)
       - K models (10906 + L65 and 20906 + C6P + 3)--139-151 mm (5.5-5.9 in)
       - K3 models--139-151 mm (5.5-5.9 in)

D Height Measurement


    Object Number: 156342  Size: SH
  1. Lift the rear bumper of the vehicle 38 mm (1.5 in).
  2. Gently remove your hands. Let the vehicle settle.
  3. Repeat this operation for a total of three times.
  4. Measure the D dimension (2). Measure from the bottom surface of jounce bracket (6) to the top of the axle jounce pad (3).
  5. Push the rear bumper of the vehicle downward 38 mm (1.5 in).
  6. Gently remove your hands. Let the vehicle rise.
  7. Repeat this operation for a total of three times.
  8. Measure the D dimension.
  9. The true D dimension is the average of the high and the low measurements.