GM Service Manual Online
For 1990-2009 cars only

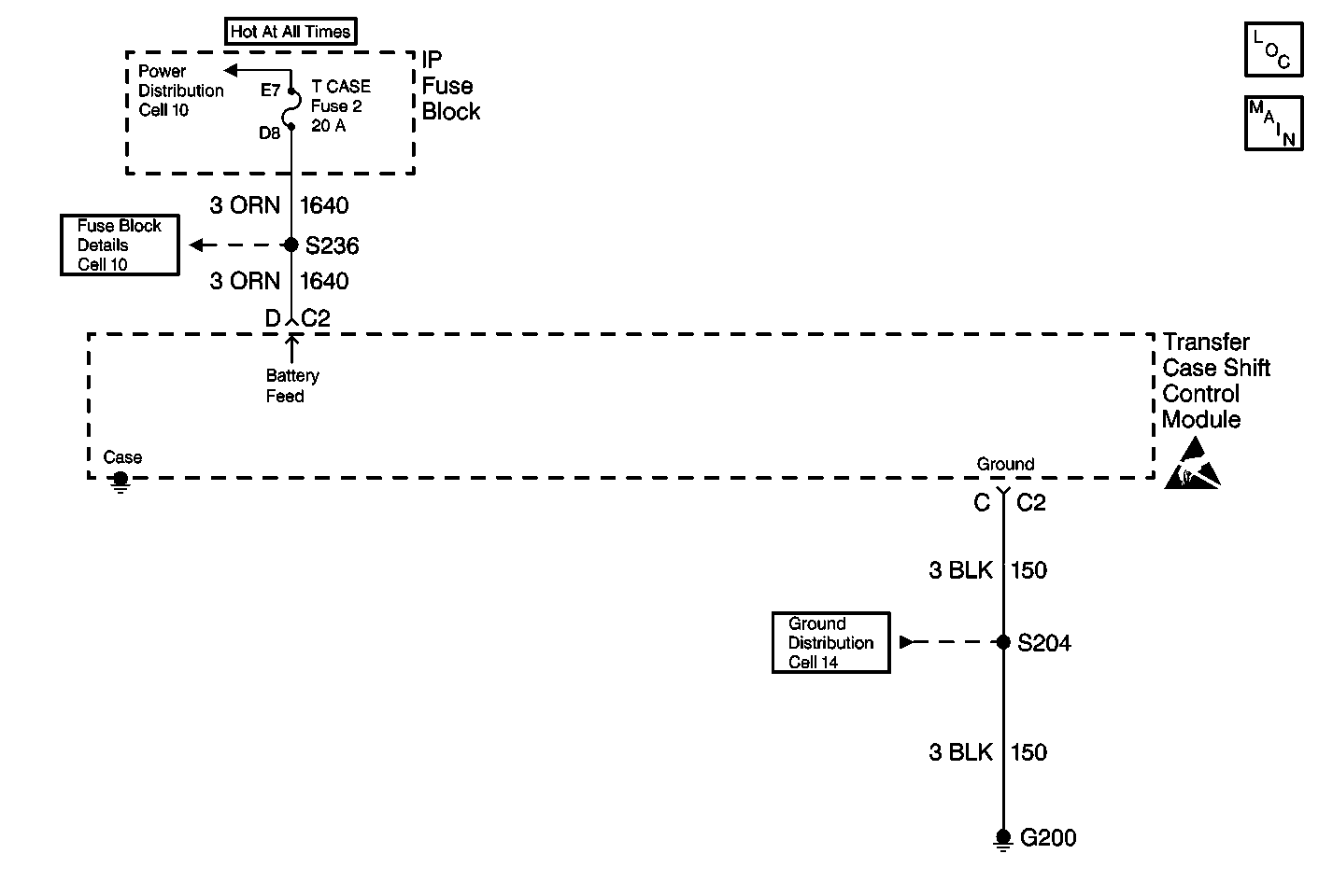
Object Number: 450737  Size: MF
Transfer Case Control Components
Transfer Case Control Schematics Automatic 4WD

Circuit Description

The transfer case motor is a bi-directional, permanent magnet, DC motor. When energized, (through CKTS 1552, 1553, and the ground CKT 150, the module utilize for motor control), the motor, through a series of gears, rotates a shaft which moves the mode and range forks to shift the transfer case between 4H, AUTO (Adapt), 2H, N, and 4L ranges.

This DTC detects an open ground CKT 150.

Conditions for Setting the DTC

The system test the motor circuits:

    • The system checks for unwanted voltage.
    • The system supplies voltage on each of the motor circuits and reads the voltage back on the other circuit.
    • The system checks for opens and shorts on the motor circuits, its applies voltage to the motor and the voltage on the ground circuit.
    • If the system detects a high voltage return on the ground circuit, the DTC is logged. The transfer case shift control module senses a low voltage return on CKT 150 when a low voltage is expected.

Action Taken When the DTC Sets

  1. All shifting will be disabled.
  2. The SERVICE indicator (AWD/4WD) lamp will be latched on for the remainder of the current ignition cycle.

Conditions for Clearing the DTC

    • The transfer case shift control module will clear the DTC if the condition for setting the DTC no longer exists.
    • A history DTC will clear after 100 consecutive ignition cycles without a fault present.
    • History DTCs can be cleared using a scan tool.

Test Description

The number(s) below refer to the step number(s) on the diagnostic table.

  1. This step determines if there is an open in circuit 150.

DTC C0315 Motor Ground Circuit Open

Step

Action

Value(s)

Yes

No

1

Was the Transfer Case Diagnostic System Check performed?

--

Go to Step 2

Go to Transfer Case Diagnostic System Check

2

  1. Turn the ignition OFF.
  2. Disconnect connector C2 at the transfer case shift control module.
  3. Use a J 39200 Digital Multimeter DMM in order to measure the resistance between harness connector C2 terminal C to ground.

Is the resistance reading within the specified values?

0-5 ohms

Go to Step 4

Go to Step 3

3

Repair a loose or open in ground CKT 150 between the transfer case shift control module and splice pack SP 204. Refer to Wiring Repairs in Wiring Systems.

Is the repair complete?

--

Go to Step 5

--

4

Replace the transfer case shift control module. Refer to Transfer Case Shift Control Module Replacement .

Is the repair complete?

--

Go to Step 5

--

5

  1. Ensure the ignition is OFF.
  2. Properly mount and reconnect all previously disconnected ATC components.

Have all the ATC components been reconnected and properly mounted?

--

Go to Step 6

--

6

Clear all ATC DTCs.

Have all the ATC DTCs been cleared?

--

Go to Transfer Case Diagnostic System Check

--