GM Service Manual Online
For 1990-2009 cars only

Object Number: 450753  Size: MF
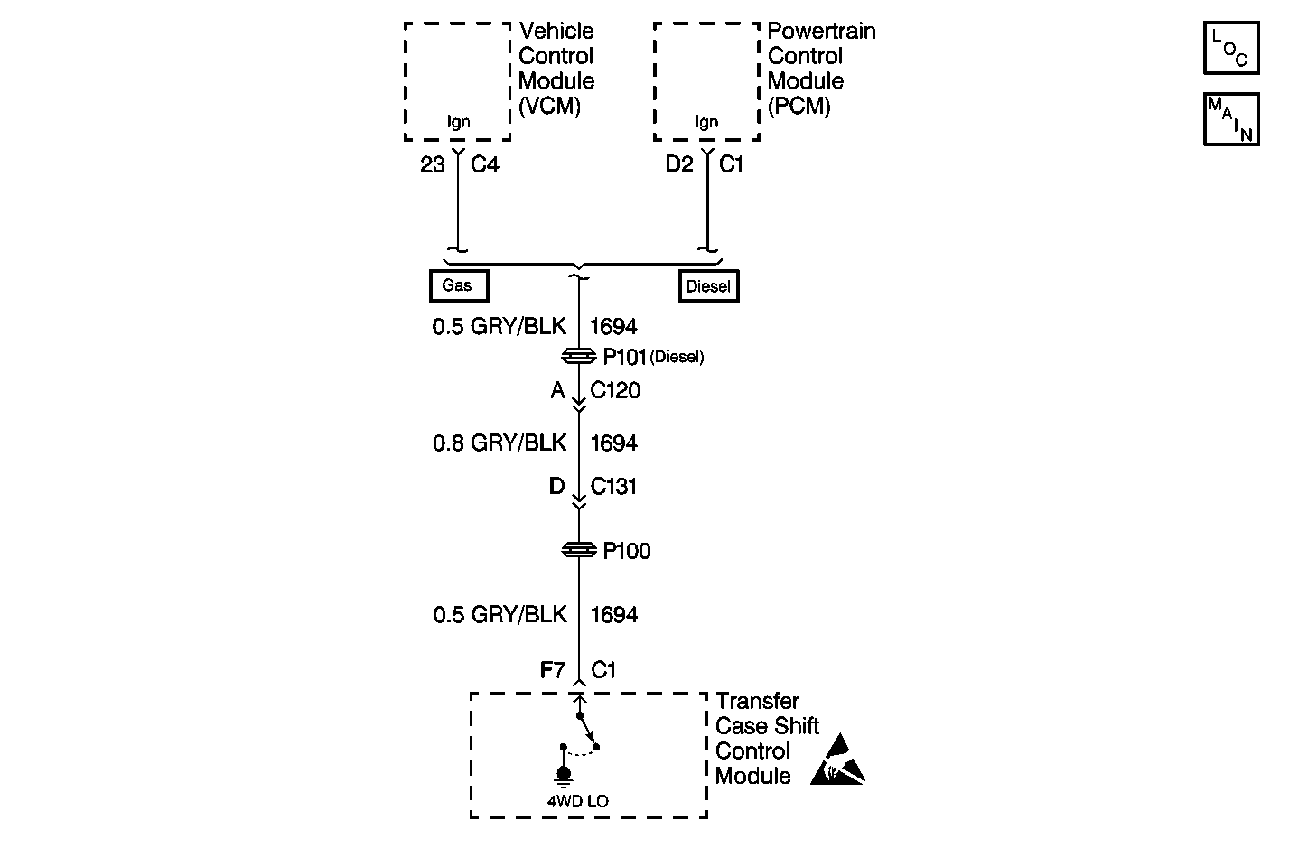
Transfer Case Control Components
Transfer Case Control Schematics Automatic 4WD

Circuit Description

CKT 1694 is used to notify the vehicle control module (VCM) powertrain control module (PCM) that the vehicle is in 4WD low range. The vehicle control module (VCM) powertrain control module (PCM) supplies 12 V on this circuit. The transfer case shift control module supplies a ground on this circuit when the vehicle is in 4WD low range.

This DTC detects an transfer case shift control module problem, a short to voltage on CKT 1694.

Conditions for Setting the DTC

    • After the system turns the output on, (grounding CKT 1694), and reads back a high voltage, the DTC is set. The system will not attempt it again during that ignition cycle.
    • The transfer case shift control module reads back a high voltage when a low voltage is expected on the 4 low discrete output, CKT 1694.

Action Taken When the DTC Sets

    • May affect the transmission shift points.
    • The SERVICE indicator (AWD/4WD) lamp will be latched on for the remainder of the current ignition cycle.

Conditions for Clearing the DTC

    • The transfer case shift control module will clear the DTC if the condition for setting the DTC no longer exits.
    • A history DTC will clear after 100 consecutive ignition cycles without a fault present.
    • History DTCs can be cleared using a scan tool.

Test Description

The number(s) below refer to the step number(s) on the diagnostic table.

  1. This step determines if the transfer case shift control module is receiving the specified voltage from the Powertrain Control Module (PCM).

  2. This step determines if circuit 1694 has a short to voltage.

Step

Action

Value(s)

Yes

No

1

Was the Transfer Case Diagnostic System Check performed?

--

Go to Step 2

Go to Transfer Case Diagnostic System Check

2

  1. Turn the ignition OFF.
  2. Disconnect both transfer case shift control module connectors.
  3. Turn the ignition ON, engine OFF.
  4. Use a DMM in order to measure the voltage between the transfer case shift control module connector C1 terminal F7 to ground.

Is the voltage reading within the specified values?

11-13.5 V

Go to Step 3

Go to Step 4

3

Replace the transfer case shift control module. Refer to Transfer Case Shift Control Module Replacement .

Is the action complete?

--

Go to Step 7

--

4

  1. Turn the ignition OFF.
  2. Disconnect the Vehicle Control Module (VCM)/Powertrain Control Module (PCM) connectors.
  3. Turn the ignition ON.
  4. Use a DMM in order to measure the voltage between the transfer case shift control module connector C1 terminal F7 to ground.

Is the voltage reading within the specified value?

11-13.5 V

Go to Step 5

Go to Step 6

5

Repair a short to voltage in CKT 1694. Refer to Wiring Repairs in Wiring Systems.

Is the repair complete?

--

Go to Step 7

--

6

Replace the Powertrain Control Module (PCM). Refer to Powertrain Control Module Replacement/Programming and VCM Replacement/Programming .

Is the action complete?

--

Go to Step 7

--

7

  1. Ensure the ignition is OFF.
  2. Properly mount and reconnect all previously disconnected ATC components.

Have all the ATC components been reconnected and properly mounted?

--

Go to Step 8

--

8

Clear all ATC DTCs.

Have all the ATC DTCs been cleared?

--

Go to Transfer Case Diagnostic System Check

--