GM Service Manual Online
For 1990-2009 cars only

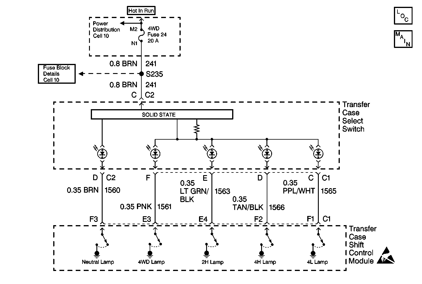
Object Number: 450766  Size: MF
Transfer Case Control Components
Transfer Case Control Schematics Automatic 4WD

Test Description

The number(s) below refer to the step number(s) on the diagnostic table.

  1. This step determines if the transfer case shift control module has electronic control of the switch indicator lamps.

  2. This step provides a ground to the indicator lamp circuits in order to eliminate the transfer case shift control module.

  3. This step checks for B+ in the indicator lamp circuits.

One or More Switch Indicator Lamps Does Not Light

Step

Action

Value(s)

Yes

No

1

Was the Transfer Case Diagnostic System Check performed?

--

Go to Step 2

Go to Transfer Case Diagnostic System Check

2

  1. Connect a Scan Tool .
  2. Turn the ignition to RUN, engine OFF.
  3. Use the Scan Tool in order to command each of the switch indicator lamps On.

Do the switch indicator lamps turn On?

--

Go to Step 7

Go to Step 3

3

  1. Use the Scan Tool to view the ATC Data List.
  2. Observe the states of the Indicator Lamps.
  3. Use the Scan Tool in order to command each of the switch indicator lamps On.

Do each of the switch indicator lamp states change from OFF to ON as Indicator Lamps are commanded ON?

--

Go to Step 7

Go to Step 4

4

  1. Disconnect both connectors at the transfer case shift control module.
  2. Use a fused jumper wire in order to jump to ground each of the indicator lamp circuits.

Do each of the lamps illuminate when its circuit is grounded?

--

Go to Step 7

Go to Step 5

5

Connect a J 39200 Digital Multimeter DMM between the suspect circuit and ground in order to measure voltage.

Is the voltage within the specified value?

9-14 V

Go to Step 8

Go to Step 6

6

Inspect the suspect circuit(s) for open. Refer to Wiring Repairs in Wiring Systems.

Were the suspected circuit(s) open?

--

Go to Step 9

Go to Step 8

7

Replace the transfer case shift control module. Refer to Transfer Case Shift Control Module Replacement .

Is the action complete?

--

Go to Step 10

--

8

Replace the range/mode switch. Refer to Transfer Case Shift Control Switch Replacement .

Is the action complete?

--

Go to Step 10

--

9

Repair an open in the suspect circuit(s). Refer to Wiring Repairs in Wiring Systems.

Is the repair complete?

--

Go to Step 10

--

10

  1. Ensure the ignition is OFF.
  2. Properly mount and reconnect all previously disconnected ATC components.

Have all the ATC components been reconnected and properly mounted?

--

Go to Step 11

--

11

Clear all ATC DTCs.

Have all the ATC DTCs been cleared?

--

Go to Transfer Case Diagnostic System Check

--