GM Service Manual Online
For 1990-2009 cars only

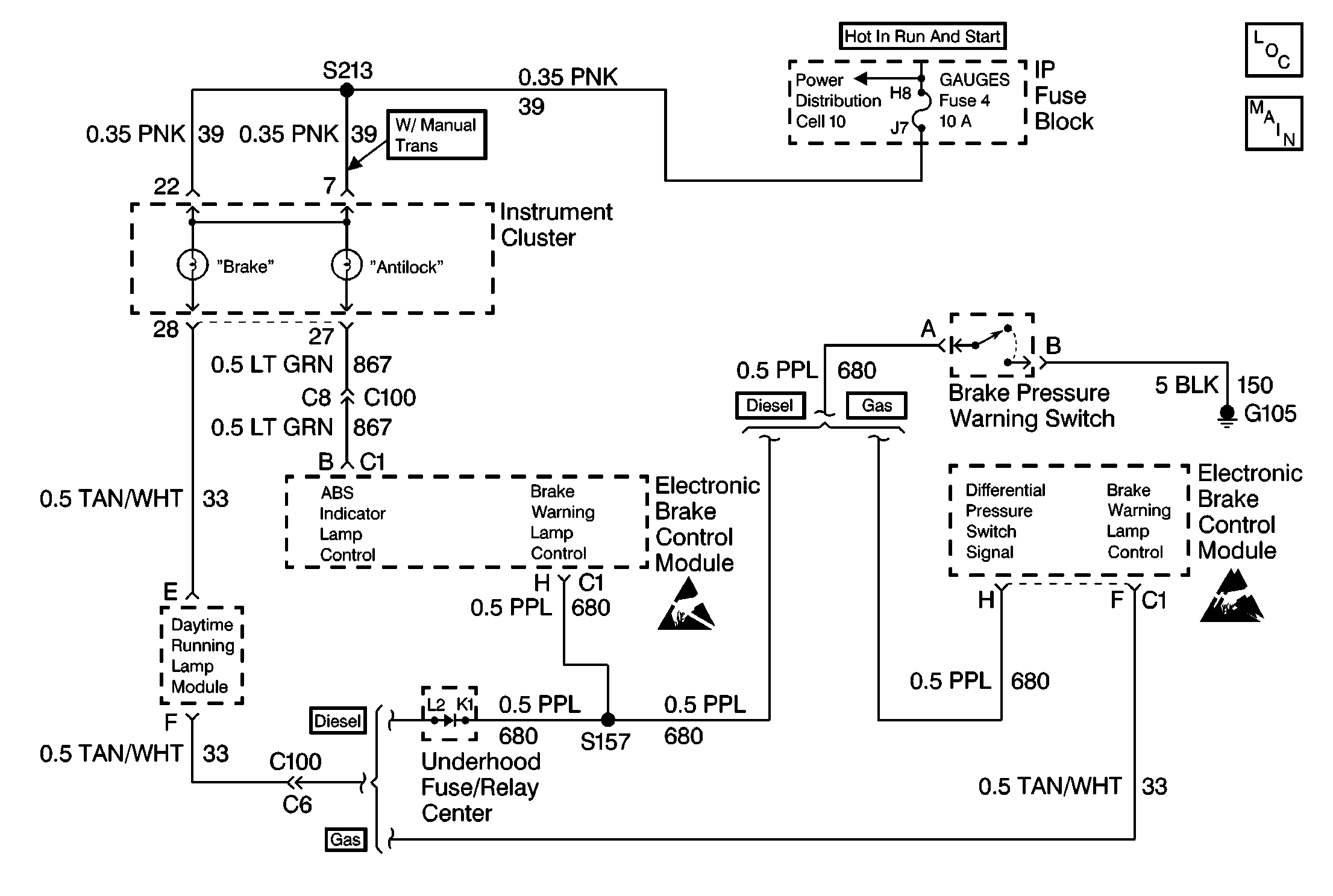
Object Number: 191453  Size: MF
ABS Components
Antilock Brake System Schematics

Circuit Description

The EBCM controls the ABS indicator lamp illumination by supplying a ground to the EBCM 10-way terminal B. When the vehicle is started or the ignition is turned to the RUN position, the ABS indicator should illuminate for three seconds and turn off.

Diagnostic Aids

If the ABS indicator lamp is off constantly, an open or short to voltage in the ABS indicator lamp circuit or the instrument cluster. Also check for an open instrument cluster fuse or an open ABS indicator lamp.

Test Description

The numbers below refer to the steps in the diagnostic table:

  1. This step tests for ignition voltage up to the EBCM harness connector.

  2. This step uses a voltage check to tell if there is a good ground path through terminal B in the 2-way harness connector. The ground supplied through terminal B is used internal to the EBCM to control the ABS indicator lamp through terminal B in the 10-way EBCM connector.

  3. After the power and ground circuits have been verified, this step uses the EBCM self test to determine if the problem is intermittent or if the EBCM is faulty.

  4. The voltage check in step 3 failed. This step goes further to check for the proper voltage from CKT 39 at the input to the instrument cluster.

  5. This step checks for continuity in CKT 867, and decides between an open in CKT 867, or a fault internal to the instrument cluster.

  6. The voltage check in step 6 failed. This step checks for a short to ground in CKT 39 as a potential cause.

  7. This step uses a resistance check of the EBCM ground circuit to decide between an open ground in CKT 150 or internal to the EBCM.

Step

Action

Value(s)

Yes

No

1

Was the Diagnostic System Check performed?

--

Go to Step 2

Go to Diagnostic System Check

2

Check the condition of the ABS indicator lamp bulb.

Is the bulb OK?

--

Go to Step 3

Go to Step 10

3

  1. Turn the ignition to OFF.
  2. Disconnect the 10-way EBCM harness connector from the EBCM.
  3. Turn the ignition switch to RUN.
  4. Using a J 39200 , measure the voltage between terminal B of the EBCM harness connector and ground.

Is the voltage measurement within the specified range?

10-15V

Go to Step 4

Go to Step 6

4

  1. Disconnect the 2-way EBCM harness connector.
  2. Using a J 39200 , measure the voltage between terminals A and B in the 2-way EBCM harness connector.

Is the voltage measurement within the specified range?

10-15V

Go to Step 5

Go to Step 9

5

  1. Reconnect the 10-way and 2-way EBCM harness connectors.
  2. Turn the ignition to RUN

  3. Observe the ABS indicator

Did the ABS indicator lamp turn on for three seconds then go out?

--

Malfunction is intermittent. Refer to Diagnostic Aids

Go to Step 11

6

  1. Disconnect the instrument cluster harness connector from the instrument cluster.
  2. Turn the ignition to RUN.
  3. Using a J 39200 , measure the voltage between terminal 22 (w/automatic trans.), or terminal 7 (w/manual trans.) in the instrument cluster harness connector.

Is the voltage measurement within the specified range?

10-15V

Go to Step 7

Go to Step 8

7

  1. Connect a jumper between terminal 27 in the instrument cluster harness connector and ground.
  2. Using a J 39200 , measure the resistance between terminal B in the 10-way EBCM harness connector and ground.

Is the resistance measurement within the specified range?

0-2ohms

Refer to Instrument Cluster System Check in Instrument Panel, Gauges, and Console.

Go to Step 12

8

  1. Turn the ignition to OFF.
  2. Replace the GAUGES fuse.
  3. Turn the ignition to RUN.
  4. Remove and inspect the 10 amp GAUGES fuse.

Is the GAUGES fuse open?

--

Go to Step 13

Go to Step 14

9

Using a J 39200 , measure the resistance between terminal B in the 2-way EBCM harness connector and ground.

Is the resistance measurement within the specified range?

0-2ohms

Go to Step 11

Go to Step 15

10

Replace the ABS indicator lamp.

Is the repair complete?

--

Go to Diagnostic System Check

--

11

Replace the EBCM.

Refer to Electronic Brake Control Module Replacement

Is the repair complete?

--

Go to Diagnostic System Check

--

12

Repair the open or the high resistance in CKT 867.

Is the repair complete?

--

Go to Diagnostic System Check

--

13

Repair the short to ground in CKT 39. Refer to Power Distribution Schematics in Wiring Systems.

Is the repair complete?

--

Go to Diagnostic System Check

--

14

Repair the open or high resistance in CKT 39. Refer to Power Distribution Schematics in Wiring Systems.

Is the repair complete?

--

Go to Diagnostic System Check

--

15

Repair the open in CKT 150. Refer to Ground Distribution Schematics in Wiring Systems.

Is the repair complete?

--

Go to Diagnostic System Check

--