GM Service Manual Online
For 1990-2009 cars only
Table 1: WSS Temperature vs. Sensor Resistance (2WD only)
Table 2: WSS Temperature vs. Sensor Resistance (4WD only)

Object Number: 191462  Size: MF
ABS Components
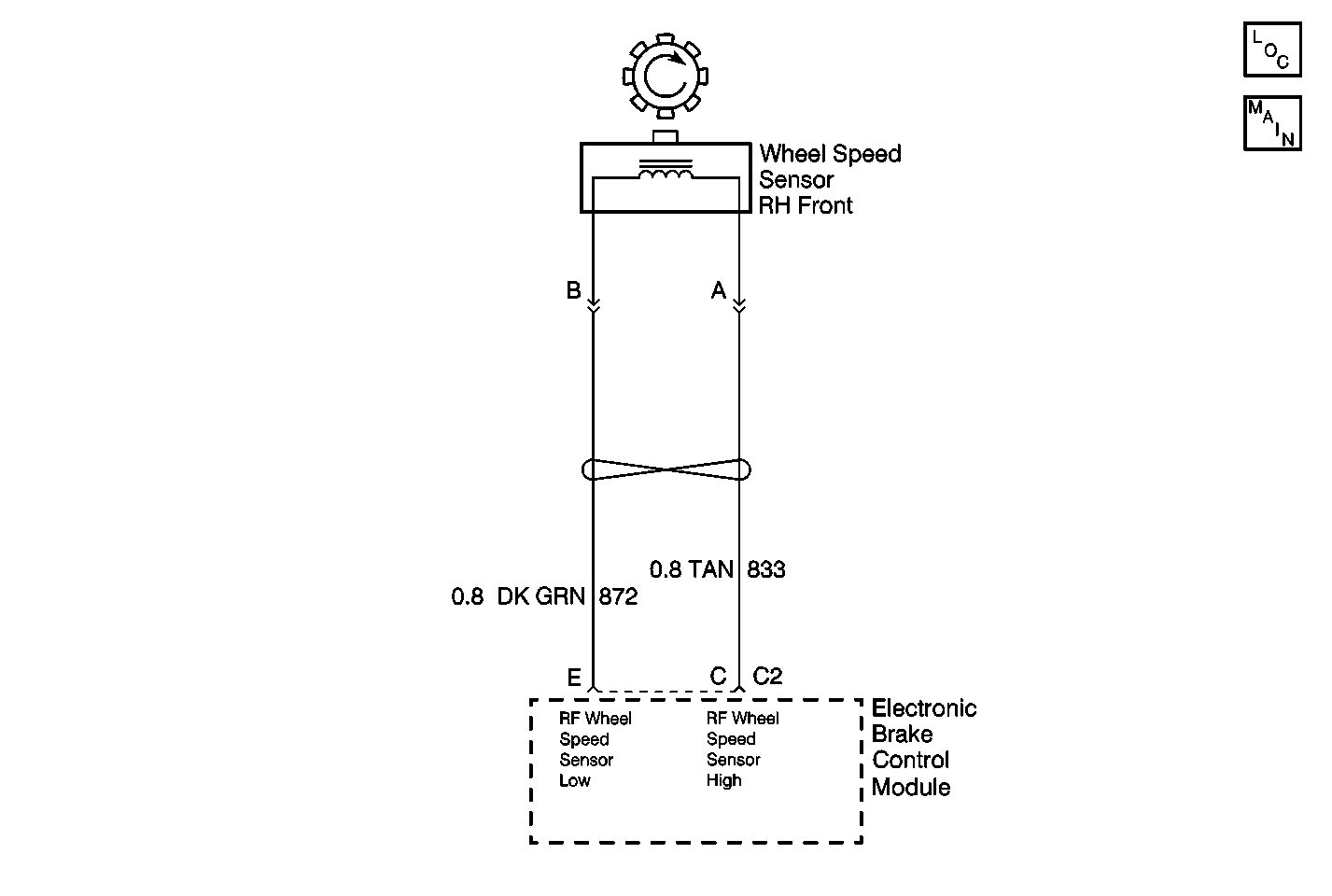
Antilock Brake System Schematics

Circuit Description

The wheel speed sensor coil emits an electromagnetic field. A toothed ring on the wheel passes by the wheel speed sensor and disrupts this electromagnetic field. The disruption in the field causes the wheel speed sensor to produce a sinusoidal (AC) voltage signal. The frequency and amplitude of the sinusoidal (AC) voltage signal are proportional to the speed of the wheel. The amplitude of the wheel speed signal is also directly related to the distance between the wheel speed sensor coil and the toothed ring. This distance is referred to as the air gap.

Conditions for Setting the DTC

    • The right front wheel speed is less than 6 km/h (4 mph)
    • All other wheel speeds are greater than 13 km/h (8 mph)
    • No unexpected wheel acceleration/deceleration. Anything that keeps the right front wheel speed sensor low while the vehicle is moving above 13 km/h (8 mph).

Action Taken When the DTC Sets

    • The ABS indicator lamp turns on
    • The ABS disables

DTC C0222 is an Ignition Latched DTC, which indicates that the above actions remain true until the ignition is turned to OFF (even if the cause of the DTC is intermittent).

Conditions for Clearing the DTC

    • Repair the conditions responsible for setting the DTC
    • Use the Scan Tool Clear DTCs function

Diagnostic Aids

Any of the following conditions may cause an intermittent malfunction:

    • A poor connection
    • Wire insulation that is rubbed through
    • A wire breaks inside the insulation

Thoroughly check any circuitry that is suspected of causing the intermittent complaint for the following conditions:

    • Backed out terminals
    • Improper mating
    • Broken locks
    • Improperly formed or damaged terminals
    • Poor terminal to wiring connections
    • Physical damage to the wiring harness

If the customer says that the ABS indicator lamp is on only during humid conditions such as rain, snow, or vehicle wash, then thoroughly inspect all wheel speed sensor circuits for signs of water intrusion. Use the following procedure:

  1. Spray the suspected area with a 5% salt water solution (two teaspoons of salt to 12 oz. of water)
  2. Drive the vehicle above 24 km/h (15 mph) for at least 30 seconds

If the DTC returns, replace the suspected harness.

When inspecting a wheel speed sensor, inspect the sensor terminals and the harness connector for corrosion. If evidence of corrosion exists, then replace the wheel speed sensor. Refer to Wheel Speed Sensor Replacement .

Resistance of the wheel speed sensor will increase with an increase in sensor temperature. Refer to the following tables for temperature/resistance values.

WSS Temperature vs. Sensor Resistance (2WD only)

°C

°F

Ohms

Temperature vs Resistance Values (Approximate)

-40 to 4

-40 to 40

1575 to 2420

5 to 43

41 to 110

980 to 2800

44 to 93

111 to 200

2250 to 3280

94 to 150

201 to 302

2750 to 3850

WSS Temperature vs. Sensor Resistance (4WD only)

°C

°F

Ohms

Temperature vs Resistance Values (Approximate)

-40 to 4

-40 to 40

702 to 1060

5 to 43

41 to 110

855 to 1230

44 to 93

111 to 200

1000 to 1440

94 to 150

201 to 302

1170 to 1661

Test Description

The numbers below refer to the steps in the diagnostic table:

  1. This step checks the resistance of the right front wheel speed sensor.

  2. This step checks the voltage output of the right front wheel speed sensor.

  3. This step checks for a short in the wiring between the wheel speed sensor circuits.

  4. This step checks for a short to ground in the right front wheel speed sensor circuits.

Step

Action

Value(s)

Yes

No

1

Was the Diagnostic System Check performed?

--

Go to Step 2

Go to Diagnostic System Check

2

  1. Turn the ignition to OFF.
  2. Inspect the right front wheel speed sensor, sensor wire and the connectors for signs of damage or corrosion.
  3. Inspect the wheel speed sensor and the toothed ring for looseness. Any deviation will affect the wheel speed sensor output signal.
  4. Inspect the 4-way EBCM harness connector and harness for signs of damage or corrosion.

Can you observe physical damage?

--

Go to Step 8

Go to Step 3

3

  1. Disconnect the right front wheel speed sensor harness connector from the wheel speed sensor.
  2. Using a J 39200 , measure the resistance between terminal A and terminal B of the right front wheel speed sensor connector.

Is the resistance measurement within the specified range? (Refer to the table on the previous page for applicable sensor resistance values. The values in these tables are for the temperature of the sensor, not the air temperature.)

--

Go to Step 4

Go to Step 9

4

  1. With the J 39200 still connected, select the A/C voltage scale.
  2. Spin the wheel by hand while observing the voltage reading.

Is the voltage measured equal to or greater than the specified value?

100 mV

Go to Step 5

Go to Step 9

5

  1. Disconnect the 4-way EBCM harness connector from the EBCM.
  2. Using a J 39200 , measure the resistance between terminal C and terminal E of the 4-way EBCM harness connector.

Is the resistance measurement equal to the specified value?

OL

Go to Step 6

Go to Step 11

6

  1. Reconnect the right front wheel speed sensor.
  2. Using a J 39200 , measure the resistance between terminal C of the 4-way EBCM harness connector and ground.

Is the resistance measurement equal to the specified value?

OL

Go to Step 7

Go to Step 12

7

  1. Inspect the 4-way EBCM harness connector terminal C and terminal E for poor terminal contact or corrosion.
  2. Inspect CKT 833 and CKT 872 for damage that could result in a shorted circuit. Repair any evident damage.
  3. Replace the terminals if poor contact or corrosion exists.
  4. Reconnect all the connectors.
  5. Clear all DTCs using the Scan Tool .
  6. Test drive the vehicle above 24 km/h (15 mph).

Does the DTC set as a current DTC?

--

Go to Step 10

Go to Step 13

8

Make the necessary repairs.

Is the repair complete?

--

Go to Diagnostic System Check

--

9

Replace the right front wheel speed sensor.

Refer to Wheel Speed Sensor Replacement .

Is the repair complete?

--

Go to Diagnostic System Check

--

10

Replace the EBCM.

Refer to Electronic Brake Control Module Replacement .

Is the repair complete?

--

Go to Diagnostic System Check

--

11

Repair the short between CKT 833 and CKT 872.

Is the repair complete?

--

Go to Diagnostic System Check

--

12

Repair the short to ground in CKT 833 or CKT 872.

Is the repair complete?

--

Go to Diagnostic System Check

--

13

Malfunction is intermittent. Inspect all connectors for damage which may result in high resistance when all components are connected. Refer to Diagnostic aids on the facing page for more information. Repair all damage found.

Is the repair complete?

--

Go to Diagnostic System Check

--