Removal Procedure
- Drain the engine coolant. Refer to
Cooling System Draining and Filling
in Engine Cooling.
- Remove the right rear quarter trim panel. Refer to
Rear Quarter Trim Panel Replacement
in Interior
Trim.
- Remove the right rear wheelhouse panel. Refer to
Wheelhouse Panel Replacement
in Front End.
- Disconnect the auxiliary heater hoses from the heater core.
- Disconnect the electrical connectors, as necessary.
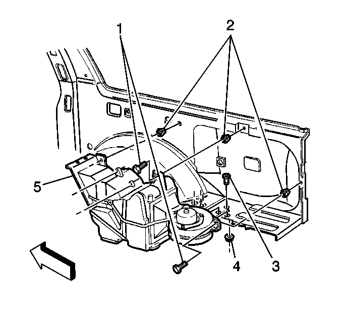
- Remove the drain valve
(3).
- Remove the bolts (1)
- Remove the nuts (2, 4).
- Remove the heater module.
- Remove the blower motor, if necessary. Refer to
Auxiliary Blower Motor Replacement
.
- Remove the heater case cover.
- Remove the heater core.
Installation Procedure
- Install the heater core.
- Install the heater case cover.
- Install the blower motor, if necessary. Refer to
Auxiliary Blower Motor Replacement
.
- Install the heater module.
- Install the nuts (2, 4).
- Install the bolts.
Notice: Use the correct fastener in the correct location. Replacement fasteners
must be the correct part number for that application. Fasteners requiring
replacement or fasteners requiring the use of thread locking compound or sealant
are identified in the service procedure. Do not use paints, lubricants, or
corrosion inhibitors on fasteners or fastener joint surfaces unless specified.
These coatings affect fastener torque and joint clamping force and may damage
the fastener. Use the correct tightening sequence and specifications when
installing fasteners in order to avoid damage to parts and systems.
- Tighten the following
fasteners:
Tighten
| • | Tighten the bolts to 1.5 N·m (13 lb in). |
| • | Tighten the nuts to 10 N·m (89 lb in). |
- Install the drain valve (3).
- Connect the electrical connectors, as necessary.
- Connect the auxiliary heater hoses to the heater core.
- Install the right rear wheelhouse panel. Refer to
Wheelhouse Panel Replacement
in Front End.
- Install the right rear quarter trim panel. Refer to
Rear Quarter Trim Panel Replacement
in Interior
Trim.
- Add the engine coolant. Refer to
Cooling System Draining and Filling
in Engine Cooling.
- Inspect the system for leaks.
If the fluid charging system is not used, the system must be burped
to release air bubbles.