GM Service Manual Online
For 1990-2009 cars only

Removal Procedure

    Caution: Unless directed otherwise, the ignition and start switch must be in the OFF or LOCK position, and all electrical loads must be OFF before servicing any electrical component. Disconnect the negative battery cable to prevent an electrical spark should a tool or equipment come in contact with an exposed electrical terminal. Failure to follow these precautions may result in personal injury and/or damage to the vehicle or its components.

  1. Disconnect the negative battery cable.
  2. Remove the instrument panel compartment. Refer to Instrument Panel Compartment Replacement in Instrument Panel, Gauges and Console.
  3. Disconnect the electrical connectors as necessary.

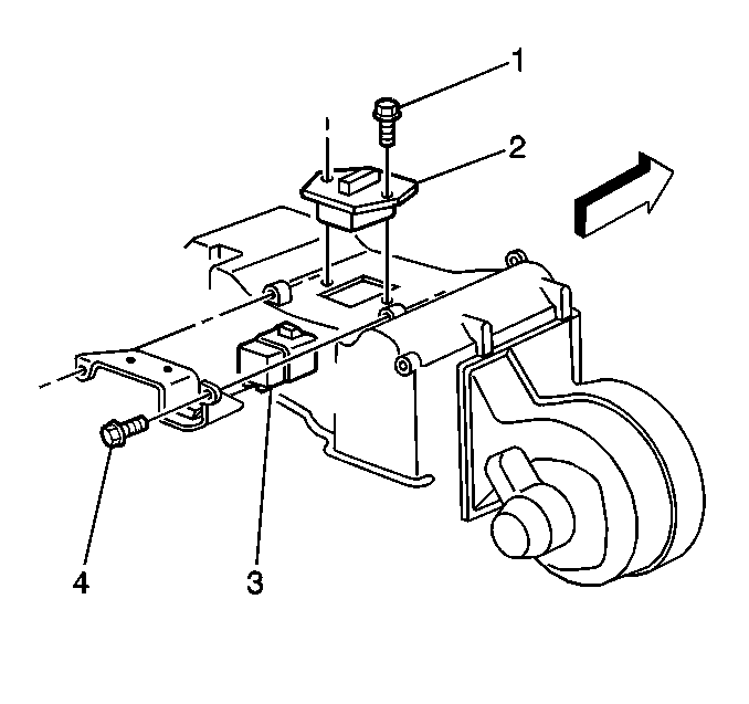
  4. Object Number: 257990  Size: SH
  5. Remove the relay (3) from the relay bracket.

Installation Procedure


    Object Number: 257990  Size: SH
  1. Install the relay (3) to the relay bracket.
  2. Connect the electrical connectors, as necessary.
  3. Install the instrument panel compartment. Refer to Instrument Panel Compartment Replacement in Instrument Panel, Gauges and Console.
  4. Connect the negative battery cable.
  5. Test the circuit operation.