GM Service Manual Online
For 1990-2009 cars only

HVAC Compressor Clutch Circuit Diagnosis Gas


Object Number: 190387  Size: LF
Engine Controls Component Views
A/C Controls
OBD II Symbol Description Notice
Handling ESD Sensitive Parts Notice

Circuit Description

The VCM control of the A/C clutch improves idle quality and performance by performing the following conditions:

    • Delaying clutch engagement until the idle speed is increased
    • Releasing the clutch when the idle speed is too low
    • Providing additional fuel at the instant the clutch is applied

The additional fuel smooths the cycling of the compressor.

Turning the air conditioning ON supplies battery voltage through the pressure switches to the VCM. When the VCM receives the voltage on the A/C request signal, the A/C enable relay circuit is grounded. The A/C compressor clutch then engages.

Diagnostic Aids

If the air conditioning system seems to be operating correctly at this time check the following:

    • An intermittent condition caused by one of the following:
       - Backed out terminals
       - Improper mating
       - Broken locks
       - Improperly formed or damaged terminals
       - Poor terminal to wire connection
       - Physical damage to the wiring harness
       - Corrosion
       - Moisture in the connector
    • Refer to Cooling Insufficient - Air Conditioning (A/C) Inoperative for an insufficient cooling condition.

Test Description

The numbers below refer to the step numbers on the diagnostic table.

  1. Checks for low refrigerant as the cause for no A/C.

  2. The A/C request signal circuit consists of the HVAC Control module, the A/C high pressure cutout switch and related wiring.

Step

Action

Value(s)

Yes

No

1

Important: Before using this table confirm that the A/C system has an adequate state of charge.

Does the A/C system have an adequate state of charge?

--

Go to Step 2

Go to CCOT Air Conditioning (A/C) System Diagnosis

2

  1. Start the engine.
  2. Idle the engine until the normal operating temperature is reached.
  3. Leave the engine at normal idle.
  4. Turn ON the A/C.

Does the A/C clutch engage within the specified time?

60 sec

Go to CCOT Air Conditioning (A/C) System Diagnosis

Go to Step 3

3

  1. Install the scan tool.
  2. Start the engine.
  3. Turn ON the A/C.
  4. Monitor the A/C Request in the scan tool data list (A/C Request should display YES).

Does the scan tool indicate a YES?

--

Go to Step 4

Go to Step 14

4

  1. Monitor A/C evaporator switch with the scan tool.
  2. Turn ON the A/C.

Does the scan tool indicate a CLOSED switch?

--

Go to Step 8

Go to Step 5

5

  1. Disconnect the A/C evaporator/cycling cutoff switch harness connector.
  2. Turn ON the ignition leaving the engine OFF.
  3. Probe pin A of the harness connector with a fused jumper connected to a ground.

Does the scan tool indicate a CLOSED switch?

--

Go to Step 6

Go to Step 27

6

Probe pin B of the harness connector with a test lamp connected to B+.

Is the test lamp ON?

--

Go to Step 7

Go to Step 29

7

Replace the A/C evaporator/cycling cutoff switch.

Is the action complete?

--

Go to Step 31

--

8

  1. Turn OFF the engine.
  2. Disconnect the A/C compressor clutch harness connector.
  3. Start the engine.
  4. Turn ON the A/C.
  5. Caution: Avoid contact with moving parts and hot surfaces while working around a running engine in order to prevent physical injury.

  6. Probe the A/C clutch signal circuit at the A/C compressor clutch harness connector with a test lamp connected to a ground.

Is the test lamp ON?

--

Go to Step 9

Go to Step 16

9

Probe the A/C clutch ground circuit at the A/C clutch harness connector with a test lamp connected to B+.

Is the test lamp ON?

--

Go to Step 11

Go to Step 10

10

Repair the A/C clutch ground circuit. Refer to Wiring Repairs in Wiring Systems.

Is the action complete?

--

Go to Step 31

--

11

Check for a poor connection at the compressor clutch harness connector.

Did you find a problem?

--

Go to Step 12

Go to Step 13

12

Repair the A/C compressor clutch harness connector. Refer to Wiring Repairs in Wiring Systems.

Is the action complete?

--

Go to Step 31

--

13

Replace the A/C compressor clutch. Refer to Compressor Clutch Plate and Hub Assembly Removal and Compressor Clutch Plate/Hub Assembly Install .

Is the action complete?

--

Go to Step 31

--

14

  1. Turn OFF the ignition.
  2. Disconnect the VCM C3 connector.
  3. Turn ON the ignition leaving the engine OFF.
  4. Turn ON the A/C.
  5. Probe the VCM C3 connector pin 25 with a test lamp connected to a ground.

Is the test lamp ON?

--

Go to Step 28

Go to Step 15

15

Check for a open in the A/C request signal circuit between the HVAC control module and the VCM.

Did you find a problem?

--

Go to Step 29

Go to CCOT Air Conditioning (A/C) System Diagnosis

16

  1. Reconnect A/C clutch harness connector.
  2. Install the scan tool.
  3. Turn ON the ignition leaving the engine OFF.
  4. Command the A/C relay ON using the scan tool.

Does the relay A/C click?

--

Go to Step 22

Go to Step 17

17

  1. Disconnect the A/C relay.
  2. Turn ON the ignition leaving the engine OFF.
  3. Probe the ignition positive voltage circuit at the A/C relay harness connector with a test lamp connected a ground.

Is the test lamp ON?

--

Go to Step 19

Go to Step 18

18

Repair the open in the A/C relay ignition positive voltage circuit. If the fuse is blown repair the short to ground on the circuit. A blown fuse or lack of voltage to the fuse may cause other symptoms or DTCs to be present. Refer to Wiring Repairs in Wiring Systems.

Is the action complete?

--

Go to Step 31

--

19

  1. Probe the A/C relay control circuit at the A/C relay harness connector with a test lamp connected to B+.
  2. Command the A/C relay ON using the scan tool.

Is the test lamp ON?

--

Go to Step 25

Go to Step 20

20

Check for an open or short to voltage in the circuit between the UBEC A/C relay control terminal cavity and the VCM C3 connector pin 1.

Did you find a problem?

--

Go to Step 21

Go to Step 28

21

Repair the open in the circuit between the UBEC A/C relay control terminal cavity and the VCM C3 connector pin 1. Refer to Wiring Repairs in Wiring Systems.

Is the action complete?

--

Go to Step 31

--

22

  1. Remove the A/C relay.
  2. Probe the battery feed circuit at the A/C relay connector with a test lamp connected to a ground.

Is the test lamp ON?

--

Go to Step 24

Go to Step 23

23

Repair the open in the A/C relay battery feed circuit. If the fuse is blown repair the short to ground on the circuit. A blown fuse or lack of voltage to the fuse may cause other symptoms or DTC's to be present. Refer to Wiring Repairs in Wiring Systems.

Is the action complete?

--

Go to Step 31

--

24

  1. Turn ON the ignition leaving the engine OFF.
  2. Jumper the battery feed circuit and the compressor clutch circuit 59 at the relay connector with a fused jumper.

Does the A/C Clutch engage?

--

Go to Step 25

Go to Step 26

25

Replace the A/C relay. Refer to Blower Motor Relay Replacement .

Is the action complete?

--

Go to Step 31

--

26

Repair the open or short to ground in the compressor clutch control circuit. Refer to Wiring Repairs in Wiring Systems.

Is the action complete?

--

Go to Step 31

--

27

Check for an open in the A/C cycling signal circuit.

Did you find a problem?

--

Go to Step 29

Go to Step 28

28

Check for a poor connection at the VCM.

Did you find a problem?

--

Go to Step 29

Go to Step 30

29

Repair the circuit as necessary. Refer to Wiring Repairs in Wiring Systems.

Is the action complete?

--

Go to Step 31

--

30

  1. Replace the VCM.
  2. Program the new VCM. Refer to VCM Replacement/Programming .
  3. Perform the VTD Password Learn Procedure. Refer to Password Learn .
  4. Perform the Crankshaft Variation Learn Procedure. Refer to Crankshaft Position System Variation Learn .

Is the action complete?

--

Go to Step 31

--

31

  1. Start the engine.
  2. Idle the engine until the normal operating temperature is reached.
  3. Leave the engine at normal idle.
  4. Turn ON the A/C.

Does the A/C clutch engage within the specified time?

60 sec

Go to Step 32

Go to Step 2

32

Using the scan tool, select the Capture Info and the Review Info.

Are any DTCs displayed that have not been diagnosed?

--

Go to Diagnostic Trouble Code (DTC) List

System OK

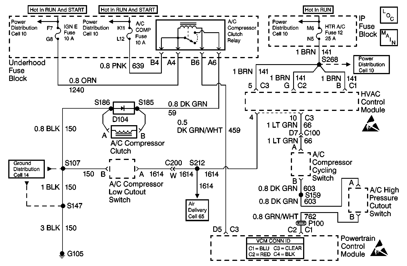
HVAC Compressor Clutch Circuit Diagnosis Diesel


Object Number: 500023  Size: MF
Engine Controls Component Views
A/C Controls
OBD II Symbol Description Notice
Handling ESD Sensitive Parts Notice

Circuit Description

The PCM control of the A/C clutch improves idle quality and performance by performing the following conditions:

    • Delaying clutch engagement until the idle speed is increased
    • Releasing the clutch when the idle speed is too low
    • Providing additional fuel at the instant the clutch is applied

The additional fuel smooths the cycling of the compressor.

Turning the air conditioning ON supplies battery voltage through the high pressure and cycling switches to the PCM. When the PCM receives the voltage on the A/C request signal, the A/C enable relay circuit is grounded. The A/C compressor clutch then engages.

The A/C Compressor Low Cutout Switch provides a ground when the HVAC Control Module is placed in the A/C Max. position.

Diagnostic Aids

If the air conditioning system seems to be operating correctly at this time check the following:

    • An intermittent condition caused by one of the following:
       - Backed out terminals
       - Improper mating
       - Broken locks
       - Improperly formed or damaged terminals
       - Poor terminal to wire connection
       - Physical damage to the wiring harness
       - Corrosion
       - Moisture in the connector
    • Refer to Cooling Insufficient - Air Conditioning (A/C) Inoperative for an insufficient cooling condition.

Test Description

The numbers below refer to the step numbers on the diagnostic table.

  1. Checks for low refrigerant as the cause for no A/C.

  2. The A/C request signal circuit consists of the HVAC control module, the A/C high pressure cutout switch and related wiring.

Step

Action

Value(s)

Yes

No

Important:: Before performing the following diagnostic. Troubleshoot any DTC's that may be stored in the PCM.

1

Important: Before using this table confirm that the A/C system has an adequate state of charge.

Does the A/C system have an adequate state of charge?

--

Go to Step 2

Go to CCOT Air Conditioning (A/C) System Diagnosis

2

  1. Start the engine.
  2. Idle the engine until the normal operating temperature is reached.
  3. Leave the engine at normal idle.
  4. Turn ON the A/C.

Does the A/C clutch engage within the specified time?

60 sec

Go to CCOT Air Conditioning (A/C) System Diagnosis

Go to Step 3

3

  1. Install the scan tool.
  2. Start the engine.
  3. Turn ON the A/C.
  4. Monitor the A/C Request in the scan tool data list (A/C Request should display YES).

Does the scan tool indicate a YES?

--

Go to Step 4

Go to Powertrain On Board Diagnostic (OBD) System Check in Engine Controls (6.5L)

4

  1. Disconnect connector C3 of the PCM.
  2. Connect a fused jumper wire between cavity D5 of the PCM C3 and ground.

Does the A/C compressor clutch engage?

--

Go to Step 16

Go to Step 5

5

  1. Remove the A/C compressor clutch relay.
  2. With the fused jumper still connected at the PCM. Connect a J 39200 (continuity) between cavity B6 of the relay socket and ground.

Is continuity present?

--

Go to Step 7

Go to Step 6

6

Locate and repair the open in CKT 459 (DK GRN/WHT) between the PCM and A/C compressor clutch relay socket. Refer to Wiring Repairs in Wiring Systems.

Is the repair complete?

--

Go to HVAC Compressor Controls System Check

--

7

  1. Turn the ignition switch to the Run position.
  2. Connect a fused jumper wire between cavities A6 and A4, then A6 and B4.

Does the A/C compressor clutch engage with both circuits?

--

Go to Step 8

Go to Step 9

8

Replace the A/C relay.

Is the repair complete?

--

Go to HVAC Compressor Controls System Check

--

9

Use a J 39200 (volts) to test CKT 639 (PNK) and CKT 1210 (ORN) between the IP Fuse Block and the relay socket. Refer to Measuring Voltage in Wiring Systems.

Is battery voltage present in both circuits?

--

Go to Step 11

Go to Step 10

10

Locate and repair the open in the circuit that did not have battery voltage present. Refer to Wiring Repairs in Wiring Systems.

Is the repair complete?

--

Go to HVAC Compressor Controls System Check

--

11

  1. Reconnect the A/C compressor clutch relay.
  2. Disconnect the compressor clutch connector.
  3. Turn the ignition switch to the RUN position.
  4. Connect a J 39200 (volts) between cavities A and B of the connector.

Is battery voltage present?

--

Go to Step 12

Go to Step 13

12

Replace the A/C compressor clutch. Refer to Compressor Clutch Plate and Hub Assembly Removal .

Is the repair complete?

--

Go to HVAC Compressor Controls System Check

--

13

Connect a J 39200 (continuity) between cavity A of the clutch connector and ground.

Is continuity present?

--

Go to Step 14

Go to Step 15

14

Locate and repair the open in CKT 59 (DK GRN) between the relay and the clutch. Refer to Wiring Repairs in Wiring Systems.

Is the repair complete?

--

Go to HVAC Compressor Controls System Check

--

15

Locate and repair the open in CKT 150 (BLK) between the clutch and ground G105. Refer to Wiring Repairs in Wiring Systems.

Is the repair complete?

--

Go to HVAC Compressor Controls System Check

--

16

  1. Reconnect C3 back to the PCM.
  2. Remove the A/C compressor clutch relay.
  3. Connect a fused jumper wire between cavities B4 and A6 of the relay socket.
  4. Connect a fused jumper wire between cavities A and B of the A/C high pressure cutout switch.
  5. Turn the ignition switch to the Run position and turn on the A/C.
  6. Monitor the A/C Request in the scan tool data list (A/C Request should display YES).

Does the scan tool indicate a YES?

--

Go to Step 17

Go to Step 18

17

Replace the A/C high pressure cutout switch. Refer to Compressor Control Switches Removal .

Is the repair complete?

--

Go to HVAC Compressor Controls System Check

--

18

  1. Reconnect the A/C high pressure cutout switch.
  2. Connect a fused jumper wire between cavities A and B of the A/C compressor cycling switch.
  3. Run the same test as in step 16.

Does the scan tool indicate a YES?

--

Go to Step 19

Go to Step 20

19

Replace the A/C compressor cycling switch. Refer to Compressor Control Switches Removal .

Is the repair complete?

--

Go to HVAC Compressor Controls System Check

--

20

Using a J 39200 (continuity) test the applicable circuits between the HVAC Control Module and the PCM. Refer to Testing for Continuity in Wiring Systems.

Is continiuty present within all the circuits?

--

Go to Step 21

Go to Step 22

21

Replace the HVAC Control Module. Refer to Control Assembly Replacement .

Is the repair complete?

--

Go to HVAC Compressor Controls System Check

--

22

Locate and repair the open in the circuit(s) that did not have continuity. Refer to Wiring Repairs in Wiring Systems.

Is the repair complete?

--

Go to HVAC Compressor Controls System Check

--